Книга Современные подвалы, подполы и погреба, страница 8 – Галина Серикова

Авторы: А Б В Г Д Е Ж З И Й К Л М Н О П Р С Т У Ф Х Ч Ш Ы Э Ю Я
Книги: А Б В Г Д Е Ж З И Й К Л М Н О П Р С Т У Ф Х Ц Ч Ш Щ Ы Э Ю Я
Бесплатная онлайн библиотека LoveRead.in

Онлайн книга «Современные подвалы, подполы и погреба»

📃 Cтраница 8

Все вышеизложенное имеет место, когда строительство только начинается. Как быть, если небольшое количество воды время от времени появляется в уже построенном подвале? Внутри подвального помещения тоже можно устроить элементарную дренажную систему.

Для этого закопайте в одном из углов подвала обычную двухсотлитровую бочку, закрепите на ней дренажный насос со всеми необходимыми составляющими: поплавковым выключателем и шлангом, длины которого должно хватать для того, чтобы отводить воду на пределы дома или участка. Когда бочка наполнится, автоматика сработает и вода будет откачана.

Таким подвалом можно пользоваться, но желательно засыпать пол керамзитом, поверх которого нужно положить доски, пропитанные антисептиком. Кроме того, требуется регулярно просушивать и проветривать данное помещение.

Как видите, есть немало способов, позволяющих иметь сухой подвал. Они рассчитаны на разные финансовые и технические возможности и вполне реализуемы собственными силами.

Осваиваем пространство ниже нулевой отметки

После того как фундамент наберет необходимую прочность, наступает очередь гидроизоляционных работ. На стены наносится битумная грунтовка, а после ее высыхания с помощью газовых горелок приваривается стеклогидроизол. Для этого нагревается небольшой участок стены, прикладывается полотно и прикатывается роликом. При раскрое материала нельзя забывать о необходимости укладывать его внахлест примерно на 10–12 см.

Замечания по поводу проектирования подвала

После проведенных гидрогеологических изысканий, в процессе которых определится характер грунта, уровень залегания грунтовых вод, вы сможете правильно спланировать строительство и спроектировать дом с подвалом. Поверьте, что этап разработки проекта не следует пропускать, надеясь на собственное пространственное мышление. Даже имея немалый опыт, не стоит всецело на него полагаться и считать, что можно все изменить, если вдруг появится такая необходимость. Поверьте, нет ничего уродливее, чем дом, возведенный по принципу ласточкиного гнезда, когда одно помещение «прилепляется» к имеющимся. В таких случаях ни о каких архитектурных и планировочных решениях речь не может идти.

Кроме того, мероприятия по гидро– и теплоизоляции должны планироваться заранее, поскольку это не просто положенный слой толя, а конструкция, которая должна быть продумана, тщательно воплощена, иначе все труды и затраты пойдут насмарку и проблемы с подтопленным подвалом останутся.

Итак, перейдем к заметкам по поводу проектирования дома с подвалом.

Помимо того что стены и пол подвала необходимо защитить от влаги, очень важно «научить» их сопротивляться давлению грунта и отрицательному давлению воды. С этой целью наружные стены подвала следует укрепить подпорными стенками, установленными изнутри с расстоянием 3–4 м одна от другой.

В том случае если вы предполагаете устроить подвальное помещение под всем домом, то не забудьте заранее спланировать разрывы в ленточном фундаменте под дверные и арочные проемы (при высоте подвала 200 см вполне реально навесить двери), чтобы потом не разрушать новенький фундамент и не пробивать перфоратором отверстия под коммуникации.

Подумайте над тем, насколько целесообразно полностью заглублять подвал. Во-первых, риск наткнуться на водоносные слои значительно возрастает; во-вторых, если углубиться только на 110–150 см, а оставшиеся отнести в цоколь, то над поверхностью земли окажется довольно значительная часть подвальной стены, в которой можно устроить небольшие окна или отдушины, сквозь которые в него будут поступать свет и воздух, что очень важно для вентиляции помещения. При установке окон необходимо будет сделать приямки.

Если вход в подвал будет оборудоваться не только через дом, но и со стороны двора, то возникает проблема защиты его от поверхностных вод. Поэтому нужно предусмотреть отдельную крышу или навес, порожек для отвода воды, а в нижней части лестницы или пандуса расположить небольшой водосборник на случай, если она все-таки попадет в подвал.

Осваиваем пространство ниже нулевой отметки

После выполнения наружной гидроизоляции производится обратная засыпка грунта (очень хорошо, если используется мятая глина), потом выполняется отмостка из бетона М50 толщиной 50–100 мм. Чтобы сделать ее более прочной, под финишное покрытие желательно уложить дорожную сетку с величиной ячеек 25 × 25 или 40 × 40 мм. Железнение также не позволит отмостке разрушиться.

После того как мы достаточно подробно остановились на целом комплексе вопросов (среди них гидрогеологическая экспертиза, проектирование подвала, при необходимости осуществление дренажных работ), которые должны быть разрешены до начала строительства (о том, чем надо будет заняться после закладки подвала, разговор еще впереди), можно перейти к рассмотрению актуальных для сегодняшнего дня технологий по возведению подвала.

Технологии строительства дома с подвалом

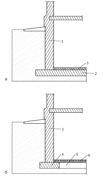
В настоящее время для строительства дома с подвалом применяются две стандартные технологии: устройство подвала с опорой на плиту и с опорой на ленточный фундамент (рис. 9).

Иллюстрация к книге — Современные подвалы, подполы и погреба [i_009.jpg]

Рис. 9. Схема устройства подвального помещения: а – на монолитной плите; б – на ленточном фундаменте; 1 – стена подвала; 2 – плита; 3 – бетонная стяжка; 4 – лента фундамента; 5 – песчаная подушка; 6 – плита пола


Выбор одной из них зависит от многих факторов: каков уровень грунтовых вод; собираетесь ли строить собственными силами с привлечением малоквалифицированных рабочих для выполнения наиболее трудоемких работ (их услуги обойдутся вам примерно в такую же сумму, как и строительные материалы) или обратитесь в соответствующую фирму, которая разработает проектно-сметную документацию, включающую архитектурно-планировочные решения, смету расходов, сетевые графики и т. д.; насколько технически вы оснащены, в частности, имеется весь набор необходимых инструментов, приспособлений (на стройке необходимо все, начиная от рулетки и заканчивая бетономешалкой); планируете ли вы завести песок, цемент, щебень и замешивать бетонный раствор непосредственно на стройплощадке или закажете автомиксер, который доставит готовый бетон (в этом случае надо позаботиться о том, чтобы освободить подъезды к фундаменту, причем не в одном месте, иначе раствор, выгруженный в одной точке, придется лопатами расталкивать по траншее, что очень нежелательно, поскольку крупная фракция заполнителя может осесть в одном месте, а в другие попадет только жидкая часть раствора, что отразится на качестве фундамента); есть ли возможность для работы экскаватора; есть ли на участке электричество и т. д. Одним словом, проблем много. Необходимо все тщательно продумать и не ошибиться с выбором технологии. Рассмотрим их по порядку.

На участке, отведенном под строительство дома с подвальным помещением, выкапывается котлован той конфигурации, которая предусмотрена проектом. Его дно тщательно выравнивается и уплотняется.

Вход
Поиск по сайту
Ищем:
Календарь