Онлайн книга «Современные подвалы, подполы и погреба»
|
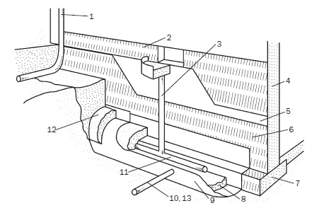
Если позволить дождевой воде свободно стекать с крыши, она тоже легко проникнет в подвал. Поэтому важно создать наилучшее отведение от дома дождевых вод, соединив, например, водосточные трубы с отводной трубой, причем последняя должна отходить от дома по максимально крутой траектории. Так как водосточные желоба нередко забиваются мусором, листьями, то диаметр сливной трубы должен быть таким, чтобы эффективно отводить воду даже при сильном ливне, т. е. иметь размер не менее 100 мм, а для отводной трубы – 150 мм. Кроме того, следует избегать возникновения в водосточной трубе изгибов под углом 90°, поскольку в этих местах чаще всего создаются пробки. При длине желоба более 5 м следует сделать два выпускных канала. И последнее: не подсоединяйте отводную трубу дождевых водостоков к дренажной системе, уложенной вдоль фундамента, так как закупорка в водосточной системе может привести к параличу дренажной. Схема отведения воды от стен подвала (внешний контур дренажной системы) представлена на рис. 6. Обязательно должно быть предусмотрено сооружение для сброса воды, например колодец. Если на участке есть небольшая низинка, то в ней можно устроить искусственный водоем, который одновременно будет решать несколько задач: осуществлять дренаж, выполнять декоративную функцию и использоваться для полива насаждений. Благодаря таким действиям вам удастся предупредить подтопление подземного помещения. ![]() Рис. 6. Схема наружного отведения воды от подвала: 1 – сливная труба водосточного желоба; 2 – водоприемник; 3 – стояк; 4 – стена подвала; 5 – слой гидроизоляции; 6 – защитная плита; 7 – подошва фундамента; 8 – слой гравия; 9 – геотекстиль; 10,13 – отводная труба; 11 – дренажная труба; 12 – слой песка Чтобы подвал оставался сухим, его наружная дренажная система должна быть дополнена изоляцией под бетонной плитой, задерживающей воду и испарение; откачивающим насосом; внутренним контуром дренирования, предназначенным для сбора воды со стен. Осуществляется он следующим образом. Под бетонную плиту засыпается гравийная подушка толщиной примерно 20–25 см, на которую укладывается полиэтиленовая пленка высокой плотности (ее полотнища должны заходить друг на друга не менее чем на 40–45 см, а стыки фиксироваться клейкой лентой), которая обеспечит пароизоляцию. Поверх нее создается песчаная прослойка толщиной 7–8 см. Удобнее всего захватывать и отводить из подвала воду в месте соединения пола и стены фундамента. Для этого предназначается перфорированный пластиковый профиль, прикрепленный по периметру подвального помещения. Сквозь него вода будет поступать в гравий, отсыпанный под бетонной плитой, и откачиваться с помощью насоса (рис. 7). ![]() Рис. 7. Схема внутреннего отведения воды: 1 – слой пароизоляции; 2 – отводная труба; 3 – пластиковый профиль; 4 – бетонная плита; 5 – водосборник; 6 – насос; 7 – слой гравия Эффективно работающий насос – главный действующий элемент внутренней дренажной системы. Практика показывает, что необходимо сделать правильный выбор, придерживаясь определенных критериев. Насос должен: • заключаться в чугунный корпус; • откачивать воду, содержащую твердые включения диаметром 10–12 мм; • иметь механический поплавковый выключатель. Осваиваем пространство ниже нулевой отметки В качестве гидроизоляции очень надежны мембраны с армированной основой, которые могут быть рекомендованы для горизонтальной гидроизоляции пола подвального помещения. Устойчивы к механическим повреждениям и полимерцементные составы. Однако самыми доступными для вертикальной изоляции остаются битумные мастики, которые в горячем виде наносятся на стены подвала в два слоя. Насос устанавливается в перфорированный пластиковый водосборник, помещенный в гравийную подушку. Вода в него поступает через боковые стенки. Чтобы в емкость не попадали посторонние предметы, которые могут заклинить выключатель, а также для недопущения проникновения испарений внутрь подвала она должна быть герметично закрыта. Вода, которую откачивает насос, по трубам (чтобы зимой они не замерзали, надо обеспечить их теплоизоляцию) направляется в ливневую канализацию или наружу, откуда она отводится подальше от дома. На случай отключения электричества желательно приобрести резервный насос и аккумуляторную батарею для него. Таким образом, полноценная дренажная система отведения от дома дождевых вод – это еще одна возможность не допустить нарушений влажностного режима подвального помещения. Есть еще один способ («для продвинутых пользователей», говоря компьютерным языком), позволяющий построить подвал с внешней дренажной системой. Выше мы уже упоминали материковые пески. В свете нашей задачи – обеспечения дренажа подвала – в них можно направить почвенно-грунтовые воды. Для облегчения восприятия предлагаем рис. 8. ![]() Рис. 8. Создание внешнего дренажа для подвала: 1 – отмостка; 2 – дренажные трубы; 3 – стены подвала; 4 – дренажные траншеи; 5 – пол подвала; 6 – щебеночная подушка; 7 – материковые пески Далее выполните следующие действия. После возведения ленточного фундамента, который будет одновременно служить стенами подвала, по внутреннему периметру помещения выкопайте траншею, глубина и ширина которой не превышают 40 см. На расстоянии 2–3 м друг от друга пробурите дренажные скважины вплоть до материковых песков (поскольку подвал заглублен, то размер скважин будет равен нескольким метрам). Но не следует в них углубляться, поскольку это водоносные слои, из которых подпитываются окрестные колодцы и скважины. Кроме того, не надо пользоваться дренажной системой как канализационной, иначе вы рискуете испортить воду на много километров вокруг. Гофрированные пластиковые трубы с насечками заверните в геотестиль и опустите в скважины, а отверстия в них закройте мелкоячеистой оцинкованной решеткой, которая не позволит трубам засоряться грунтом или щебнем. Застелите траншею геотекстилем (не забудьте оставить небольшой запас), засыпьте ее щебнем. Последний прикройте полотнищами этого нетканого материала. Фактически у вас получится дрена диаметром 40 см, верхняя кромка которой должна находиться несколько выше нижней кромки стены подвала. Выполните подушку, засыпав щебень слоем толщиной 10–15 см. Проведите армирование и бетонную стяжку, которая станет полом подвала или тем основанием, на котором можно будет настелить полы из других материалов. Для усиления защиты можно дополнительно пробурить скважины, что делается, как правило, под отмосткой. В связи с этим заметим, что такой способ предупреждения подтопления подвала не теряет своей значимости даже после того, как работы по сооружению подвала завершены и возможность бурения скважин в нем исключается. |
![Иллюстрация к книге — Современные подвалы, подполы и погреба [i_006.jpg] Иллюстрация к книге — Современные подвалы, подполы и погреба [i_006.jpg]](img/book_covers/060/60939/i_006.jpg)
![Иллюстрация к книге — Современные подвалы, подполы и погреба [i_007.jpg] Иллюстрация к книге — Современные подвалы, подполы и погреба [i_007.jpg]](img/book_covers/060/60939/i_007.jpg)
![Иллюстрация к книге — Современные подвалы, подполы и погреба [i_008.jpg] Иллюстрация к книге — Современные подвалы, подполы и погреба [i_008.jpg]](img/book_covers/060/60939/i_008.jpg)