Книга Современные подвалы, подполы и погреба, страница 6 – Галина Серикова

Авторы: А Б В Г Д Е Ж З И Й К Л М Н О П Р С Т У Ф Х Ч Ш Ы Э Ю Я
Книги: А Б В Г Д Е Ж З И Й К Л М Н О П Р С Т У Ф Х Ц Ч Ш Щ Ы Э Ю Я
Бесплатная онлайн библиотека LoveRead.in

Онлайн книга «Современные подвалы, подполы и погреба»

📃 Cтраница 6

При уклоне в противоположном направлении поперечная канава должна располагаться вдоль фасадной стороны забора, а продольная – до огорода. (В последнем случае помните, что грядки придется устраивать перпендикулярно к уклону, иначе верхний слой почвы постепенно потеряет большую часть своих питательных веществ.)

Осваиваем пространство ниже нулевой отметки

Устройство гидроизоляции подвального помещения необходимо независимо от уровня грунтовых вод. Если они находятся выше уровня промерзания, угроза подтопления подвала все равно сохраняется даже при наличии качественной защиты; если у них низкий горизонт, то гидроизоляция обойдется дешевле. Но отказываться от нее не рекомендуется, поскольку грунтовые воды, будучи под высоким давлением, проникают и через микрощели.

Если рельеф участка равнинный, то выделите наиболее низкое место вдоль забора (обычно там ничего не сажают), выкопайте траншею следующего размера: длина 2–3 м, ширина 50 см, глубина не менее 1 м. Вынутый грунт можно использовать для выравнивания низинных участков. На протяжении сезона наполняйте траншею строительным мусором, камнями и другими подобными отходами, причем постарайтесь набить ее как можно плотнее. После того как вода в ней дойдет до нижней границы плодородного слоя, выкопайте еще одну такую же траншею, а извлеченным грунтом засыпьте первую. Постепенно по периметру вашего участка образуется дренажная система, которая прослужит вам не один год.

Если участок не только равнинный, но и сильно увлажненный и не имеет достаточного стока в ливневку, требуются более серьезные мероприятия для его осушения, в частности укладка дренажной системы из отдельных дрен с уклоном 2–3 %. Дрены представляют собой гончарные (перфорированные) или асбоцементные трубы диаметром 100–150 мм и длиной до 20 м.

Под дрены подготовьте траншею глубиной не более 1 м, причем выкапывайте ее с уклоном в направлении водосборника и обязательно отдельно складывайте верхний слой грунта и подпочвенный. Дну траншеи желательно придать форму лотка или корыта, для чего выложите ее мятой глиной, уплотните и загладьте. При укладке между гончарными трубами оставляйте зазор примерно 15 мм, чтобы в просвет между ними могла просачиваться вода (во избежание засорения труб их следует прикрыть тканью или керамической плиткой). С этой же целью в верхней части асбоцементных труб на расстоянии 100–150 мм один от другого предварительно выполните пропилы шириной 10 мм и глубиной, составляющей примерно треть их диаметра. Завершив размещение труб, засыпьте их сначала слоем крупного щебня толщиной 20–30 см, потом грунтом, причем обязательно верхним слоем.

Кроме этого способа устройства дренажа, лоток сечением 120 × 120 мм можно выложить кирпичом, подойдут и керамические трубы диаметром 125–150 мм, и даже хворост, связанный в пучки, уложенные друг на друга. Таким образом устроенные траншеи тоже засыпаются щебнем и грунтом. Чтобы дренажная система функционировала, отдельные дрены под углом 60° присоединяются к центральной дрене (общему коллектору), по которому вода поступает в ливневку, водоем и т. п.

Расстояние между боковыми дренажными трубами определяется структурой почвы: на глинистой – через 4,5 м, на суглинистой – через 7,5 м, на песчаной – через 12 м.

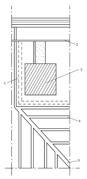
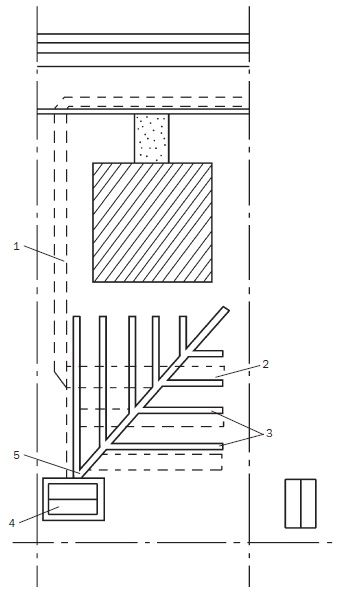
Как эффективно и недорого осушить участок, представлено на рис. 4, 5.

Иллюстрация к книге — Современные подвалы, подполы и погреба [i_004.jpg]

Рис. 4. Дренаж участка при уклоне рельефа в направлении улицы: 1 – водосточная канава; 2 – ограждение; 3 – ливневка; 4 – дрены; 5 – центральная дрена

Иллюстрация к книге — Современные подвалы, подполы и погреба [i_005.jpg]

Рис. 5. Дренаж участка при уклоне рельефа в противоположную улице сторону: 1 – водосточная канава; 2 – грядки; 3 – дрены; 4 – водосборник; 5 – центральная дрена


Основным недостатком такой дренажной системы является постепенное заиливание труб, от которого можно защититься, если применить современную систему – мягкий дренаж. По сравнению с классическими способами у него имеется целый ряд преимуществ, в частности:

• простота устройства;

• исключение засорения;

• возможность создания траншеи любой ширины и глубины.

Мягкий дренаж осуществляется с помощью двух новых материалов: тектона (нетканого материала из полипропилена с односторонним покрытием из него же), который выполняет роль гидроизолирующего слоя, и геотекстиля (нетканого материала), обеспечивающего фильтрацию, причем первый препятствует накоплению воды в грунте и направляет ее в предназначенное для сброса место, а второй предохраняет щебень от заиливания, что позволяет данной дренажной системе эффективно функционировать длительное время. Методика выполнения работы состоит в следующем:

• выкопайте дренажную траншею, позаботившись о том, чтобы ее дно имело корытообразную форму;

• уложите на дно траншеи тектон;

• поверх него настелите геотекстиль, закрыв дно и стены траншеи и оставив запас (примерно 30 см);

• две трети траншеи заполните крупным щебнем;

• внахлест опустите полотнища геотекстиля на щебень;

• насыпьте песок.

Осваиваем пространство ниже нулевой отметки

Есть много способов обеспечить гидрозащиту подвального помещения. Например, очень удобны в применении битумно-полимерные мембраны (так называемый еврорубероид), уложенные в два слоя и сваренные; неплохо зарекомендовали себя битумно-полимерные обмазочные материалы. Главное – не допустить при монтаже и эксплуатации повреждения гидроизоляционных слоев.

Для отведения воды непосредственно от дома выкопайте вокруг него такой же величины, как описано выше, траншею, глубина которой должна быть ниже самой низкой точки подвала.

Далее, следуя современным технологиям, последовательно застелите ее геотекстилем, уложите перфорированные трубы. (Если используете перфорированный желоб, то расположите его выпуклой стороной вверх, но практика показывает, что лучше взять обычную полихлорвиниловую трубу диаметром 100 мм и просверлить в ней два ряда отверстий. Почему этот вариант предпочтительнее? Дело в том, что специальная перфорированная труба довольно трудно укладывается прямо, и даже незначительные дефекты, возникающие при этом, приводят к тому, что сток ослабевает, стандартные прорези закупориваются.) После этого насыпьте крупный щебень, не доходя до края траншеи 20–30 см, накройте геотекстилем, завернув его полотнища кверху, засыпьте слой крупнозернистого песка толщиной 15 см и задерните траншею.

Чтобы дренаж работал, у траншеи должен быть уклон (на каждый метр трубы по 2–3 см уклона; если общая длина дренажной системы составляет более 60 м, потребуются дополнительные меры, например использование выпускной трубы большего диаметра) в соответствующую сторону и выход из нее, находящийся ниже уровня подвального помещения.

Вход
Поиск по сайту
Ищем:
Календарь