Книга Современные подвалы, подполы и погреба, страница 10 – Галина Серикова

Авторы: А Б В Г Д Е Ж З И Й К Л М Н О П Р С Т У Ф Х Ч Ш Ы Э Ю Я
Книги: А Б В Г Д Е Ж З И Й К Л М Н О П Р С Т У Ф Х Ц Ч Ш Щ Ы Э Ю Я
Бесплатная онлайн библиотека LoveRead.in

Онлайн книга «Современные подвалы, подполы и погреба»

📃 Cтраница 10
Иллюстрация к книге — Современные подвалы, подполы и погреба [i_011.jpg]

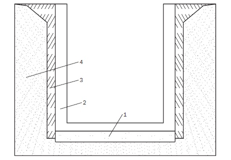
Рис. 11. Схема строительства подвала: 1 – песчаная подушка; 2 – стены и пол из монолитного бетона; 3 – глиняный замок; 4 – грунт


По данной технологии невозможно (по крайней мере чрезвычайно трудно) построить дом с подвальным помещением собственными силами либо даже с помощью бригады в несколько человек.

Подводя итоги, констатируем, что применение данной технологии приводит к существенному удорожанию строительства дома с подвалом.

Другая технология состоит в том, что фундамент одновременно служит стенами подвала, которые бывают монолитными, бутобетонными и т. д. Последовательность работ такова.

Выполнив разметку фундамента, необходимо выкопать траншею соответствующей глубины и ширины (обычно 1,5–2 м при ширине 40–60 см) и той конфигурации, которая предусмотрена проектом. Если предполагается сделать монолитный цоколь (он может быть кирпичным и выкладываться после того, как фундамент наберет прочность), то возводится опалубка на уровень высоты цоколя. Способ крепления стенок траншеи показан на рис. 12.

Иллюстрация к книге — Современные подвалы, подполы и погреба [i_012.jpg]

Рис. 12. Способ крепления стенок траншеи: 1 – деревянный щит; 2 – распорка


Траншея армируется и заполняется бетоном. Несмотря на то что бетон относится к гигроскопичным материалам, фундамент (стены) шириной 50–60 см вполне можно считать водонепроницаемым.

Когда бетон затвердеет, возможно различное развитие событий: если предполагается делать перекрытия подвала из готовых бетонных пустотных плит, то необходимо освободить внутреннюю часть будущего подвального помещения от грунта.

Если нельзя обеспечить подъезд к дому подъемного крана и машины с плитами, то отливают перекрытие на месте. Поскольку это спланировано заранее, при рытье траншеи вынутый грунт сбрасывается в середину, потом уплотняется на необходимую высоту, и отливаются плиты перекрытия с соблюдением всех правил, требующих армирования, устройства ребер жесткости и т. д. При этом не следует делать монолитное перекрытие, лучше выполнять его в виде узких плит, чтобы была возможность оставлять технологические проемы, ведь потом потребуется проложить в подвал различные коммуникации.

После того как перекрытие будет закончено, приступают к выемке грунта до уровня пола подвального помещения. Это достаточно трудоемкая операция, практически сразу же исключающая применение какой-либо техники, но и она имеет положительные моменты (например, не зависит от времени года и погоды). По периметру у стен примерно на половину их толщины отбирается грунт, вместо которого устраивается песчано-щебеночная подушка, а далее бетонируется пол подвала, который будет монолитно соединен со стенами. Толщина такой плиты не должна быть менее 10 см. Подобная конструкция хорошо герметизирует подвал при низком уровне грунтовых вод.

Осваиваем пространство ниже нулевой отметки

Чтобы повысить водонепроницаемость бетонов и растворов, в них вводятся натуральные или искусственные химические вещества, или целые комплексы. Благодаря им улучшается технологическая характеристика гидроизоляционных материалов: сокращаются сроки их схватывания и твердения, возрастает морозостойкость, увеличивается водонепроницаемость.

Как понятно из описания, эта технология в большей степени подходит для индивидуального застройщика, причем наиболее трудоемкой и требующей присутствия помощников будет операция по выкапыванию траншеи, устройству опалубки и заливке ее бетоном, поскольку эти работы должны быть выполнены максимально быстро. В дальнейшем застройщик может трудиться и самостоятельно, приостанавливая строительство, если это необходимо, или осуществляя его параллельно с другими видами работ, причем без негативных последствий для качества постройки, что имеет большое значение при малобюджетном строительстве.

Завершая разговор о технологиях, отметим, что при высоком уровне грунтовых вод все-таки предпочтительно устроить подвал на плите. Конечно, армирование (жесткий каркас из арматуры диаметром 12–15 мм располагается по всей площади) и бетонирование ее связано с вложением значительных средств, но при этом гораздо проще герметично соединить плиту со стенами подвала. Толщина плиты, которая может быть 15–25 см, определяется габаритами дома и расстановкой внутренних силовых стен подвала.

Если при высоком уровне грунтовых вод застройщик все-таки решается на строительство дома с подвалом, то ему можно посоветовать воспользоваться таким приемом: выкопать котлован до уровня грунтовых вод, а после возведения стен подвала вокруг дома устроить отсыпку из извлеченного грунта. В итоге дом будет стоять на возвышении и грунтовые воды не доставят проблем.

При низком уровне грунтовых вод и наличии достаточных средств для осуществления герметизации подвала можно заложить ленточный фундамент, ширина которого шире стен подвала на 4–5 см.

Осваиваем пространство ниже нулевой отметки

Различные добавки в бетоны могут вводиться не только в условиях производства, но и непосредственно на стройплощадке. От обычного процесса технология приготовления бетонов и растворов с дополнительными включениями отличается тем, что одновременно с затворением составляющих в смеситель поступают добавки, растворенные в воде. Их количество зависит от состава бетона.

К сказанному можно добавить только одно: не всегда мы сразу решаем, что дом будет иметь подвальное помещение. Бывает, что такая мысль приходит в голову, когда работы начались или даже частично завершены (не исключено, что за отсутствием информации или необходимых материальных средств такой вариант сразу не рассматривался), когда фундамент уже залит, выполнен цокольный этаж, возведена крыша и т. п. Оказывается (и практика это подтверждает), построить подвал никогда не бывает поздно. Разумеется, при этом возможны определенные ограничения, в частности, его стены уже не смогут выполнять роль несущих элементов фундамента, да и устроить его под всеми помещениями дома тоже будет проблематично. Но известно, что нет худа без добра. Это относится и к нашему случаю, поскольку грунт вдоль стен не будет перекопан и, следовательно, не утратит свою первозданную плотность, что положительно скажется на его способности задерживать воду; сами стены можно будет сделать потоньше, благодаря чему не только сэкономятся материалы, но и увеличится площадь подвала.

Итак, если у вас сложилась подобная ситуация, предлагаем оригинальный выход из положения.

Поскольку разумнее всего устроить подвал под кухней, то по периметру фундамента под ней на глубину 1,5 м выберите грунт.

На пол положите асбоцементные плиты, прикрепите их и к стенам. После того как по такому основанию будет выполнена двухслойная гидроизоляция, например технониколь (края полотнищ приклейте к фундаменту дома с помощью газовой горелки), будущий подвал станет похож на герметичную чашу. Этому уделите особое внимание. Традиционно сначала заливается фундамент (стены подвала) и гидроизолируется снаружи. Вам придется выполнить гидроизоляцию еще не существующей стены, именно по этой причине используются асбоцементные плиты (на них удобно клеить, они не боятся воды и т. д.).

Вход
Поиск по сайту
Ищем:
Календарь