Книга Секреты домашнего копчения, страница 88 – Валерий Бестужев

Авторы: А Б В Г Д Е Ж З И Й К Л М Н О П Р С Т У Ф Х Ч Ш Ы Э Ю Я
Книги: А Б В Г Д Е Ж З И Й К Л М Н О П Р С Т У Ф Х Ц Ч Ш Щ Ы Э Ю Я
Бесплатная онлайн библиотека LoveRead.in

Онлайн книга «Секреты домашнего копчения»

📃 Cтраница 88

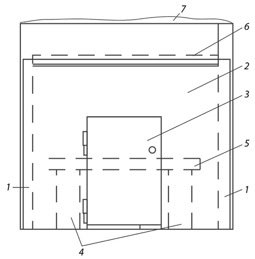
1 – корпус коптильни; 2 – профильные уголки; 3 – противень; 4 – крышка; 5 – заглушка

Встроенная коптильня-мангал

На рис. 17 представлена схема коптильни с мангалом.

Такую конструкцию удобно использовать на приусадебном или дачном участке, в кафе или шашлычных.

Иллюстрация к книге — Секреты домашнего копчения [i_030.jpg]

Рис. 17. Схема коптильни-мангала:

а – вид спереди; б – вид сбоку:

1 – дверца топки; 2 – поддувало; 3 – коптильная камера; 4 – мангал; 5 – дымоход; 6 – ниша для сушки дров; 7 – рамка для копчения; 8 – движение дыма; 9 – дверца коптильни


Коптильню-мангал можно изготовить из листового железа толщиной 10 мм свариванием деталей газо/электросваркой, а при отсутствии металла – выложить из шамотного кирпича (жаростойкого).

Коптильня состоит из топки, поддувала, коптильной камеры, через которую проходит дым и жар, дымохода. Сверху коптильной камеры располагается мангал. В мангал кладут дрова и разводят огонь.

Рядом с дымоходом сделана специальная ниша, где можно сушить сырые дрова.

Топка и коптильня имеют дверцы с засовом или крючком. В дверце топки снизу нужно сделать отверстия (поддувало), чтобы поступал воздух.

В коптильную камеру вставляют решетку или рамку, на которой располагают шампуры с мясом или продукты для копчения. Под решетку желательно установить поддон или противень для сбора жира. Такая конструкция позволяет закладывать большие куски мяса. Курицу, кролика или утку можно запекать целиком.

При одновременном копчении продукты приобретают особую пикантность.

Для запекания мяса в такой коптильне требуется примерно 60–80 мин в зависимости от размера кусков.

Коптильня, встроенная в печную дымоходную трубу

Для обустройства коптильни в дымоходе готовой печи (рис. 18) нужно в одной из стенок дымохода сделать проем для установки в нем дверцы 3 и вмонтировать в этом месте стальной прут 2 для подвешивания продуктов.

Продукты, подготовленные к копчению, подвешивают на прут и закрывают дверцу.

На колосники в топочном отделении кладут кирпичи, чтобы дым, проходя сквозь них из поддувала, где горят дрова, остывал. Тягу регулируют шибером. Для копчения используют дрова только лиственных пород деревьев. При таком способе копчения продукты будут готовы в течение 1–2 суток.

Коптильня на чердаке

Такая коптильня должна примыкать непосредственно к дымоходной трубе и соединяться с ней отверстиями вверху и внизу (рис. 19).

Через нижнее отверстие дым из перекрытой заслонкой трубы входит в коптильню, а через верхнее отверстие выходит. С помощью заслонок можно регулировать условия копчения.

Иллюстрация к книге — Секреты домашнего копчения [i_031.jpg]

Рис. 18. Коптильня в печной дымоходной трубе:

1 – шибер; 2 – прут для подвешивания продуктов; 3 – дверца коптильни; 4 – кирпичи в топке; 5 – поддувало

Коптильня на базе стационарного барбекю-гриля, мангала, тандыра или русской печи

Чтобы трансформировать мангал или барбекю в коптильню (рис. 19), потребуется провести всего 3–4 операции:

1) убрать зольник, если он есть;

2) заглушить переднюю стенку (максимально герметично);

3) установить дымогенератор в нижней части мангала или барбекю;

4) уложить или подвесить в верхней части мангала или барбекю продукты, предназначенные для копчения, и накрыть мешковиной.

Заглушку передней стенки проще всего сделать из деревянных досок, но в целях пожарной безопасности – лучше из стали. Для этого подойдет стальной лист толщиной около 1 мм. Прикрепить его к стенкам очага можно с помощью анкерных болтов (рис. 20). Их вкручивают наглухо в кирпичную стену очага или вставляют в предварительно вбитую в стену стальную трубку с резьбой. Если стенка-заглушка изготовлена из дерева, то барашковую гайку затягивают, подложив под нее небольшую деревянную поперечину.

Иллюстрация к книге — Секреты домашнего копчения [i_032.jpg]

Рис. 19. Трансформация стационарного мангала, барбекю или гриля в коптильню:

1 – боковые кирпичные стенки очага; 2 – заглушка передней (как правило, открытой) стенки; 3 – дверца; 4 – подставки (обычно два кирпича); 5 – противень для опилок; 6 – решетка или подвес для продуктов; 7 – джутовая мешковина


Стена-заглушка необходима для того, чтобы ограничить утечку дыма из камеры для копчения. В качестве дымогенератора можно использовать противень с опилками над углями либо стальной пенал с опилками и паяльной лампой (только пенал придется нагревать вне коптильни и вставлять внутрь после разогрева, чтобы продукты горения паяльной лампы не попали на продукты).

Иллюстрация к книге — Секреты домашнего копчения [i_033.jpg]

Рис. 20. Варианты крепления стенки-заглушки:

1 – анкерный болт, наглухо вкрученный в кирпичную стенку очага; 2 – анкерный болт, вставленный в стальную трубку с резьбой; 3 – барашковая гайка; 4 – деревянная поперечина; 5 – стенка-заглушка; 6 – фронтальный торец кирпичной стенки очага


При использовании в качестве коптильни круглого барбекю-гриля никаких особых модернизаций не требуется. Достаточно только установить дымогенератор в нижней части, разместить продукты в верхней части и накрыть конструкцию мешковиной.

Вертикальныйтандыр – это практически готовая коптильня. Достаточно в горле установить решетки для размещения продуктов, накрыть конструкцию сверху мешковиной, а подачу дыма осуществлять через нижнее топочное отверстие.

Русская печь по своей компоновке – это тоже готовая коптильня и сушилка для различных продуктов. Коптить их можно, разместив в верхней части дымохода, а сушить – уложив в остывающей печи (под сводом).


Вход
Поиск по сайту
Ищем:
Календарь