Книга Секреты домашнего копчения, страница 87 – Валерий Бестужев

Авторы: А Б В Г Д Е Ж З И Й К Л М Н О П Р С Т У Ф Х Ч Ш Ы Э Ю Я
Книги: А Б В Г Д Е Ж З И Й К Л М Н О П Р С Т У Ф Х Ц Ч Ш Щ Ы Э Ю Я
Бесплатная онлайн библиотека LoveRead.in

Онлайн книга «Секреты домашнего копчения»

📃 Cтраница 87

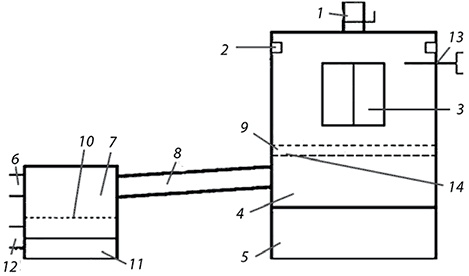
На рис. 11 показан детальный план установки холодного копчения.

Иллюстрация к книге — Секреты домашнего копчения [i_027.jpg]

Рис. 11. Установка холодного копчения:

1 – труба; 2 – отверстия вытяжки; 3 – дверцы коптильной камеры; 4 – коптильная камера; 5 – фундамент; 6 – отдельная дверца к решетке; 7 – очаг; 8 – дымоход; 9 – рама с металлической сеткой; 10 – решетка; 11 – зола; 12 – отдельная дверца к золе; 13 – отверстие для термометра; 14 – диффузор дыма


Начинают строительство с очага 7. Место для огня должно быть плотно закрыто. С этой целью для очага используют, к примеру, старую буржуйку, но можно сделать очаг из огнеупорного кирпича или камня. В очаге размещают решетку 10, на которой будет гореть топливо, а под ней – пепельницу 11 для золы. Пространство над решеткой и пепельница для золы должны иметь отдельные плотно закрывающиеся дверцы 6 и 12. Можно использовать дверцы от старой печи или камина. Обе дверцы предназначены для регулирования подачи воздуха, поэтому в них должны быть проделаны отверстия. Через дверцы к пепельнице поступает так называемый первичный воздух, который проходит при сжигании топлива. Он определяет интенсивность горения. Вторичный воздух проходит через дверцы к решетке с огнем. Он снижает температуру дыма, когда огонь сильно разгорается, чтобы в коптильню не попал чересчур горячий дым.

Дымоход 8 должен находиться ниже уровня коптильни, чтобы дым мог естественным образом поступать в нее. Длина дымохода, если он идет по воздуху, должна быть примерно 2 м, диаметр – 20 см. Если же из практических соображений дымоход проводят под землей, его длина должна составлять 3–4 м. Для дымохода используют трубу из негорючего материала, например чугунную, керамическую канализационную, бетонную или трубу от печки; можно соорудить дымоход из кирпича. Для лучшего охлаждения трубу дымохода засыпают песком и периодически поливают водой.

Для строительства коптильной камеры можно использовать дерево, металл, кирпич или бетон. Ее устанавливают на фундамент. Размеры коптильной камеры определяют исходя из того, сколько продуктов одновременно будет коптиться. Размеры средней камеры – от 60 × 60 см до 90 × 90 см, общая высота – 80—120 см.

В нижней части камеры необходимо сделать отверстие для трубы дымохода, которую лучше протянуть до середины камеры и завершить коленом, конец которого поднят вверх. Приблизительно в 20 см от колена дымохода помещают решетку и кладут на нее обрезки ткани шириной 2–4 см, которые будут выполнять роль диффузора дыма 14. Над диффузором располагают раму с металлической сеткой 9, которая будет предохранять случайно упавшие продукты от соприкосновения с поверхностью, загрязненной сажей. Для такой рамы лучше сделать несколько креплений на разной высоте, чтобы каждый раз переставлять ее ближе к продуктам. Решетка должна иметь такой размер, чтобы ее можно было вынуть через дверцу, в противном случае ее нужно сделать из двух частей.

Дверцы коптильной камеры 3 должны плотно закрываться. Идеальная высота их размещения – 40–60 см.

Вверху камеры располагают крепления, в которых делают отверстия для подвесов. Продукты подвешивают на крючках или веревочных петлях.

Трубу для вывода дыма 1 изготавливают длиной 0,5–1 м. В трубе устанавливают клапан (шибер-заслонку) для регулирования количества выходящего дыма. Клапан можно заменить кирпичом, прикрыв им отверстие трубы.

Не следует использовать термометры с пластмассовыми датчиками, так как при высокой температуре они могут расплавиться.

Последняя важная составная часть коптильни – термометр. Над подвесами, лучше по центру, нужно сделать отверстие для термометра 13. Идеальным вариантом является биметаллический термометр с диапазоном от 0 до 150–200 °С с длинным хвостовиком (от 20 до 50 см).

Камера-коптильня из стальной неоцинкованной трубы

Для копчения можно приспособить практически любую подходящую по размеру емкость, куда можно подать и отвести дым. Камеру-коптильню, предназначенную для копчения на открытом воздухе, можно соорудить из стальной неоцинкованной трубы размером 100 × 65 см (рис. 12). Также можно сделать ее из стального листа размером 100 × 200 см, согнув его в рулон и соединив внахлест на 2–3 см. Чтобы скрепить изделие, следует просверлить отверстия для соединительных винтов на расстоянии 25–30 см друг от друга. Использовать такую коптильню можно как для вертикального, так и для горизонтального размещения продуктов.

Иллюстрация к книге — Секреты домашнего копчения [i_028.jpg]

Рис. 12. Труба-коптильня:

1 – опилки для копчения; 2 – топливо; 3 – алюминиевая фольга; 4 – решетка; 5 – выходные отверстия для дыма; 6 – отверстия для свежего воздуха


Если трубу-коптильню располагать над источником огня вертикально, то на ее верхнем конце нужно сделать надрезы для крепления деревянной крестовины, к которой будет подвешиваться продукция на бечевках. В нижней части устанавливают поддон для опилок, изготовленный из листовой стали с загнутыми вверх краями. Сверху нужно прикрыть трубу алюминиевой фольгой с отверстиями для выхода дыма.

В качестве источника огня удобно использовать газовую горелку. Чтобы подвести горелку под коптильную камеру, саму трубу устанавливают на кирпичи.

Если такую трубу-коптильню расположить горизонтально, то внутри нее нужно установить проволочную решетку с крупными ячейками, размер которой соответствует диаметру трубы. Решетка должна быть прочной во избежание деформации при нагрузке. Концы трубы нужно закрыть листами фольги с отверстиями: верхние отверстия будут вытяжными – для дыма, нижние – для поступления свежего воздуха. Между подпорками, на которые укладывают трубу-коптильню, необходимо установить источник огня, а на дно трубы насыпать опилки.

Переносная коптильня

Небольшая переносная коптильня представляет собой цилиндр из листового железа с днищем (рис. 13).

Внутри цилиндра необходимо прикрепить два профильных уголка, на которые будет установлена решетка-противень для продуктов. В крышке следует сделать отверстие с заглушкой.

Размеры такой мини-коптильни зависят от условий копчения. Цилиндрическая коптильня очень удобна для походов. Ее конструкция позволяет применять изделие также для других различных целей, например как печку для обогрева палатки. Если внутрь коптильни насыпать угли из костра или влить горячую воду и наглухо закупорить крышку, то в течение нескольких часов мини-коптильня будет сохранять и отдавать тепло.

Иллюстрация к книге — Секреты домашнего копчения [i_029.jpg]

Рис. 13. Переносная коптильня:

Вход
Поиск по сайту
Ищем:
Календарь