Книга Секреты домашнего копчения, страница 86 – Валерий Бестужев

Авторы: А Б В Г Д Е Ж З И Й К Л М Н О П Р С Т У Ф Х Ч Ш Ы Э Ю Я
Книги: А Б В Г Д Е Ж З И Й К Л М Н О П Р С Т У Ф Х Ц Ч Ш Щ Ы Э Ю Я
Бесплатная онлайн библиотека LoveRead.in

Онлайн книга «Секреты домашнего копчения»

📃 Cтраница 86
Иллюстрация к книге — Секреты домашнего копчения [i_021.jpg]

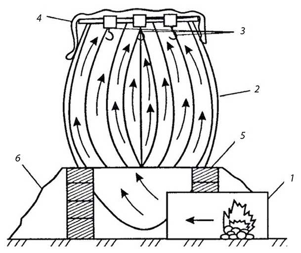
Рис. 5. Коптильня из бочки:

1 – топка с направлением выхода дыма; 2 – корпус бочки без дна; 3 – крючки для продуктов; 4 – крышка с мелкими отверстиями для дыма; 5 – кирпичи; 6 – слой земли для защиты очага от утечки дыма и тепла

Необходимо контролировать процесс, чтобы происходило выделение дыма и коптильная смесь при этом не воспламенялась.

Снизу у основания бочки помещают поддон с коптильной смесью, в очаге разводят огонь.

Сделанные по такому принципу коптильные бочки позволяют получить температуру внутри конструкции в пределах 80—100 °С. Время копчения составляет примерно 3–4 ч в зависимости от температуры и концентрации дыма. Продукты подвешивают внутри бочки на крючьях, гвоздях либо прутьях.

Коптильня из двух деревянных бочек

Для этой коптильни потребуются две бочки. Изготовить ее тоже несложно. У бочек удаляют дно и устанавливают их друг на друга (рис. 6).

В верхней бочке должны быть предусмотрены поперечины для подвешивания продуктов. Верхнюю бочку закрывают крышкой с отверстиями и тканью для регулировки концентрации дыма внутри емкости.

В нижней бочке необходимо сделать отверстие для топки. На дне размещают металлический лист, на котором будут тлеть опилки.

Между двумя бочками устанавливают влажный фильтр для удержания сажи. В качестве фильтра можно использовать пропитанную водой ткань (мешковину).

Для лучшего охлаждения и фильтрации дыма к мешковине между бочками можно добавить слой влажной соломы.

Плотность дыма регулируется количеством тлеющих опилок в топке и перекрыванием отверстий в крышке верхней бочки. В такой коптильне необходимо поддерживать влажность не более 50 %. Если дым будет влажным и густым, а температура выше нормы, на продуктах осядет большое количество сажи.

Иллюстрация к книге — Секреты домашнего копчения [i_022.jpg]

Рис. 6. Коптильня из двух бочек:

1 – верхняя бочка; 2 – прутья-поперечины для подвешивания продуктов; 3 – крышка с отверстиями и мешковина; 4 – нижняя бочка; 5 – отверстие топки

Коптильня из стальной бочки с пеналом для опилок

Можно соорудить самодельную коптильню, используя 200-литровую металлическую бочку. Для этого необходимо вварить в бочку под прямым углом водопроводную трубу. Здесь возможны два варианта: первый предполагает приваривание трубы со стороны стенки бочки (рис. 7), второй – со стороны днища (рис. 8). Диаметр привариваемой трубы – около 32 мм.

Иллюстрация к книге — Секреты домашнего копчения [i_023.jpg]

Рис. 7. Коптильня с пеналом, приваренным к стенке бочки:

1 – гнет; 2 – крышка; 3 – металлическая решетка; 4 – труба; 5 – муфта; 6 – пенал с опилками; 7 – паяльная лампа; 8 – бочка


На выходящем наружу конце трубы необходимо нарезать резьбу и прикрутить угловую муфту выходом вниз. Из другого отрезка такой же трубы изготавливают стакан-пенал для опилок. Один из концов пенала заваривают, а на другом также нарезают резьбу. В пенал засыпают просушенные опилки и прикручивают к муфте.

Иллюстрация к книге — Секреты домашнего копчения [i_024.jpg]

Рис. 8. Коптильня с пеналом, вкрученным в днище бочки:

1 – паяльная лампа; 2 – металлический пенал с опилками; 3 – бочка


Получившийся пенал-стакан разогревают паяльной лампой. Приблизительно через 10–15 мин, когда в бочке появится дым, лампу гасят. Затем, спустя 2,5–3 ч, процедуру повторяют. В среднем для нормального копчения необходимо 5–6 таких сеансов. После этого продукцию вялят в течение 2–3 суток.

Коптильня горячего копчения из металлической бочки

Коптильню, сконструированную из обычной железной бочки со вставными решетками (рис. 9), очень удобно использовать в полевых условиях, например непосредственно у места ловли рыбы.

Для сборки такой коптильни нужна металлическая бочка, предварительно прокаленная на огне, с хорошо подогнанной крышкой.

Иллюстрация к книге — Секреты домашнего копчения [i_025.jpg]

Рис. 9. Коптильня горячего копчения из металлической бочки:

а – вариант с решетками на раме, опирающейся на дно бочки; б – вариант с подвешенной решеткой:

1 – рыба; 2 – решетка; 3 – противень; 4 – топка


Вначале сооружают фундамент из кирпичей, сверху устанавливают бочку. В качестве очага можно использовать барбекю. На дно бочки выкладывают опилки и вставляют 3–4 решетки из проволоки для размещения продукции. Под бочкой разводят костер. Крышка бочки является регулятором концентрации дыма.

Для придания продуктам особого аромата при копчении можно установить на дно бочки (где тлеют опилки) противень с маслом и приправами.

Коптильня из бочки для холодного копчения

В качестве емкости для копчения в такой установке используется деревянная или стальная бочка с удаленным днищем (рис. 10).

Иллюстрация к книге — Секреты домашнего копчения [i_026.jpg]

Рис. 10. Компоновочная схема установки холодного копчения:

1 – приямок с тлеющим коптильным топливом; 2 – дымоход; 3 – решетка или сетка; 4 – бочка


Такую коптильню целесообразно размещать на склоне холма, так как для дымохода, соединяющего огонь с коптильней, требуется небольшой наклон.

Для начала в земле нужно выкопать траншею длиной около 2 м. Этот дымоход соединит топку с бочкой. Стенки дымохода следует укрепить, например кирпичом. Сверху траншею с дымоходом присыпают землей.

Бочку устанавливают на железный лист с отверстиями для дыма. В качестве крышки для бочки используют лист железа или мешковину.

Дым, проходя через дымоход, охлаждается, и процесс копчения происходит при невысокой температуре – 20–30 °С.

Такая коптильня прекрасно дополнит садовый гриль или барбекю, хотя можно разместить ее и отдельно. Преимуществом является то, что для строительства можно использовать какой угодно материал и снизить затраты до минимума.

Вход
Поиск по сайту
Ищем:
Календарь