Книга Секреты домашнего копчения, страница 6 – Валерий Бестужев

Авторы: А Б В Г Д Е Ж З И Й К Л М Н О П Р С Т У Ф Х Ч Ш Ы Э Ю Я
Книги: А Б В Г Д Е Ж З И Й К Л М Н О П Р С Т У Ф Х Ц Ч Ш Щ Ы Э Ю Я
Бесплатная онлайн библиотека LoveRead.in

Онлайн книга «Секреты домашнего копчения»

📃 Cтраница 6

Этот вид солонины можно использовать для приготовления колбас, в качестве добавки к свежему мясу, а также для приготовления отдельных мясных блюд.

В посолочную смесь для говядины рекомендуется добавлять пряности еще и для того, чтобы солонина получилась более нежной.

Если солите мясо в бочке или бочонке, следите за тем, чтобы тара была целой: при вытекании рассола через щели засоленное мясо очень быстро портится.

Для получения деликатесной солонины используйте спинную часть туши (толстый и тонкий края) и грудинку. Сначала осторожно отделите мякоть от костей и охладите ее. Затем охлажденную мякоть натрите посолочной смесью из расчета 1 стакан смеси (вместимостью 250 см3) на 5 кг мяса. Чтобы приготовить стакан посолочной смеси, смешайте 175 г соли, 2 г аскорбиновой кислоты в порошке и 65 г мелкокристаллического сахара. Можно добавить несколько измельченных лавровых листьев и немного молотого черного перца и гвоздики. Натертые смесью тонкие куски говядины сверните в рулеты и обвяжите шпагатом, а затем уложите их слоями (не более 3–4 слоев) в посуду, на дно которой предварительно насыпьте посолочную смесь и пряности. Накройте последний слой мяса хорошо промытым и ошпаренным деревянным кругом, сверху на него поставьте легкий гнет. В таком виде выдерживайте мясо в помещении при температуре 1–3 °С в течение 2 недель, после чего деликатесная солонина будет готова к использованию.

Перед приготовлением каких-либо блюд солонину следует вымочить. Крупные куски перед вымачиванием разрезают на 2–4 части. Затем заливают солонину холодной водой (2 л на 1 кг солонины) и вымачивают в течение 24 часов, меняя воду 5 раз: первый раз – через 1 ч после замачивания, а затем с промежутками в 2, 3, 6 и 12 ч. Температура воды для вымачивания не должна превышать 15 °С. Содержание соли при этом удается снизить до 2 %. Деликатесную солонину вымачивают не так долго – от 18 до 20 ч. Мелкие куски солонины (50–60 г) можно не вымачивать, а сразу варить в пятикратном объеме воды.

Для засолки крупных кусков мяса на костях в большой таре, например в бочке, необходимо разрубить говяжьи полутуши на крупные части: лопатку, грудинку и т. д. При посоле в более мелкой таре разрубите отрубы еще на 3–4 части. Перед посолом кости следует надрубить: реберные и трубчатые – поперек, позвонковые – косыми надрубами по позвонкам, а кости суставов – крест-накрест. В толстых мышцах (задние конечности, лопатка, бедро) сделайте ножом 2–3 надреза (кармана) глубиной до 10 см и длиной около 5 см. Дальнейший процесс обработки мяса – такой же, как и при приготовлении мякотной солонины. Старайтесь тщательно обрабатывать места надрубов и разрубки костей, как можно больше и плотнее заполняя их посолочной смесью. Натертые смесью куски мяса укладывайте в тару костями вверх. Продолжительность посола солонины на костях составляет 40–45 суток.

Для приготовления рулетов берите куски мяса, отделенные от костей. Разрежьте их на пласты и натрите посолочной смесью (на 1 кг мякоти мяса: 75–85 г соли, 0,5–1 г аскорбиновой кислоты в порошке, измельченные пряности – 18 горошин черного перца, 4–5 лавровых листьев, 3 ягоды можжевельника). Для просаливания более крупных кусков на 10 кг мякоти мяса берут 1 кг соли, 3 г аскорбиновой кислоты в порошке и 15 г мелкокристаллического сахара. Натертые пласты сверните в рулеты и перевяжите шпагатом, накладывая витки на расстоянии примерно 10 см друг от друга. Затем переверните рулеты другим концом к себе и вновь перевяжите шпагатом, накладывая витки в промежутках уже сделанных. Перевязанные рулеты натрите солью, плотно уложите их в бочку, на дно которой предварительно насыпьте соль. Верхний слой мяса посыпьте посолочной смесью, положите на него хорошо промытый ошпаренный деревянный круг, сверху придавите легким гнетом и поставьте в холодное место (погреб, подвал) с температурой 4–6 °С. Через 2–3 суток залейте мясо рассолом. Крепость рассола зависит от того, насколько долго предполагается хранить солонину. Если солонина предназначена для продолжительного хранения, приготовьте более крепкий рассол: на 10 л воды – 2 кг соли, 25 г селитры (или 15 г аскорбиновой кислоты) и 100 г сахара. Для слабого посола количество соли уменьшите до 1,5 кг. После растворения компонентов рассола процедите его через сложенную в четыре слоя марлю и охладите до температуры 2–4 °С. Охлажденным рассолом залейте мясо так, чтобы оно было полностью им покрыто. На мясо положите круг и тяжелый гнет и храните в помещении при температуре 0–3 °С. Процесс просаливания мяса длится 25–30 суток. За это время надо несколько раз переместить верхние куски мяса вниз, а нижние – наверх. Постоянно следите за уровнем рассола, контролируйте качество и степень просола мяса.

Рулеты можно солить как отдельно, так и вместе с мясом, предназначенным для приготовления солонины.

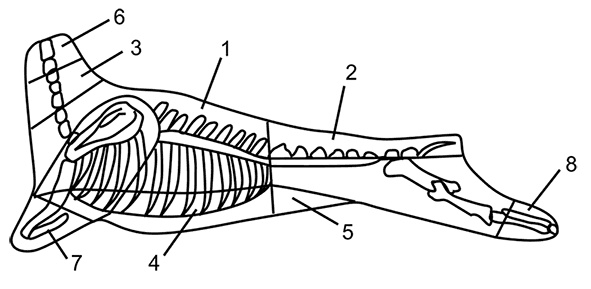
Баранину для посола разделывают, руководствуясь схемой разрубки, показанной на рис. 5.

Баранину засаливают по рецептам посола свинины и говядины.

Иллюстрация к книге — Секреты домашнего копчения [i_005.jpg]

Рис. 5. Схема разрубки бараньей полутуши для посола: 1 – спинно-лопаточная часть; 2 – задняя часть; 3 – шея; 4 – грудинка; 5 – пашина; 6 – зарез; 7 – рулька; 8 – задняя голяшка


Все языки (как говяжьи, так и свиные или бараньи) солят без горловины.

Для приготовления рассола на 5 л воды берут 900 г соли, 17 г селитры или 5 г аскорбиновой кислоты в порошке, 25 г сахара, немного гвоздики, черного перца и лаврового листа. Говяжьи языки примерно одинакового веса тщательно очистите от остатков слизи и крови и хорошенько промойте. Затем каждый язык в толстой его части проколите деревянной иглой в двух-трех местах – это нужно для быстрого и равномерного просаливания. Уложите языки в подготовленную посуду и залейте охлажденным кипяченым рассолом из расчета 1 л рассола на 1 кг языков. Накройте посуду крышкой и поставьте в прохладное помещение с температурой не выше 5 °С. Через 2–3 дня рассол слейте, языки переложите в другую тару и залейте свежим рассолом в той же пропорции. Процесс просаливания языков длится от 10 до 12 суток в зависимости от веса.

Вяление мяса

Вяленое мясо придает копченостям, приготовленным из него, неповторимый вкус и аромат. Вяленое мясо можно приготовить из обычной солонины. Для этого говядину нарежьте длинными полосками вместе с жиром, а туши мелкого рогатого скота – овец и коз – сначала разрубите на две половины, затем отделите лопатки и окорока и разрежьте их в нескольких местах, чтобы соль лучше проникла в мясо. Если вы хотите приготовить вяленое мясо на ребрышках, перед посолом перерубите их в нескольких местах. Подготовленные куски мяса натрите солью и уложите в кадку, обильно пересыпая посолочной смесью. Поверх мяса положите деревянный круг, установите гнет, прикройте крышкой и поставьте в прохладное место. Там мясо должно стоять в течение 15 дней, после этого выньте его, хорошо промойте в холодной воде и развесьте просыхать. Периодически снимайте куски мяса и укладывайте их под гнет для прессования. Когда мясо достаточно высохнет, храните его в прохладном сухом месте. В таких условиях вяленое мясо можно хранить в течение 6–8 месяцев.

Вход
Поиск по сайту
Ищем:
Календарь