Книга Секреты домашнего копчения, страница 5 – Валерий Бестужев

Авторы: А Б В Г Д Е Ж З И Й К Л М Н О П Р С Т У Ф Х Ч Ш Ы Э Ю Я
Книги: А Б В Г Д Е Ж З И Й К Л М Н О П Р С Т У Ф Х Ц Ч Ш Щ Ы Э Ю Я
Бесплатная онлайн библиотека LoveRead.in

Онлайн книга «Секреты домашнего копчения»

📃 Cтраница 5

Более тонкую часть крупных свиней солят вместе с корейкой. Корейку обычно солят отдельно, поскольку для ее посола требуется меньше соли. Ее можно солить сухим способом или в рассоле.

При сухом способе посола на 10 кг мяса требуется 300–350 г посолочной смеси с пряностями. Охлажденную корейку натрите со всех сторон половиной нормы посолочной смеси, уложите в посуду. Через 2 дня натрите мясо оставшейся посолочной смесью и уложите в емкость для посола. Сверху положите деревянный круг, а на него поставьте гнет.

При мокром посоле подготовленное мясо залейте охлажденным рассолом, приготовленным из расчета 700–800 г посолочной смеси на 5 л воды. Просаливаются корейка и шейка через 6–7 дней.

Просоленную корейку и шейную часть очистите, обсушите, дополнительно посыпьте молотыми пряностями (черным и душистым перцем, кориандром, гвоздикой, ягодами можжевельника), заверните в марлю, брюшину или обтяните обработанной толстой кишкой, перевяжите шпагатом и уложите под гнет на 2 дня.

Ухаживать за мясом после посола необходимо точно так же, как за окороками.

Можно посолить окорока и лопатки ускоренным приемом – через кровеносную систему (если есть возможность проконтролировать разделку свиной туши или разделывать ее собственноручно). Рассол вводится в мясо с помощью медицинского шприца объемом 200–400 см3 непосредственно в кровеносные сосуды внутри окороков.

При использовании этого способа необходима особая осторожность при разделке свиных туш. Удаление кишок надо производить так, чтобы не повредить главную артерию с ее ответвлением в окорочные части. Для этого, отделяя прямую кишку, нужно подрезать артерию ножом ближе к ней, оставляя все пленки и жир в туше, что предохраняет артерию от повреждения. Затем перед разрубом туши на две части (полутуши) надо обнажить артерию, сняв с нее жир и пленки, и осторожно разрезать пополам вдоль. После отделения окороков каждый из них будет иметь артерию, подготовленную для посола шприцеванием. Отделение окороков также должно проводиться осторожно: надо аккуратно отрубить хвостовую часть, стараясь не разрезать мышцы (иначе в месте разреза будет просачиваться рассол) и не затронуть артерию, через которую должен вводиться рассол.

Пользуясь этим способом, ветчину можно приготовить в точном соответствии с желаемой степенью солености. Рассол для шприцевания готовят из такого расчета: на 10 л рассола для малосольной ветчины – 1,6 кг соли; для среднесоленой ветчины – 1,8 кг соли; для соленой ветчины – 2 кг соли. В рецептуру рассола кроме воды (10 л) и соли входят: 80 г селитры, 10 г аскорбиновой кислоты, 50 г сахара. Рассол готовьте обязательно на кипяченой воде. Хорошо охлажденный готовый рассол вводите шприцем в окорок из расчета 80 см3 на 1 кг окорока, вставив шприц в артерию и поддерживая его левой рукой, а правой приводите в движение его поршень. После введения рассола натрите окорока солью, уложите их в бочку и через сутки залейте рассолом, оставшимся от шприцевания окороков, чтобы они были полностью им покрыты. Таким же способом можно приготовить ветчину и из лопаток.

При введении рассола через кровеносную систему соль распределяется в окороке быстрее и равномернее.

Вкус и аромат продукта будут зависеть от созревания окорока в процессе посола. Окорок может быть готов уже через 3 суток, но лучшие качества он все-таки приобретет лишь после 2 недель выдержки.

Окорока, приготовленные ускоренным способом, коптить или хранить длительное время не рекомендуется. Лучше всего использовать их после посола в виде вареной ветчины. Отваривать такой окорок можно по желанию на 3—5-й день после посола, но лучше через 10–15 суток.

Посол говядины является одним из самых простых, доступных и надежных способов сохранения мяса в домашних условиях в течение длительного времени. Кроме того, посол говядины необходим при изготовлении колбасных изделий и различных видов копченостей. От назначения говядины зависит и способ посола. Однако необходимо следить за тем, чтобы мясо равномерно просаливалось, поэтому большое значение имеет правильность надрубки костей, тщательная обработка надрезов в мышечной ткани мяса посолочной смесью и т. д.

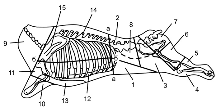
Схема разрубки говяжьей полутуши представлена на рис. 4. Вначале следует разрубить полутушу пополам (по линии «а – а») – получатся задняя и передняя части, то есть четвертины. Затем нужно разрубить каждую из них по очереди.

Иллюстрация к книге — Секреты домашнего копчения [i_004.jpg]

Рис. 4. Схема разрубки говяжьей полутуши: 1 – пашина; 2 – филейная часть; 3 – оковалок с щупом; 4 – голяшка; 5 – подбедерок; 6 – огузок; 7 – кострец; 8 – вырезка (обозначена пунктиром); 9 – шейная часть; 10 – рулька с голяшкой; 11 – лопатка; 12 – грудинка; 13 – челышко; 14 – толстый и тонкий край; 15 – подплечный край


Разрубка задней четвертины. От четвертины следует отделить пашину, филейную часть, оковалок с щупом; отрубить голяшку и разделить оставшийся отруб на подбедерок, огузок и кострец. Из филейной части с внутренней стороны нужно отделить вырезку, прилегающую к позвоночнику (на рисунке это показано пунктирной линией).

Разрубка передней четвертины. Отрубив шейную часть, рульку с голяшкой, нужно отделить ножом лопатку, оставшийся отруб разрубить поперек ребер (по линии «б – б»). Затем грудную часть следует разделить на два отруба: грудинку и челышко. Оставшуюся часть также надо разрубить на два отруба: толстый и тонкий края и подплечный край.

Для приготовления посолочной смеси на 1 кг мякоти говядины берут 75–85 г соли, 0,5–1 г аскорбиновой кислоты в порошке, измельченные пряности (18 горошин черного перца, 4–5 лавровых листа, 3 ягоды можжевельника).

Для просаливания крупных кусков на 10 кг мякоти говядины используют 1 кг соли, 3 г аскорбиновой кислоты в порошке и 15 г мелкокристаллического сахара.

Для посола лучше использовать свежую охлажденную мякоть говядины, зачищенную от сухожилий. Куски мяса как можно тщательнее натрите посолочной смесью. Обращайте внимание на зарезы и карманы – тщательно натирайте их посолочной смесью. Расход посолочной смеси должен составить 1/10 от массы мяса. Сначала небольшое количество посолочной смеси насыпьте на дно посуды для посола, плотно уложите на нее натертые смесью куски мяса и посыпьте их сверху посолочной смесью. Затем уложите следующий слой мяса, снова посыпьте его смесью и так далее. Посыпав посолочной смесью верхний слой мяса, положите на него хорошо промытый ошпаренный деревянный круг, сверху установите легкий гнет и поставьте в прохладное место (погреб, подвал) с температурой 4–6 °С. Через 2–3 суток залейте мясо рассолом. Крепость рассола зависит от того, насколько длительно предполагается хранить солонину. Если солонина предназначена для продолжительного хранения, приготовьте более крепкий рассол: на 10 л воды – 2 кг соли, 25 г селитры (или 15 г аскорбиновой кислоты) и 100 г сахара. Для слабого посола количество соли уменьшите до 1,5 кг. После растворения компонентов рассола процедите его через сложенную в четыре слоя марлю и охладите до температуры 2–4 °С. Охлажденным рассолом залейте мясо так, чтобы оно было полностью им покрыто. На мясо положите деревянный круг и тяжелый гнет и поставьте в помещение с температурой 0–3 °С. Процесс просаливания мяса длится 25–30 суток. За это время надо несколько раз переместить верхние куски мяса вниз, а нижние – наверх. Постоянно следите за уровнем рассола, контролируйте качество и степень просола мяса.

Вход
Поиск по сайту
Ищем:
Календарь