Книга Печи для бань и саун своими руками, страница 16 – С. Калюжный

Авторы: А Б В Г Д Е Ж З И Й К Л М Н О П Р С Т У Ф Х Ч Ш Ы Э Ю Я
Книги: А Б В Г Д Е Ж З И Й К Л М Н О П Р С Т У Ф Х Ц Ч Ш Щ Ы Э Ю Я
Бесплатная онлайн библиотека LoveRead.in

Онлайн книга «Печи для бань и саун своими руками»

📃 Cтраница 16
Иллюстрация к книге — Печи для бань и саун своими руками [i_046.jpg]

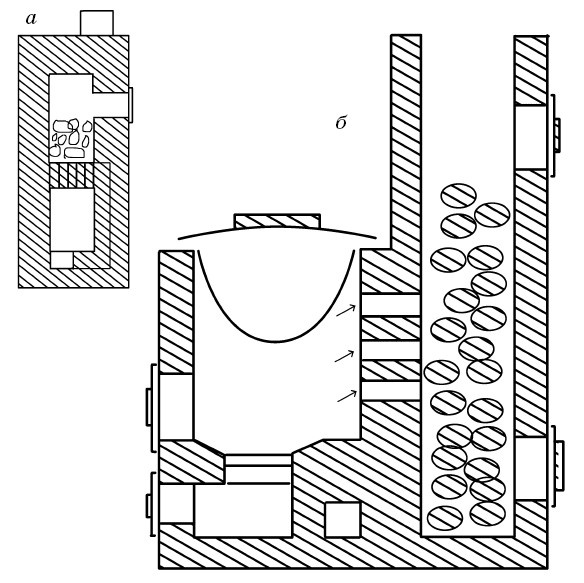
Рис. 22. Кирпичная печь-каменка периодического действия: а — без водогрейной емкости; б — с водогрейным котлом


Печь должна быть оборудована дымоходами в виде опускных колодцев. Для придания большей прочности ее рекомендуется отделать стальными уголками. Камера для камней, как правило, снабжена двумя дверками.

Нередко устройство дымоходов происходит таким образом, что они пропускают дымовые газы из области вокруг канала в нижнюю часть камеры для камней.

Возведение массивной кирпичной печи-каменки должно начинаться с закладки ее фундамента. Для предотвращения оседания печи и ее наклонения из-за увлажнения или промерзания грунта фундамент необходимо заглублять не менее чем на 0,5 м. Его поперечные размеры должны быть больше печных на полкирпича в каждую сторону, т. е. в целом на кирпич. Расстояние от фундамента печи до фундамента стены должно составлять не менее 5 см, а зазор между ними необходимо заполнить песком. Дно котлована следует утрамбовать и выровнять, используя специальный уровень. Наиболее подходящим фундаментом считается бетонный или бутобетонный. В сухом грунте его можно приготовить из кирпичей с использованием известкового, цементного или известково-цементного раствора.

Иллюстрация к книге — Печи для бань и саун своими руками [i_001.jpg]

Совет мастера

Для приготовления известкового раствора используется гашеная известь и просеянный песок в соотношении от 1: 2 до 1: 3. Цементный раствор, в котором соотношение цемента и песка составляет 1: 3, рекомендуется готовить небольшими порциями, чтобы успеть применить его до схватывания.

Для замешивания известковоцементного раствора понадобится цемент, известь и песок в соотношении 1: 2: 10.

Поверхность фундамента следует залить цементным раствором, выровнять с помощью рейки и покрыть сверху гидроизоляционным толем или рубероидом в два слоя.

Главным материалом для кладки таких печей является обыкновенный полнотелый кирпич первого сорта. Категорически запрещено использовать дырчатые и силикатные кирпичи, так как они быстро разрушаются. Для кладки и футеровки топливника печи больше всего подходят тугоплавкие и огнеупорные кирпичи. Тугоплавкие кирпичи используются для сжигания дров, а огнеупорные (шамотные) кирпичи — для сжигания каменного угля, жидкого топлива, газа.

Основой качественной кладки является обеспечение плотности швов. Это необходимо для того, чтобы в помещение бани не проникали продукты сгорания, которые могут стать причиной отравления угарным газом. Швы кладки следует заполнять раствором на всю глубину. Их толщина должна быть минимальной. Если используется обычный кирпич, то толщина шва не должна превышать 5 мм, а для тугоплавкого и огнеупорного кирпича она должна составлять не более 3 мм на всю глубину. Раствор можно расстилать рукой, с мастерка его разрешено выкладывать лишь до пола топливника и дна дымовых каналов.

Необходимо обеспечивать гладкость внутренних поверхностей печей. Для этого колотые и тесаные кирпичи располагают шероховатыми гранями наружу. Через каждые 4–5 рядов кладки внутренние поверхности затирают влажной мочальной кистью или тряпкой.

К кладке следующего ряда можно переходить лишь после того, как будут уложены все кирпичи предыдущего ряда. Рекомендуется до начала кладки на раствор произвести примерочную раскладку кирпичей без раствора.

После того как будет произведена укладка первого ряда, следует проверить правильность углов, используя специальный угольник или шнур. После укладки второго ряда по углам печи необходимо расставить направляющие шнуры с отсечками. Они должны быть подвешены гвоздями к потолку, а снизу намотаны на гвозди, углубленные в швы между двумя нижними рядами.

При укладке кирпичей важно соблюдать правила их перевязки: каждый вертикальный шов должен перекрываться кирпичом, расположенным рядом выше. Категорически запрещено производить перевязку кладки обычного кирпича с кладкой из тугоплавкого или огнеупорного кирпича, так как при повышении температуры они обладают разным расширением.

Печные приборные дверки, задвижки, колосниковые решетки, плиты и водогрейные коробки должны быть установлены во время кладки кирпича. Рамку дверки следует монтировать в кладке с помощью специальных лапок (кляммер) из мягкой стальной полосы (обручного железа). К рамке лапки должны крепиться с помощью заклепок. Перед фиксацией на место рамку следует обмотать асбестовым шнуром или тканью. Если между рамкой дверки топливника и кирпичной кладкой отсутствует асбест, то по всему периметру нужно оставить зазор шириной 3–4 мм. Это необходимо для того, чтобы рамка при нагреве не смогла раздвинуть кладку. С целью обеспечения прочности перемычки дверка топливника должна быть перекрыта способом «в замок», т. е. когда средний кирпич скошенными концами располагают на скошенные концы соседних кирпичей. Другие дверки и рамки заслонок должны быть закреплены в кладке с помощью проволоки.

Колосниковая решетка монтируется прорезями вдоль топливника. Для расширения решетки между ее краями и кирпичами кладки необходимо оставлять зазор не менее 5 мм. Он должен быть заполнен песком. Такой же зазор следует делать и между плитой над топливником и кладкой.

Одной из самых важных частей печи является топливник. Для топки дровами наименьшая его ширина должна быть в один кирпич, т. е. составлять 25 см, а минимальная высота — 35 см. Чем больше высота топливника, тем лучше условия горения топлива. Желательно, чтобы она составляла 40–60 см. В нижней части стены топливник должен быть выполнен с уклоном в сторону колосниковой решетки, чтобы при сгорании угли опирались на решетку.

Конструкция дымооборотов влияет на равномерность прогрева и экономичность печи. Их внутренняя поверхность должна быть ровной.

Ее не следует покрывать глиняным раствором, который быстро отваливается и может засорить дымоход.

Верхняя стенка печи (перекрыша) состоит из трех рядов кирпичей, которые кладут плашмя с перевязкой. При совпадении вертикальных швов верхних стенок их следует перекрыть кусками стального листа.

Труба для каменки должна быть насадной, т. е. располагаться на массиве печи. При этом толщина стенок печи и трубы, а также проходное сечение дымовых каналов и трубы должны составлять не менее половины кирпича. Труба должна быть выведена на высоту не ниже 0,5 м от поверхности крыши. Для этого рекомендуется использовать цементный или известковый раствор, но не глиняный, так как он легко вымывается дождем и конденсатом, образующимся внутри трубы.

В целях соблюдения пожарной безопасности необходимо выдерживать расстояние между кирпичной поверхностью печи и сгораемой конструкцией, т. е. деревянными частями бани. Оно должно составлять не менее 40 см, если конструкция не защищена от возгорания, и более 25 см при имеющейся защите. Если печь и труба состоят из металла, то эти расстояния должны быть увеличены до 100 и 70 см соответственно. Между кирпичной трубой и деревянными элементами крыши необходимо оставлять свободное расстояние не менее 10 см. При применении металлической или асбестоцементной трубы ближайшие деревянные части потолка и крыши должны быть закрыты войлоком, предварительно пропитанным глиняным раствором, и дополнительно обшиты кровельной сталью. Зазора между трубой и кровлей не должно быть, поэтому его следует закрыть фартуком из оцинкованной стали. На деревянном полу перед топочной дверкой рекомендуется установить металлический лист размером не менее 70 х 50 см.

Вход
Поиск по сайту
Ищем:
Календарь