Книга Печи для бань и саун своими руками, страница 17 – С. Калюжный

Авторы: А Б В Г Д Е Ж З И Й К Л М Н О П Р С Т У Ф Х Ч Ш Ы Э Ю Я
Книги: А Б В Г Д Е Ж З И Й К Л М Н О П Р С Т У Ф Х Ц Ч Ш Щ Ы Э Ю Я
Бесплатная онлайн библиотека LoveRead.in

Онлайн книга «Печи для бань и саун своими руками»

📃 Cтраница 17
Иллюстрация к книге — Печи для бань и саун своими руками [i_001.jpg]

Совет мастера

Для оштукатуривания печи подойдут растворы следующих составов — гипс: известь: песок (2: 2: 1); глина: известь: песок (1: 1: 3); глина: цемент: песок (1: 1: 3); глина: песок (1: 2). Независимо от выбора раствора, в него рекомендуется добавить 0,1–0,2 части асбеста.

Печи-каменки на жидком и газообразном топливе

Для обогрева бани часто применяют такие газовоздушные отопительные приборы, как калориферы, конвекторы, работающие на сжиженном или природном газе и имеющие патрубок для вывода продуктов сгорания в дымоход. Необходимо, чтобы в дымоходе была встроена стальная коробка с камнями для получения пара. Но нужно учитывать, что температура нагрева камней будет невысокой (не более 200 °C). Для получения сухого пара с высокой температурой чаще всего ставят обычные печи-каменки, в топливнике которых монтируются газовые горелки с инжекторами и воздухораспределителями.

Газ считается наиболее опасным топливом. Он может стать причиной возникновения пожара, взрыва и отравления. При его использовании возможно накопление в топке взрывчатой смеси газа с воздухом при потушенном пламени, проникновение в помещение продуктов горения, содержащих повышенное количество угарного газа. Поэтому к таким печам, работающим на газе, предъявляются повышенные требования.

Для топки печей-каменок рекомендуется использовать жидкое топливо, которое без труда можно транспортировать и хранить в канистрах, бидонах или другой закрытой таре. Для топки печей разрешено применять нефтепродукты с высокой температурой вспышки: печное дистиллированное топливо, дизельное топливо, керосин, мазут. От температуры вспышки зависит состояние топлива в момент массового выделения паров, которые могут вспыхнуть при наличии пламени. Чем выше температура вспышки, тем сложнее воспламеняется топливо, следовательно, оно становится более безопасным.

Горение жидкого топлива заключается в нескольких этапах: распыления, смешения с воздухом, нагрева, испарения и окисления. В промышленных установках, где наблюдается большой расход топлива, его распыление осуществляется с помощью форсунок.

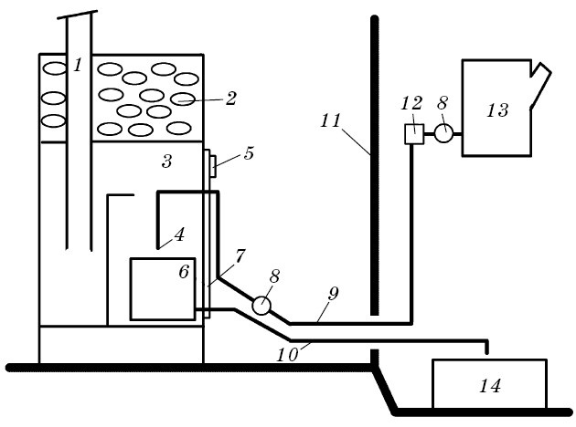
В бытовых печах, в том числе в печах-каменках, используют способ разбрызгивания при ударе капель о дно горелки (рис. 23).

Иллюстрация к книге — Печи для бань и саун своими руками [i_049.jpg]

Рис. 23. Схема использования горелки с разбрызгиванием топлива: 1 — дымоходная труба; 2 — камни;3 — топливник печи; 4 — капельница; 5 — глазок;6 — стакан горелки; 7 — дверка топливника; 8 — вентили; 9 — трубка для подачи топлива; 10 — переливная трубка; 11 — стена помещения; 12 — фильтр;13 — топливный бак; 14 — сливной бак


Горелка представляет собой металлический стакан с капельницей, расположенной над ним. Лучше всего подойдет отслуживший поршень двигателя, изготовленный из жаропрочного чугуна или стали. Тонкостенные стаканы склонны к быстрому прогоранию.

Капельница должна располагаться на такой высоте, чтобы удобно было следить за тем, как стекает топливо. С помощью трубки капельница сообщается с топливным баком, расположенным вне помещения бани.

На трубке монтируется фильтр и два вентиля. Один необходимо установить у бака после фильтра, он будет использоваться для его отключения. А второй вентиль следует расположить у печи, он будет нужен для регулирования расхода топлива. Нижняя часть стакана с помощью переливной трубки сообщается со сливным баком, который также находится вне банного помещения.

Скорость и полнота горения топлива зависят от степени нагрева стакана: чем выше его температура, тем быстрее происходит испарение топлива и практически полностью сгорают его пары. Для достижения большей полноты сгорания топлива рекомендуется в боковой стенке стакана просверлить отверстия для подачи воздуха.

Также можно наполовину заполнить стакан кусками металла или камня, благодаря которым будет осуществляться предварительный нагрев воздуха и наиболее равномерное смешение его с парами топлива.

В целом печи-каменки, функционирующие на газообразном и жидком топливе, имеют довольно сложную конструкцию.

Для того чтобы самостоятельно обустроить их, необходимо специальное оборудование и определенный опыт, а также не менее важно иметь механизмы для регулирования подачи топлива и защиты от перегрева.

В бани, оборудованные такими печами, проникает определенное количество газообразных компонентов топлива, из-за чего образуются посторонние запахи.

Поэтому в индивидуальных банях рекомендуется использовать печи-каменки, работающие на твердом топливе — дровах, реже — на угле.

Электрические печи-каменки

Одними из наиболее удобных для использования являются печи-каменки постоянного действия с электрическим нагревом. Мощность такой печи зависит от объема парилки, качества теплоизоляции ее стен и температуры в помещении.

Самая простая электрическая печь-каменка является электропечью закрытого типа. На ней располагается металлическая коробка с камнями. Если мощности данной печи не хватает, чтобы хорошо нагреть воздух, то рекомендуется воспользоваться второй электропечью закрытого типа, закрепив на нее крупный кусок металла для улучшения отвода тепла.

В электрокаменках заводского производства нагрев камней происходит благодаря трубчатым электронагревателям, которые снизу входят в толщу каменной засыпки.

Наиболее приемлемыми считаются электрокаменки, в которых вентиляционный воздух не проникает через насыпь камней, а свободно обтекает каменную засыпку между двумя кожухами. Нагрев воздуха при использовании таких каменок происходит с помощью дополнительных электронагревателей.

Нагрев камней при этом достигает 350–450 °C, а температура воздуха доходит до 100–120 °C. За счет увеличения количества камней в засыпке повышается запас накапливаемого ими тепла для получения пара.

Способ мягкого нагрева представляет собой систему раздельного нагрева каменной засыпки и воздуха с регулированием массы камней.

Ее преимуществом является отсутствие контакта воздуха с раскаленными камнями и нагревателями. Поэтому не возникает неприятного запаха, а также не происходит выгорание кислорода воздуха.

Иллюстрация к книге — Печи для бань и саун своими руками [i_001.jpg]

Совет мастера

С целью обеспечения удобства обслуживания электрокаменки такая печь должна быть оборудована регуляторами и ограничителями температуры, которые смогут выключить нагреватели при достижении температуры воздуха заданного предела. Кроме того, рекомендуется использовать реле времени для отключения нагревателей через заданное время.

Вход
Поиск по сайту
Ищем:
Календарь