Книга Печи для бань и саун своими руками, страница 13 – С. Калюжный

Авторы: А Б В Г Д Е Ж З И Й К Л М Н О П Р С Т У Ф Х Ч Ш Ы Э Ю Я
Книги: А Б В Г Д Е Ж З И Й К Л М Н О П Р С Т У Ф Х Ц Ч Ш Щ Ы Э Ю Я
Бесплатная онлайн библиотека LoveRead.in

Онлайн книга «Печи для бань и саун своими руками»

📃 Cтраница 13

Для 1 части известкового теста понадобятся 2–3 части песка. Свежеприготовленные известковые растворы, в отличие от цементных растворов, сохраняют свои свойства в течение нескольких суток. Для большей прочности в раствор рекомендуется добавлять цемент, а для уменьшения времени застывания (например, при оштукатуривании) лучше всего добавить гипс.

Известковый раствор различают и по степени жирности. Чтобы правильно ее определить, уже готовый раствор необходимо перемешивать деревянной лопаткой в течение нескольких минут, затем посмотреть на степень его прилипания. Тощий раствор не прилипает к лопатке, жирный раствор покрывает ее поверхность толстым слоем, а нормальный ложится тонким слоем или останется на ней местами.

Известковый раствор нормальной жирности является идеальным вариантом для кладки. Для того чтобы изменить степень жирности раствора, рекомендуется добавить в него недостающие компоненты. Так, например, для увеличения жирности тощего раствора необходимо добавить известковое тесто, а для снижения жирности в качестве добавки используется песок.

Печи для бани
Основные конструкции печей-каменок

Конструкция печи-каменки (рис. 10, 11) зависит от многих факторов. Рассмотрим основные из них.

В зависимости от вида используемого топлива различают:

— твердотопливные печи, в которых в качестве топлива используются дрова, каменный или бурый уголь, сланец, торф и другие твердые органические материалы;

— жидкотопливные печи, для топки которых используется керосин, дизельное топливо, мазут или печное дистиллированное топливо;

Иллюстрация к книге — Печи для бань и саун своими руками [i_021.jpg]

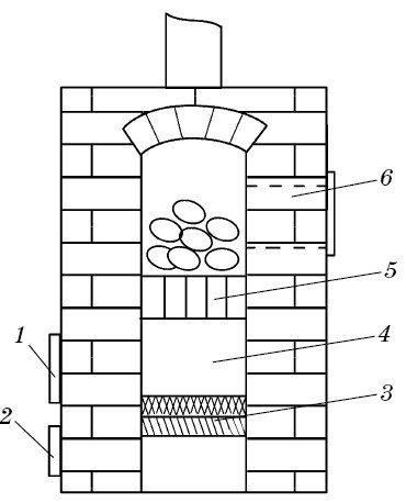
Рис. 10. Банная печь-каменка: 1 — топочная дверца; 2 — поддувальная дверца; 3 — решетка колосниковая; 4 — топливник; 5 — щелевая арка; 6 — огнеупорный кирпич

Иллюстрация к книге — Печи для бань и саун своими руками [i_022.jpg]

Рис. 11. Банная печь-каменка в разрезах: 1 — топливник; 2 — камера; 3 — задвижки; 4 — змеевик; 5 — дверка для чистки; 6 — дымовая труба; 7 — опускные каналы


— печи на газообразном топливе, где применяется сжиженный или природный газ;

— печи с электрическим типом нагрева.

По режиму работы печи бывают постоянного (длительного) и периодического действия.

В зависимости от материалов, использующихся для возведения печей, различают кирпичные и металлические конструкции без футеровки топливника или футеровка которых выполнена из огнеупорного кирпича.

Также печи различаются наличием или отсутствием водогрейного котла.

Банные печи-каменки возводятся в парильных отделениях бань с целью получения пара и отопления помещения парилки. С их помощью удается поддерживать необходимую температуру от 40 до 100 °C.

Печь-каменка состоит из топливника для дров и закрытой камеры. На своде топливника располагаются булыжник и чугунные чушки, толщина слоя которых составляет 20–22 см. Добавление чушек к булыжнику необходимо для ускорения разогрева печи-каменки, так как нагрев чугуна происходит быстрее, чем булыжника.

В своде находятся щели, через которые проходят дымовые газы. Затем они пронизывают толщу булыжника и чушек и проникают в два опускных канала, расположенных сбоку. Оттуда они выходят в дымовую трубу.

В верхней части топливника под аркой располагается «змеевик», в котором происходит нагрев воды для мытья. Для того чтобы корпус печи-каменки был более прочным, его заключают в металлический каркас.

Иллюстрация к книге — Печи для бань и саун своими руками [i_001.jpg]

Совет мастера

В больших парильных отделениях, где вода для банных процедур готовится в котельных централизованно, можно не производить монтаж змеевика.

Пар в таких банях можно получать, обливая раскаленный булыжник водой через специально устроенное окно.

Компактная печь-каменка

Компактная печь-каменка (рис. 12) непрерывного действия может быть устроена на основе так называемой печи-прачки. Для этого в бак вместо воды необходимо загрузить камни, а нагрев воды можно производить в ведре, установленном на камнях. Печь-каменка может быть соединена через дымовую трубу со стальной бочкой, заполненной камнями. Таким образом, получится печь, способная и производить запас тепла в камнях, и осуществлять нагрев воды.

Единственным ее недостатком является уход некоторого количества тепла через тонкие стенки топки. Но это легко исправить, снаружи обложив топку кирпичом и оставив небольшой зазор для циркуляции воздуха.

Иллюстрация к книге — Печи для бань и саун своими руками [i_024.jpg]

Рис. 12. Компактная печь-каменка — каменка непрерывного действия; б — каменка периодического действия): 1 — зольник; 2 — топливник печи-прачки; 3 — бак, заполненный камнями; 4 — ведро с водой;5 — выходной дымоход; 6 — бак с водой; 7 — бочка, заполненная камнями; 8 — дверка для пара


Каменка со встроенным баком для воды

Стандартные размеры каменки с встроенным баком для воды составляют 50 х 60 х 80 см. Высота топки при этом должна быть 30–40 см. Чтобы температура в парильне не опускалась ниже 80100 °C, ее площадь должна составлять не более 12 м2. Масса загружаемых камней — 150 кг.

Для того чтобы тепло не уходило, а использовалось полностью, отводящий дымоход должен быть пропущен через каменную задвижку. Для ускорения процесса нагревания камней поддон для них рекомендуется смонтировать в виде бункера с наклонными стенками. Это необходимо для того, чтобы стенки омывались горячими дымовыми газами. Наиболее удобными и практичными считаются печи с двойными стенками, зазоры между которыми используются в качестве емкости для горячей воды (рис. 13). К емкости можно подсоединить еще один бак с водой, расположенный в непосредственной близости от печи. Печь с двойными стенками осуществляет обогрев бани за счет конвекции воздуха. Для увеличения конвекции стенки рекомендуется выполнять с воздушным зазором, открытым снизу и сверху.

Иллюстрация к книге — Печи для бань и саун своими руками [i_025.jpg]

Рис. 13. Печи-каменки со встроенным баком для воды: а — каменка с одинарными стенками; б — каменка с боковой стенкой в виде бака для воды; в — каменка с баком для воды и воздушным зазором в стенке

Вход
Поиск по сайту
Ищем:
Календарь