Онлайн книга «Водоснабжение, канализация и отопление загородного дома»
|
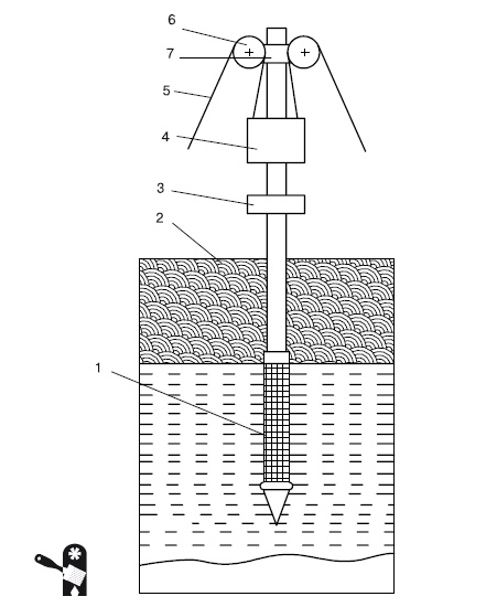
Для сооружения абиссинского колодца сначала бурится небольшая скважина – диаметром 0,2 м на глубину около 1 м (для бурения такой скважины подходит ручной садовый бур). Затем устанавливается абиссинская колонна (из фильтра и одной трубы), на которой закрепляется баба. Масса бабы – 25–30 кг. В верхней части колонны с помощью болтов укрепляется подбабок (стальной хомут). Расстояние от этого хомута до фильтра – около 1 м. Затем устанавливается второй хомут (с двумя блоками) – на расстоянии около 1–1,5 м от первого. ![]() Примечание Чтобы абиссинская колонна была устойчива, а забивка производилась строго вертикально, вокруг колонны в скважину насыпается грунт, который уплотняется, чтобы ограничить движение колонны в скважине. Баба поднимается с помощью веревок, и таким образом происходит забивка абиссинской колонны в грунт (Рис. 1.29). По мере углубления колонны хомуты двигаются по трубе вверх. Как только первая часть колонны заглублена в грунт, колонна доращивается следующей частью трубы и заглубление продолжается до тех пор, пока не появится вода. После того как колонна достигает водоносного слоя, воду следует откачивать из колодца до тех пор, пока она полностью не избавится от различных механических примесей. Абиссинский колодец хорош тем, что его очень просто соорудить – для этого не нужны специалисты, вполне можно справиться своими силами. Еще одним плюсом абиссинского колодца является возможность его демонтажа (демонтировать колодец так же просто, как и установить) и переноса на новое место (к примеру, в том случае, если источник в месте установки колодца иссяк). К недостаткам абиссинского колодца относится невозможность использования погружного насоса (он не соответствует диаметру применяемых труб) – приходится пользоваться ручным. Еще один минус абиссинского забивного колодца – его относительно небольшая глубина. Обычно такая скважина не превышает по глубине 10 м. Для того чтобы колодец был глубже, необходимо применять специализированное оборудование, и самостоятельно такую работу проделать практически невозможно (не столько из-за сложности оборудования, сколько из-за его отсутствия). Вода же на глубине до 10 м может не соответствовать санитарным нормам для употребления для бытовых нужд. Поэтому чаще всего абиссинские забивные колодцы используются для хозяйственных нужд и полива. ![]() Рис. 1.29.Забивка абиссинского колодца: 1 – сетчатый фильтр; 2 – труба; 3 – первый хомут (подбабок); 4 – баба; 5 – веревка; 6 – блок; 7 – второй хомут Бурение скважины
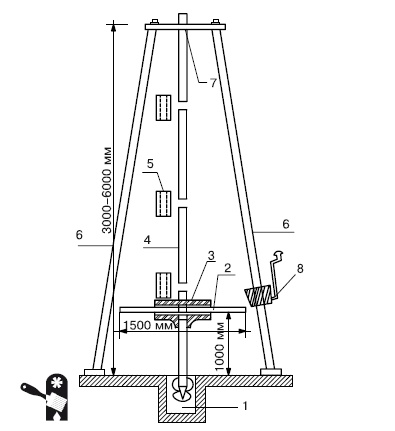
Для бурения скважины для сооружения трубчатого колодца требуются специальные инструменты и оборудование, поэтому подобные работы редко выполняются самостоятельно, даже если речь идет о неглубокой скважине на первый водоносный горизонт. Но при желании можно изготовить собственную буровую установку и провести работы своими силами (Рис. 1.30). Один из вариантов такой буровой установки приведен на рисунке ниже. Следует заметить, что подобная буровая установка будет эффективна только в том случае, если в почве нет большого количества камней. Для бурения скважин в каменистой почве требуются профессиональное оборудование и навыки работы с тяжелыми грунтами. ![]() Рис. 1.30.Самодельная буровая установка [6] : 1 – бур; 2 – вороток; 3 – тройник; 4 – штанга; 5 – муфта; 6 – вышка-тренога; 7 – отверстие; 8 – лебедка В такой самодельной установке используется наращиваемая штанга, что позволяет пробурить отверстие до 8 м. Если глубина водоносного слоя больше, то приходится использовать вышку-треногу (обычно достаточно треноги высотой 3–6 м, но бывает, что приходится использовать и большую). Перед тем как монтировать и опускать в скважину обсадные трубы, торец первой обсадной трубы заделывается наглухо и перфорируется на высоту до 2 м (в трубе насверливается множество отверстий – для притока воды). Чтобы предотвратить засор отверстий, перфорированная часть трубы оборачивается сеткой (сетчатый фильтр), также можно использовать стеклоткань (Рис. 1.31). ![]() Рис. 1.31.Нижняя обсадная труба скважины: 1 – забивной наконечник; 2 – перфорированная труба; 3 – сетка; 4 – труба; 5 – сухой грунт; 6 – водоносный слой Когда трубы смонтированы и опущены в скважину, над ними сооружается шатер и устраивается глиняный замок и отмостка (подобно тому как устраивается глиняный замок и отмостка для шахтных колодцев) (Рис. 1.32). ![]() Рис. 1.32.Шатер и глиняный замок с отмосткой для скважины: 1 – отмостка; 2 – отводная канава; 3 – насос; 4 – шатер Выбор труб для наружного водопровода
Согласно законодательству сооружение наружного водопровода можно осуществлять только при наличии специальной лицензии на проведение данного вида работ. Так что приходится приглашать специалистов, у которых такая лицензия имеется. Но за владельцем участка и дома остается выбор труб для водопровода – весьма важное решение, от которого зависит не только стоимость сооружения наружного водопровода, но и последующие эксплуатационные расходы на водоснабжение дома. При выборе труб следует учитывать такие параметры, как: ✓ прочность (изнутри на стенки трубы оказывает воздействие давление воды, снаружи – слой грунта, также возможны сезонные подвижки грунта и другие механические воздействия); ✓ долговечность; ✓ гладкость внутренних стенок (этот показатель влияет на напор воды в системе водопровода, а также на возможность появления различных отложений на стенках труб, в том числе и загрязняющих воду); ✓ водонепроницаемость; ✓ наименьшую подверженность коррозии (данный показатель означает не только долговечность водопроводной системы, но и возможность попадания в воду посторонних и вредных частиц); |
![Иллюстрация к книге — Водоснабжение, канализация и отопление загородного дома [i_055.jpg] Иллюстрация к книге — Водоснабжение, канализация и отопление загородного дома [i_055.jpg]](img/book_covers/049/49376/i_055.jpg)
![Иллюстрация к книге — Водоснабжение, канализация и отопление загородного дома [i_056.jpg] Иллюстрация к книге — Водоснабжение, канализация и отопление загородного дома [i_056.jpg]](img/book_covers/049/49376/i_056.jpg)
![Иллюстрация к книге — Водоснабжение, канализация и отопление загородного дома [i_057.jpg] Иллюстрация к книге — Водоснабжение, канализация и отопление загородного дома [i_057.jpg]](img/book_covers/049/49376/i_057.jpg)
![Иллюстрация к книге — Водоснабжение, канализация и отопление загородного дома [i_058.jpg] Иллюстрация к книге — Водоснабжение, канализация и отопление загородного дома [i_058.jpg]](img/book_covers/049/49376/i_058.jpg)
![Иллюстрация к книге — Водоснабжение, канализация и отопление загородного дома [i_059.jpg] Иллюстрация к книге — Водоснабжение, канализация и отопление загородного дома [i_059.jpg]](img/book_covers/049/49376/i_059.jpg)