Онлайн книга «Водоснабжение, канализация и отопление загородного дома»
|
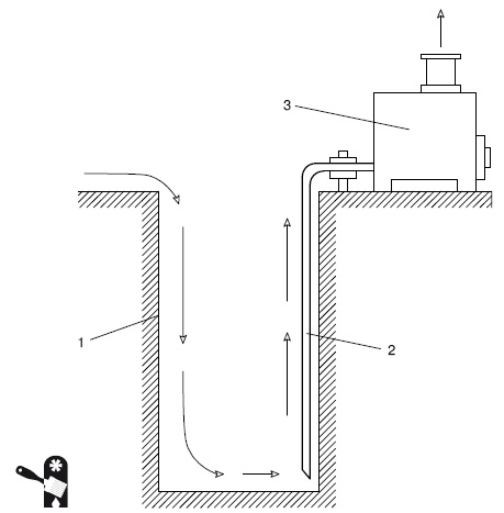
Чистка и дезинфекция эксплуатирующихся колодцев выполняется регулярно, но определенных сроков, когда следует проводить такие мероприятия, не существует. Все делается по мере надобности. Есть несколько признаков, по которым можно понять, что колодец необходимо почистить и продезинфицировать: ✓ только что построенное сооружение перед началом эксплуатации; ✓ снижение уровня воды в колодезной шахте (подобное может быть связано со снижением уровня грунтовых вод); ✓ помутнение воды, появление взвесей (возможно, неэффективен колодезный фильтр или произошла разгерметизация швов колодезной шахты и происходит инфильтрация колодца поверхностными водами); ✓ застой, затхлость воды (подобное происходит, если колодцем долго не пользовались, откачка воды со сменой ее свежей не происходила); ✓ неприятный запах и вкус воды (может быть связано с попаданием в колодец канализационных стоков – если колодец построен с нарушениями нормативов, поблизости от выгребной ямы и т. д., а также может случиться во время сильных весенних паводков); ✓ попадание в колодец животных или мусора (нередко случается, если забывают закрыть крышку колодца). Для чистки стенок шахты колодца используют веники из березовых прутьев и/или металлические щетки. Очищать стенки нужно как можно более тщательно, удаляя с них скопившуюся слизь, ил, различные осадки. При обычной эксплуатации, если не забывать закрывать крышку колодца, вовремя откачивать воду и следить, чтобы в колодец не попадали посторонние предметы, чистка и дезинфекция требуются раз в два-три года. Однако желательно раз в год делать анализ колодезной воды – чтобы гарантировать ее качество, безопасность для здоровья. Следует учитывать, что далеко не всегда можно заметить некачественность воды по внешним признакам: внешне вполне хорошая, чистая вода, не обладающая ни неприятным вкусом, ни запахом, может оказаться непригодной для питья (табл. 1.4). Таблица 1.4. Показатели качества питьевой воды [5] ![]() При чистке колодца следует учитывать возможность образования в шахте вредных газов. Особенно это касается глубоких колодцев. Проверку колодезной шахты на наличие вредных газов производят с помощью газоанализатора. Но прибор не у каждого есть под рукой, и можно обойтись подручными средствами. Старинный надежный способ проверки того, есть ли в колодце газы, – спустить в шахту горящую свечу. Если свеча погасла – газы есть (такие газы вытесняют кислород, а без кислорода горение невозможно). В этом случае шахту необходимо предварительно очистить от газов, и только затем возможен спуск в колодец человека для выполнения работ. Чаще всего для очистки шахты колодца от газа пользуются вымахиванием. Этот метод хорош тем, что не требует никакого оборудования, приборов и специальной подготовки. Достаточно иметь связку соломы или травы, которую опускают на веревке в шахту. Такая связка должна практически полностью перекрывать шахту колодца, но так, чтобы имелась возможность ее быстро опускать и поднимать. Несколько частых спусков и подъемов связки – и шахта очищается. Для окончательной очистки нужно опустить в колодец связку горящей соломы – таким образом выжигаются остатки газа. Затем опять следует проверить шахту свечой, и только в том случае, если она не гаснет, в шахту может спускаться человек для работы. Если свеча гаснет или неожиданно вспыхивает, то нужно повторить очистку еще раз, пока из шахты полностью не удалятся все вредные газы. Можно откачать воздух из колодца(вместе с вредными газами), используя мощный пылесос или вытяжной вентилятор. После откачивания воздуха производится проверка шахты с помощью свечи. Вытяжка газа может быть осуществлена с помощью печки-буржуйки. Этот способ считается одним из самых надежных и применяется с давних пор (Рис. 1.25). Печка устанавливается на поверхности, нижний конец трубы, присоединенной к поддувалу, опускается в колодезную шахту. При топке печки возникает тяга, которая и выводит из колодца вредные газы. Вместо буржуйки можно использовать металлическую бочку, присоединив к ней трубу для вентиляции. Случается, что газы просачиваются в колодезную шахту постоянно, и у работающего в ней человека начинаются головные боли, слезятся глаза и т. д. Если подобное происходит, то работать в шахте можно только при функционирующей системе удаления газов, то есть при работающей печи. ![]() Внимание Перед спуском в шахту человека следует тщательно проверить подъемный механизм, испытать веревку на прочность с трехкратной перегрузкой. Человек должен обвязаться веревкой у пояса и под мышками, чтобы его могли поднять в случае экстренной ситуации. Самый простой и эффективный способ дезинфекции – с помощью хлорированной воды. Для этого нужно приготовить 3 %-ный раствор: 300 г хлорной извести заливается небольшим количеством холодной воды и тщательно растирается так, чтобы образовалась жидкая кашица без комков (смесь должна быть однородной), затем полученная кашица вливается в 10 л воды и отстаивается до разделения на прозрачную фракцию и осадок. Для дезинфекции используется прозрачная фракция (аккуратно сливается, чтобы не примешать осадок). ![]() Рис. 1.25.Удаление из колодца вредных газов с помощью печки: 1 – колодезная шахта; 2 – вентиляционная труба; 3 – печка ![]() Внимание При приготовлении раствора обратите внимание на хлорную известь. Наличие этикетки еще не означает, что вещество хорошего качества. При неправильном и/или длительном хранении хлорная известь может впитать влагу из воздуха, в этом случае дезинфицирующие свойства утрачиваются. При впитывании влаги хлорная известь теряет характерный запах хлора и приобретает вид кашицы. Качественная хлорная известь пахнет хлором и имеет вид порошка (этот порошок должен быть сухим!). Норма расхода раствора для дезинфекции: на 1 м 3воды требуется 1 ведро раствора. Для определения объема воды в колодце используем элементарную математику: объем определяется как произведение глубины воды на площадь водяного зеркала: |
![Иллюстрация к книге — Водоснабжение, канализация и отопление загородного дома [i_044.jpg] Иллюстрация к книге — Водоснабжение, канализация и отопление загородного дома [i_044.jpg]](img/book_covers/049/49376/i_044.jpg)
![Иллюстрация к книге — Водоснабжение, канализация и отопление загородного дома [i_045.jpg] Иллюстрация к книге — Водоснабжение, канализация и отопление загородного дома [i_045.jpg]](img/book_covers/049/49376/i_045.jpg)
![Иллюстрация к книге — Водоснабжение, канализация и отопление загородного дома [i_046.jpg] Иллюстрация к книге — Водоснабжение, канализация и отопление загородного дома [i_046.jpg]](img/book_covers/049/49376/i_046.jpg)
![Иллюстрация к книге — Водоснабжение, канализация и отопление загородного дома [i_047.jpg] Иллюстрация к книге — Водоснабжение, канализация и отопление загородного дома [i_047.jpg]](img/book_covers/049/49376/i_047.jpg)