Книга Водоснабжение, канализация и отопление загородного дома, страница 20 – Иван Никитко

Авторы: А Б В Г Д Е Ж З И Й К Л М Н О П Р С Т У Ф Х Ч Ш Ы Э Ю Я
Книги: А Б В Г Д Е Ж З И Й К Л М Н О П Р С Т У Ф Х Ц Ч Ш Щ Ы Э Ю Я
Бесплатная онлайн библиотека LoveRead.in

Онлайн книга «Водоснабжение, канализация и отопление загородного дома»

📃 Cтраница 20
Иллюстрация к книге — Водоснабжение, канализация и отопление загородного дома [i_061.jpg]

Примечание

Фитингами называются крепежные части водопровода, которые устанавливаются в местах соединений, разветвлений и поворотов труб.

Внутренний водопровод

Внутренний водопровод предназначен для обслуживания основных сантехнических узлов в доме. Это система, включающая в себя водомерные и разводящие узлы, стояки, вводы в дом (обычно имеются два ввода), подводки к санитарным устройствам (краны, сливные бачки и т. д.), различные насосные установки, если в них есть необходимость.

В зависимости от расположения магистральных трубопроводов, водопроводы бывают с нижней и верхней разводкой. Тип внутреннего водопровода следует выбирать с учетом условий подачи и расхода воды, размещения водоподающих установок (Рис. 1.33).

При нижней разводке трубы помещают в подвальном помещении здания. Если дом имеет два и более этажа, санитарно-технические устройства и соответствующая водоразборная арматура обычно размещаются строго друг над другом (при этом прокладка трубопроводов идет по кратчайшей траектории). Но в частном загородном доме кратчайшая траектория не является обязательным условием, ведь санитарно-технические устройства на разных этажах могут быть различными (например, на первом этаже располагаются кухня, туалет, ванная комната с душевой кабиной и ванной, а на втором – ванная комната только с душевой кабиной и туалет, причем эти помещения примыкают к спальной комнате). Так что кратчайшую траекторию приходится рассчитывать, исходя из пожеланий в размещении устройств и водоразборной арматуры.

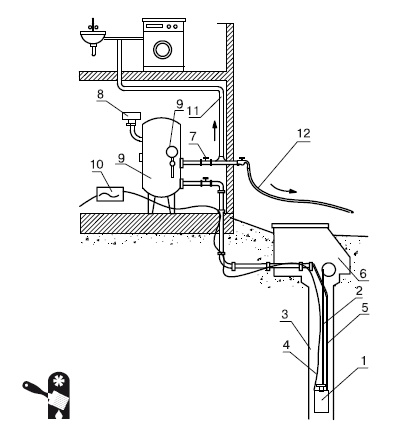
Иллюстрация к книге — Водоснабжение, канализация и отопление загородного дома [i_062.jpg]

Рис. 1.33.Водоснабжение загородного дома от скважины: 1 – погружной насос для подъема воды из скважины; 2 – стальной трос; 3 – скважина; 4 – электрический кабель; 5 – водопроводный шланг; 6 – приямок; 7 – запорный вентиль; 8 – реле давления; 9 – манометр; 10 – напорный гидробак; 11 – трубы внутреннего водопровода; 12 – вывод воды для использования на участке


Системы водоснабжения различаются в зависимости от требуемого напора:

✓ система под напором – не рекомендуется к применению, если в наружном водопроводе нет гарантии наличия стабильного напора (например, в случае подключения загородного дома к централизованной системе водоснабжения, которая работает не слишком стабильно) – чтобы система под напором работала, напор наружного водопровода должен либо превышать тот напор, который необходим для работы всех водоразборных точек в доме, либо равняться ему; к плюсам такой системы относится ее простота, обычно она используется в малоэтажном строительстве (до 5–6 этажей);

✓ система с водонапорным баком – считается устаревшей и применяется все реже, обычно ее используют, если напор в точках водоразбора нестабилен и превышает нужный при небольшом водопотреблении, а при активном – его не хватает; основной недостаток системы с водонапорным баком – наличие бака, который устанавливается под крышей дома, что требует соответствующего усиления перекрытий, а в некоторых случаях и фундамента;

✓ повысительные насосные установки – используются в случае, если водопотребление является равномерным, а напор в наружном водопроводе недостаточен (подобное обычно относится к случаю подключения к централизованной системе водоснабжения); плюсом такой системы является то, что для нее не требуется ни усиливать перекрытия, ни перестраивать фундамент, установка располагается в подвале и не занимает много места;

✓ водонапорный бак с повысительной насосной установкой – повысительная насосная установка дополняется водонапорным баком в том случае, если водопотребление неравномерно и требуется накопление воды в баке-аккумуляторе для обеспечения нормального напора в час пик;

✓ водонасосная (пневматическая) система с повысительными насосными установками – применяется в многоэтажном строительстве, оборудование является и дорогим, и сложным, для индивидуальных загородных домов нерентабельно.

Глава 2
Канализация загородного дома

Практически любая система канализации (за исключением «удобств во дворе») является частью системы водоснабжения (водопотребления). Если нет возможности сброса и обеззараживания сточных вод, то невозможно и установить водопровод. Да, можно не подключаться к канализации, а под раковину попросту поставить ведро, чтобы собирать в него использованную при умывании или мытье посуды воду. Но ведь эту грязную воду все равно потребуется куда-то деть! Так что без канализации в том или ином виде не обойтись.

В самом общем виде система канализации предназначена для удаления и очистки продуктов жизнедеятельности человека (бытовых и промышленных отходов, как твердых, так и жидких), а также возвращения их после очистки в водоемы или для вторичного использования. Вторичное использование в случае бытовых отходов в канализации жилого дома применяется редко. Кроме того, в ведении канализационной системы находится и отвод талых и дождевых вод – то, что называется ливневой канализацией. Если же ливневая канализация хотя бы в самом простом виде не предусмотрена, то это может привести не только к заболачиванию участка, вымыванию его плодородного слоя, потере внешней привлекательности участка, но и к затоплению подвала дома, преждевременному разрушению цоколя, фундамента и даже стен дома.

В квартире многоквартирного городского дома человек обычно имеет дело только с одной частью системы канализации – с той, что расположена внутри квартиры (унитаз, раковина, ванна, стояк и т. д.). Все эти оборудование, приспособления и сооружения, которые собирают сточные воды внутри здания и выводят их наружу, называются внутренней канализацией.

Назначение внешней канализации– доставлять собранные сточные воды от зданий к месту сброса или очистки. К системе внешней канализации относятся уличные и внутридворовые сети и коллекторы. Элементами системы являются колодцы, трубопроводы, насосные станции, очистные сооружения, выпуски в водоприемники.

Владельцу загородного дома приходится беспокоиться о наличии не только внутренней канализационной системы, но и внешней – по крайней мере в той ее части, которая относится к его дому. А если речь идет об устройстве автономной, локальной системы канализации, то в ведении владельца загородного дома оказывается полностью как внутренняя, так и внешняя канализационная система.

Канализационные системы различаются по виду собираемых стоков следующим образом:

✓ ливневая канализация – этот вид канализационной системы предназначен для сбора атмосферных осадков;

✓ промышленная канализация – предназначена для очистки производственных стоков и используется на промышленных предприятиях;

Вход
Поиск по сайту
Ищем:
Календарь