Книга Кости: внутри и снаружи, страница 34 – Рой Милз

Авторы: А Б В Г Д Е Ж З И Й К Л М Н О П Р С Т У Ф Х Ч Ш Ы Э Ю Я
Книги: А Б В Г Д Е Ж З И Й К Л М Н О П Р С Т У Ф Х Ц Ч Ш Щ Ы Э Ю Я
Бесплатная онлайн библиотека LoveRead.in

Онлайн книга «Кости: внутри и снаружи»

📃 Cтраница 34
Иллюстрация к книге — Кости: внутри и снаружи [i_043.jpg]

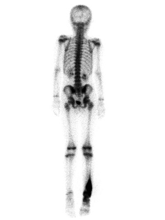
На этой остеосцинтиграмме (вид сзади) определяется повышенное накопление радиоизотопа в правой голени подростка, что характерно для активно растущей опухоли кости. Вид симметричных областей накоплений в коленных, плечевых и запястных суставах типичен для нормального развития скелета

David A. Rubin, MD, Сент-Луис, Миссури, США


МРТ может выявить проблемы в мягких тканях, через которые рентгеновские лучи проходят насквозь, не создавая теней. Это исследование особенно полезно, когда бедный кальцием орган – скажем, мозг или сердце – скрыт в костной коробке, например черепе или грудной клетке. Метод МРТ применяют для диагностики заболеваний связок, хрящей и сухожилий плечевого, тазобедренного и коленного суставов, где из-за большого количества костной ткани рентгеновские снимки получаются менее детализированными.

МРТ позволяет избежать проблем, связанных с радиацией, однако и эта процедура не всегда безопасна. Мощность магнитов такова, что, бывало, металлические стулья и баллоны с кислородом летали по всему кабинету, вызывая катастрофические последствия. То же самое касается и металлических деталей внутри организма: если у вас металлический имплантат в ухе, кардиостимулятор, протез сустава или пластина с винтами, делать МРТ – плохая идея. Следует отметить, что в обширных исследованиях на животных и человеке не обнаружено вредного воздействия МРТ на организм, однако в первые три месяца беременности рекомендуется выбрать другой способ диагностики.

Самые большие сложности, сопровождающие процедуру МРТ, связаны отнюдь не с физикой, а с психикой – и во время обследования, и после него. Я начну с тех проблем, которые при необходимости можно решить с помощью лекарств. Чтобы заставить протоны колебаться, магниты томографа должны находиться рядом с телом пациента. Из-за этого пациентам приходится забираться в узкую трубу и некоторое время лежать абсолютно неподвижно, пока в непосредственной близости громко шумит аппарат. Даже мысль об этом вызывает у меня приступ клаустрофобии. Детям и многим взрослым, безусловно, нужно принимать успокоительные, чтобы снимки получились качественными.

Со второй группой проблем тоже можно было бы справиться с помощью лекарственных препаратов, но большинство людей не испытывает энтузиазма по поводу массового назначения успокоительных, так что остается только просвещение. МРТ, как и КТ, окружает ореол принадлежности к высоким технологиям, и некоторые врачи назначают этот вид диагностики, когда другие методы обследования ни к чему не приводят. Иногда пациенты просят и даже требуют направить их на МРТ, будучи уверенными, что нежелание врача сделать это – признак медицинской некомпетентности и недостаточного усердия. На самом деле неизбирательное применение передовых методов визуализации, будь то КТ или МРТ, вряд ли поможет найти иголку в стоге сена, зато обнаружит совершенно нормальные соломинки, которые кажутся недостаточно идеальными. Такие случайные находки повышают тревожность, заставляют людей проходить повторные исследования, сдавать анализы, подвергаться биопсии и лечить вполне естественные состояния, которые лучше было бы не выявлять, а просто игнорировать. Ненужная диагностика ведет к ненужному лечению, сопряженному с массой медицинских и финансовых рисков. Так что информирование об ограничениях МРТ имеет первостепенную важность.

Еще одна методика визуализации скелетно-мышечной системы – ультразвуковое исследование (УЗИ). Принцип УЗИ в корне отличается от описанных выше методов диагностики. Если крикнуть в каньон, раздастся эхо. Аналогичным образом от наших мягких тканей и костей отражаются звуковые волны высокой частоты. Разные ткани отражают эти звуковые волны по-разному, и на этой основе аппарат создает изображение внутренних органов. При правильном применении ультразвук безопасен даже для плода в утробе матери и, по сравнению с другими методиками визуализации, не вызывает приступов клаустрофобии или проблем с радиоактивным облучением. Звук не может пройти через костную ткань и просто отражается от ее поверхности, поэтому исследование выявляет только поверхностные опухоли и инфекции. Ортопеды прибегают к УЗИ, чтобы увидеть мышцы, сухожилия и связки, но об этом мы поговорим в другой раз.

Еще один способ получить изображение кости – посмотреть на нее через микроскоп или сфотографировать с помощью микроскопа. Разумеется, сначала следует вынуть костную ткань путем биопсии или аутопсии [44]. Ученые активно используют микроскоп с момента его изобретения (а этому прибору более трехсот пятидесяти лет), но из-за того, что кость жесткая, рассмотреть ее под микроскопом непросто.

Чтобы применить световой микроскоп, нужно сделать срез исследуемого объекта – настолько тонкий, что через него будет проходить свет. Толщина слоя биологического образца должна равняться размеру одной клетки. Мягкие ткани погружают в парафин или замораживают, затем срезают ломтик толщиной в паутинку и кладут его на предметное стекло. Кость сразу сломает лезвие, поэтому используется другая тактика. Можно на несколько недель замочить кость в кислоте и дождаться, пока из нее уйдет кальций, а потом погрузить то, что останется от кости, в парафин и сделать срез. Другой способ – окунуть образец в эпоксидную смолу и после застывания нарезать его на мощном станке с таким жестким, тяжелым и острым лезвием, что оно будет резать кость, как масло. Третий вариант – стачивать образец кости до тех пор, пока он не начнет пропускать свет. Во всех трех случаях при подготовке материала к исследованию добавляют определенные химические вещества, которые окрашивают различные составляющие костного образца и позволяют выявить внутриклеточные компоненты, в том числе коллаген и ядра.

В традиционных микроскопах для увеличения и фокусировки применяются стеклянные линзы, которые направляют свет и изображение на сетчатку глаза исследователя или в камеру. Микроскопы, которыми вы пользовались в школе или университете, способны увеличивать объект до пятисот раз и позволяют отлично рассмотреть остеобласты и остеокласты. Если надо приблизить изображение еще больше, ученые обращаются к электронным микроскопам. В этих устройствах магниты фокусируют пучок электронов, который одни части образца пропускают, а другие блокируют. Так возникает изображение. Длина волны в данном случае намного меньше, чем у видимого света (отличие как между тонким визгом и раскатом грома), поэтому электронные микроскопы бывают почти в тысячу раз мощнее, чем стандартные световые. В случае сканирующей (растровой) электронной микроскопии электроны отскакивают от поверхности трехмерных предметов, что позволяет получить потрясающие изображения – одно из них показано на рисунке в главе 4.

Трансмиссионный (просвечивающий) электронный микроскоп, как и световой, передает двухмерные изображения, зато подходит для гораздо меньших по размеру объектов, в том числе отдельных коллагеновых волокон. А можно ли заглянуть в будущее и узнать, что ждет там живую кость?

Вход
Поиск по сайту
Ищем:
Календарь