Книга Как обустроить мансарду своими руками, страница 7 – Кирилл Балашов

Авторы: А Б В Г Д Е Ж З И Й К Л М Н О П Р С Т У Ф Х Ч Ш Ы Э Ю Я
Книги: А Б В Г Д Е Ж З И Й К Л М Н О П Р С Т У Ф Х Ц Ч Ш Щ Ы Э Ю Я
Бесплатная онлайн библиотека LoveRead.in

Онлайн книга «Как обустроить мансарду своими руками»

📃 Cтраница 7

Пленку раскатывают так, чтобы места нахлеста приходились именно на деревянные элементы, например, на стропила, дистанционные бруски или рейки контр-обрешетки. Если крыша вальмовая или шатровая, то пленку сначала укладывают вдоль оси конька. В случае, когда стропила и обрешетка пропитаны антисептическими составами, то перед креплением пленки необходимо убедиться в том, что пропитка полностью высохла.

Гидроизоляцию можно напылить изнутри кровли, для чего используют пенополиуретан. Это утеплитель, который может служить и гидроизоляцией, поскольку обладает высоким уровнем водостойкости. Этот материал дорог, требует спецоборудования для работы и соответствующих навыков.

Слой гидроизоляции должен несколько выступать за линию стен непосредственно около карниза и свеса крыши над фронтоном, причем выступ составляет минимум 20 см. С торцевой части конструкции пленку, обеспечивающую гидрозащиту строения, выводят по стропилам и закрепляют клейкой лентой. За счет этого вода, попадающая на пленку, покажет, в каком месте кровельные материалы получили повреждение.

Перфорированную пленку укладывают на поверхность крыши таким образом, чтобы перфорация ориентировалась наружу. Если уложить ее неправильной стороной, пленка будет пропускать воздух снаружи и не выпускать его изнутри. Определить правильную сторону очень легко – на ней имеется соответствующая надпись.

Такой материал не натягивают, он должен находиться с небольшим провисанием между стропилами. Величина провисания составляет приблизительно 20–30 мм. Это необходимо для того, чтобы не допустить возникновения натяжения и обрыва пленки, который может быть вызван сильным перепадом температур. Кроме того, из-за перепада влажности и разницы температур стропильная конструкция может немного увеличиться или уменьшиться в размерах. При использовании подобной пленки лучше всего расстояние между стропилами оставлять от 1 до 1,3 м (рис. 12).

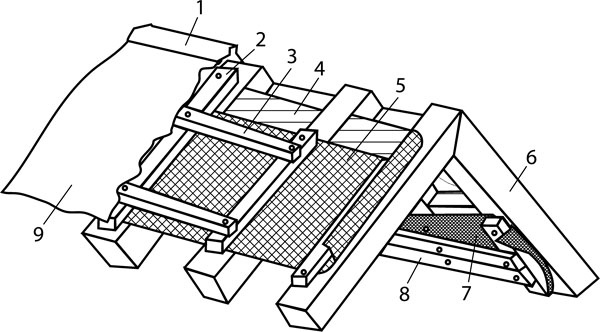
Иллюстрация к книге — Как обустроить мансарду своими руками [r12.jpg]

Рисунок 12. Конструкция стропил с укладкой одновременно паро– и теплоизоляционного слоя: 1 – конек, 2 – рейка, 3 – контррейка, 4 – утеплитель, 5 – гидроизоляция, 6 – стропила, 7 – пароизоляция, 8 – внутренняя отделка, 9 – кровельное покрытие


Пленку, не допускающую образования конденсата, допустимо натягивать только в сухую погоду. Работы можно производить после того, как стропильная система крыши полностью собрана и весь утеплитель уложен. Пленку кладут на стропила по направлению от карниза к коньку крыши. Полотна укладывают внахлест так, чтобы впитывающая поверхность была направлена вниз. Для обеспечения нормального проветривания расстояние между нижней поверхностью пленки и утеплителем оставляют от 4 до 6 см. Нижний край пленки настилают таким образом, чтобы стекающая влага свободно уходила в водоотводной желоб.

Поверх пленочного слоя через каждые 10–15 см закрепляют бруски контробрешетки, причем их сечение должно составлять примерно 40 × 25 мм. Их прибивают вдоль стропил гвоздями или приворачивают саморезами. Сверху устанавливают обрешетку, на которую крепят кровельный материал.

Если планируется применение диффузионных мембран с высоким показателем паропроницаемости, то их помещают непосредственно на утеплитель, не продумывая оборудование нижнего зазора. Однако даже в этом случае нахлест полотен должен составлять минимум 20 мм. При этом вентиляционный зазор делают всего один – сверху в пространстве между мембраной и обрешеткой. Укладывают мембрану в строгом соответствии с инструкциями изготовителя. Специально окрашенную сторону кладут к поверхности утеплителя. Монтируют ее степлером и скобами или же гвоздями с оцинкованными шляпками. Стыки склеивают двухсторонней самоклеющейся пленкой, которая по своей структуре напоминает скотч. Используют ее для защиты от возникновения капиллярной влаги.

Диффузионные мембраны бывают объемного типа. Такой материал укладывают параллельно свесу карниза на сплошной настил. По верхней кромке мембрану крепят степлером или гвоздями, однако под скобы или гвозди подкладывают специальную уплотнительную прокладку. Следующую полосу настилают таким образом, чтобы она перекрывала место крепления на 7—10 см. Между собой полотна склеивают при помощи специального клея. Поверх пленки дополнительно наклеивают уплотнитель из пенополиуретана. Основное назначение такой пленки – обеспечение гидроизоляции на участках, где контробрешетка крепится к остальной конструкции.

При любом из рассмотренных способов утепления придется создавать вентиляцию подкровельного пространства. Сделать это довольно просто – достаточно лишь оставить коньковый продух. Чтобы воздух свободно проходил через конек, не давая образовываться там конденсату, гидроизоляцию не доводят до оси конька приблизительно на 5 см.

Если требуется переоборудовать чердак в мансарду, зачастую становится ясно, что гидроизоляционная мембрана, находящаяся непосредственно под кровлей, имеет высокий показатель паропроницаемости или же получила серьезные повреждения в процессе установки на окончательное место. Она пришла в негодность и более не способна обеспечить должный уровень защиты от влаги. Поэтому ее придется менять на новую. Однако сегодня появилась технология, позволяющая произвести замену, не разбирая при этом кровельное покрытие. Заменить можно мембрану изнутри мансарды между стропилами или же расположить гидро– и пароизоляцию под стропилами.

При установке материала между стропилами полотна новой мембраны закрепляют на стропилах и дополнительно прибивают деревянными планками. Между мембраной и обрешеткой, на которой находится кровельное покрытие, устанавливают дистанционные элементы, в качестве которых обычно выступают поливинилхлоридные трубки. Удобнее устанавливать их между каждой парой стропил, помещая приблизительно в центре. За счет этих дистанционных элементов мембрана натягивается таким образом, что на ее поверхности между стропилами образуется небольшой желоб. По нему и будет отводиться скапливающаяся влага. Он находится в центре, а не на участках, где новая мембрана примыкает к стропилам.

Подобный эффект возникает, если утеплитель, находящийся между стропил, надавливает на мембрану и изгибает ее по направлению к обрешетке. Необходимо так разработать систему отвода воды, чтобы она уходила за пределы строения. Для этого нужно тщательно подходить к выбору технологии установки мембраны неподалеку от водостока и карнизного свеса.

Такая укладка выполняется по нескольким основным технологиям:

• с обратной стороны ветровой доски прикрепляют дополнительный карнизный элемент, выполненный из жести. По его поверхности выпускают новую мембрану;

• ветровую доску закрепляют ниже, а над ней выводят новую мембрану, которую направляют непосредственно к водосточному желобу;

• над стропилами за софитом устанавливают дополнительный желоб, который отводит влагу с только что установленной мембраны (рис. 13).

Иллюстрация к книге — Как обустроить мансарду своими руками [r13.jpg]

Рисунок 13. Установка новой мембраны без разборки кровельного покрытия: а) мембрана между стропильными ногами, б) мембрана под стропилами, в) дополнительная планка карниза под ветровой доской, г) пониженная ветровая доска, д) дополнительный желоб; 1 – рейка контр-обрешетки, 2 – новая мембрана, 3 – дистанционный элемент, 4 – теплоизоляция, 5 – рейка обрешетки, 6 – планка, 7 – старая пленка, 8 – стропильная нога, 9 – пароизоляция, 10 – облицовка, 11 – каркас для облицовки, пришитый к балкам, 12 – кровельное покрытие, 13 – рейка обрешетки, 14 – мауэрлат, 15 – наружная стена, 16 – дополнительный жестяной карнизный элемент, 17 – ветровая доска, 18 – жестяной карнизный элемент, находящийся поверх ветровой доски под желобом, 19 – жестяной карнизный элемент, установленный по самому краю ската над желобом, 20 – пониженная ветровая доска, 21 – дополнительный желоб

Вход
Поиск по сайту
Ищем:
Календарь