Онлайн книга «Как обустроить мансарду своими руками»
|
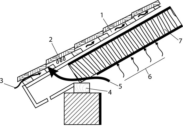
Если в качестве каркаса крыши выступает система стропил, то чаще всего утеплитель помещают сразу под кровлю между стропилами, иногда его кладут под стропила, а в некоторых случаях на них непосредственно под кровлей. Изоляцию в данном случае выполняют сплошной, в ней не делают просветов даже тогда, когда она примыкает к стенам, трубам и другим элементам, находящимся в плоскости крыши. Зачастую теплоизоляционный слой укладывают по наиболее простому способу – именно между стропилами. При укладке необходимо помнить, что изоляцию нужно делать сплошной и без просветов, так как на этом участке всегда будет образовываться мостик холода. Еще одним минусом подобного варианта станет образование конденсата, что с течением времени приведет к тому, что вся конструкция рухнет. Проблема, например, может возникать из-за неизолированного примыкания коленчатой стенки непосредственно к самой крыше. Как правило, материал, используемый для утепления стены, обычно не затрагивает мауэрлат, так как не доходит до него. Кроме того, если в качестве утеплителя выступает пенополистирол, то его еще и закрепить на основании весьма проблематично. Стоит отметить, что кровельный скат зачастую тоже утепляют только до мауэрлата (рис. 5). ![]() Рисунок 5. Утепление стропильной фермы: 1 – кровельное покрытие, 2 – стропило, 3 – ветроизоляция, 4 – гидроизоляция, 5 – пристропильник, 6 – кабель обогрева потока, 7 – лоток, 8 – вентилируемая воздушная прослойка, 9 – обивка, 10 – регулирующие брусья, 11 – ветроизоляция, 12 – теплоизоляция, 13 – пароизоляция, 14 – брусья каркаса Стрелки показывают путь, по которому распространяется тепло внутри помещения. Если мауэрлат не утеплять, то возникает очень мощный мост холода, через который из помещения будет уходить большое количество тепла. Чтобы не допустить этого, утеплитель скатов крыши заворачивают на сам мауэрлат. Его протягивают таким образом, чтобы он доходил до теплоизоляционного слоя наружной стены. Когда материалы, используемые в качестве утеплителей, соединяют друг с другом, надо очень внимательно следить за тем, чтобы они примыкали как можно более плотно. На этих участках рекомендуется пропустить арматуру или же соорудить армирующую сетку. Их отделывают таким образом, чтобы туда не могла проникнуть дождевая вода. В конструкции скатной крыши участок стыка находится под карнизом. Если же крыша плоская, то от проникновения дождевой воды стыки защищают с помощью жестяных фартуков и уплотняющей ленты из полиуретана (рис. 6). ![]() Рисунок 6. Утепление и пароизоляционный слой кровельной конструкции: 1 – вентилируемый зазор, 2 – конденсат, 3 – вентиляция через карнизный свес, 4 – мауэрлат, 5 – теплопотери и выход пара, 6 – испарения из помещения, 7 – утеплитель Придется принять во внимание, что для создания системы вентиляции при изготовлении утепленной крыши потребуется воздушный зазор. Его ширина будет зависеть от выбранного профиля и материала, из которого выполнена кровля. Если она сделана из профилированных листов оцинкованной стали, металлочерепицы, глиняной черепицы и прочих материалов волнистого типа, то толщину воздушной прослойки выбирают равную минимум 25 мм на всех участках кровли (рис. 7). ![]() Рисунок 7. Сооружение кровли с паро-, гидроизоляцией и системой подкровельной вентиляции: 1 – вентиляционная щель, 2 – обрешетка, 3 – контробрешетка, 4 – кровельное покрытие, 5 – снегозадержатель, 6 – карнизная планка, 7 – теплоизоляция, 8 – гидроизоляция, 9 – стропильная нога, 10 – пароизоляция Чтобы в зазоре, предназначенном для создания вентиляционного пространства, воздух свободно мог циркулировать при собственной тяге, отверстия делают на различной высоте. Это позволяет получить перепад давлений. В основании ската выполняют продухи, а вблизи конька кладут специальную вентиляционную черепицу. Если же такой материал отсутствует, то перед установкой конька предусматривают несколько зазоров. При сооружении теплоизоляционных слоев между стропил лучше всего применять их на всю глубину. Для того чтобы получить максимально возможное сопротивление теплопередаче, теплоизоляционный слой делают толщиной не менее 20 см. Основные нормы, касающиеся теплозащиты ограждающих установок, к которым относятся в том числе и кровли, указаны в строительных нормах и правилах 23-02-2003 «Тепловая защита зданий». В этом нормативном документе приняты во внимание среднегодовая температура и приблизительная продолжительность отопительного сезона в каждом регионе нашей страны. При разрезании листов минеральной ваты или другого утеплителя на нужные части с каждой стороны надо взять как минимум на 5 см больше необходимого размера – щелей оставаться не должно. Заделывать их монтажной пеной нельзя. Слой ваты такой толщины может не поместиться между стропилами, которые указаны в проекте. Их можно нарастить, однако существует и иной вариант – соорудить систему двухслойного утепления. В данной конструкции одну часть утепляющего материала кладут между стропил, а другую настилают под ними (рис. 8). ![]() Рисунок 8. Производство системы двухслойного утепления с усиленной конструкцией: 1 – черепица, 2 – утеплитель, 3 – стропила, 4 – пароизоляция, 5 – ветровлагозащитная мембрана, 6 – контробрешетка, 7 – поперечная обрешетка Чтобы добиться подобного эффекта, необходимо после выполнения основного слоя теплоизоляционного материала снизу к стропилам прикрепить обрешетку и заполнить ее более тонким слоем минеральной ваты. Обычно его толщина не превышает 5 см. При сооружении этого слоя надо перекрыть горизонтальные швы верхнего слоя. За счет этого удается получить прекрасное сопротивление теплопередаче. Дополнительно производят укрывание стропил, чтобы вокруг них не возникало мостиков холода. В зависимости от используемого теплоизоляционного материала толщина второго слоя будет находиться в промежутке от 3 до 10 см. Дополнительный каркас делают из деревянных брусков, пропитанных антисептическими материалами, или оцинкованных профилей. К стропильным ногам обрешетку прикрепляют оцинкованными шурупами или гвоздями. Когда укладка теплоизоляционных материалов завершена, приступают к креплению плит из гипсокартона либо других облицовочных материалов. Теплоизоляцию укладывают как выше, так и ниже стропил. При этом особое внимание уделяют качеству соединения отдельных элементов конструкции. Благодаря этому удается обеспечить непрерывность слоя утеплителя, который не даст возможности возникнуть мостикам холода непосредственно под кровельными материалами. Если утеплитель кладут ниже стропил, гидроизоляцию устанавливают поверх стропил. В этом случае отпадает необходимость в изготовлении сплошной деревянной обшивки. Вентиляционный зазор в результате получится на всю толщину стропил (рис. 9). |
![Иллюстрация к книге — Как обустроить мансарду своими руками [r5.jpg] Иллюстрация к книге — Как обустроить мансарду своими руками [r5.jpg]](img/book_covers/085/85510/r5.jpg)
![Иллюстрация к книге — Как обустроить мансарду своими руками [r6.jpg] Иллюстрация к книге — Как обустроить мансарду своими руками [r6.jpg]](img/book_covers/085/85510/r6.jpg)
![Иллюстрация к книге — Как обустроить мансарду своими руками [r7.jpg] Иллюстрация к книге — Как обустроить мансарду своими руками [r7.jpg]](img/book_covers/085/85510/r7.jpg)
![Иллюстрация к книге — Как обустроить мансарду своими руками [r8.jpg] Иллюстрация к книге — Как обустроить мансарду своими руками [r8.jpg]](img/book_covers/085/85510/r8.jpg)