Книга Как обустроить мансарду своими руками, страница 30 – Кирилл Балашов

Авторы: А Б В Г Д Е Ж З И Й К Л М Н О П Р С Т У Ф Х Ч Ш Ы Э Ю Я
Книги: А Б В Г Д Е Ж З И Й К Л М Н О П Р С Т У Ф Х Ц Ч Ш Щ Ы Э Ю Я
Бесплатная онлайн библиотека LoveRead.in

Онлайн книга «Как обустроить мансарду своими руками»

📃 Cтраница 30

Часто бывает так, что оконные переплеты перекашиваются. Это связано с растворением клея, который удерживает угловые вязки в статичном положении. Их закрепляют при помощи стальных угольников или косынок по обеим сторонам переплета. Однако перед началом таких работ все шиповые соединения следует тщательно проклеить.

Необходимо отметить, что мансардные окна, вытянутые по вертикали, должны быть одинаковой ширины, а окна, вытянутые по горизонтали, – одинаковой высоты. При этом их размер зависит от наклона крыши. Чем он больше, тем длина окна меньше.

При образовании между створками переплета в районе притвора крупных щелей снимают одну из створок, откручивают карты петель, на которых она удерживается, и удаляют старую древесину. После этого ее прижимают к притвору оставшейся створки и вычисляют размер зазора между коробкой и снятой створкой. Когда это сделано, подбирают рейку необходимого размера и плотно приклеивают ее к створке. Перед окончательной установкой на место створку опять примеряют и убирают все имеющиеся недочеты, затем вновь врезают петли и помещают створку на прежнее место.

Новые бруски оконной обвязки придется изготавливать только тогда, когда все старые пришли в совершенную негодность и их уже нельзя использовать. Для этой цели надо сделать новый брусок аналогичной формы и сечения. На нужных участках делают гнезда для петель, шипы и проушины. На них крепят оставшиеся бруски переплета. Перед сборкой конструкции выполняют сухую примерку и окончательную подгонку, затем сажают все на клей. Угловые соединения для большей прочности закрепляют с помощью нагелей.

Уплотнение

Бывает, что плотность нарушается у фальцев рамы. Чтобы исправить существующий недостаток, используют уплотнительную массу. Герметик наносят на фальц, закрывают его полиэтиленовой пленкой и разглаживают пальцами. После этого окно закрывают на сутки, пока вся масса герметика не станет твердой. Затем пленку удаляют.

Вместо герметика допустимо использовать уплотнительный профиль, выполненный из пористой резины. Такой материал является довольно эластичным, прочным, к тому же с его помощью можно создать дополнительный слой изоляции комнаты от внешней среды. Данная технология весьма удобна, так как щели очень редко бывают ровными. В большинстве случаев они различны по размеру на протяжении всей своей длины. Резиновый уплотнитель подбирают и подрезают так, как это требуется, по всему размеру щели. Вместо резины можно взять поролоновую ленту, однако ее придется заменять каждый год, потому что в течение сезона этот материал приходит в негодность.

Уплотнители могут быть самоклеющимися и без клеевой основы. Первыми пользоваться очень удобно, однако клей зачастую ограниченно годен. В связи с этим при покупке такого материала обращают внимание на дату изготовления и срок годности. Если изделие просрочено, то оно либо будет плохо приклеиваться, либо прослужит совсем недолго. При необходимости утепления окна, оснащенного сдвоенной рамой, подготавливают полоски тонкого брезента, которые крепят при помощи тонких гвоздей длиной не более 15 мм.

В мансардном окне (впрочем, как и в любом другом) имеет смысл использовать стеклопакет из закаленного стекла. Когда он разбивается, то разлетается на большое количество тупых осколков. При несчастных случаях это поможет избежать порезов.

Рамы раскрывают и к их внутренней стороне прибивают полоски брезента, предварительно сложенные вдвое. Гвозди прибивают через каждые 15–20 см. Там, где рамы соединяются петлями с основанием, полоски прибивать не нужно. Вместо брезента зачастую используют полоски поролона толщиной 5 мм и шириной около 40 мм. Надо помнить о том, что если окна будут часто открывать, поролон быстро износится и его придется менять на новый.

Стекла в рамах закрепляют как можно более плотно, чтобы они не шатались. Если упустить этот момент, то через имеющиеся щели будет регулярно уходить теплый воздух, а вместо него в помещение начнет проникать холодный воздух вместе с влагой и шумами. Бывает и такое, что недостаточно плотно закрепленное стекло под воздействием звуковых волн вступает с ними в резонанс. Оно начнет не препятствовать шуму, а дополнительно его усиливать.

Чтобы не допустить данные неприятности, стекло максимально прочно закрепляют в раме, а швы проходят герметичными составами. Принимают во внимание и то, что из-за механических воздействий и температурных колебаний как стекло, так и материал, из которого сделана оконная рама, могут давать усадку. В некоторых случаях материал расширяется, зачастую это происходит неодинаково и неравномерно.

Для герметизации стекол не следует применять такие жесткие средства, как растворы гипса или цемента, клеи и мастики. В идеале производить отделку надо полиуретановым или силиконовым герметиком. Эти материалы при взаимодействии с влагой воздуха становятся эластичными и водонепроницаемыми.

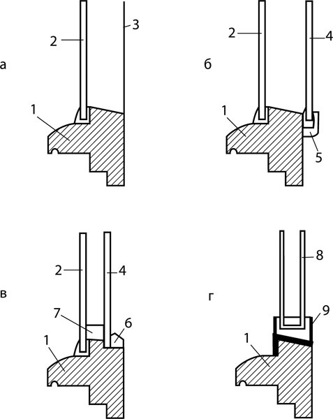
Чтобы увеличить теплоизоляционные характеристики стекол, можно устанавливать светопрозрачную пленку. Ее наклеивают на створки двухсторонней клейкой лентой (рис. 28).

Иллюстрация к книге — Как обустроить мансарду своими руками [r28.jpg]

Рисунок 28. Изготовление дополнительного слоя оконной теплоизоляции: а) натяжение прозрачной пленки, б), в) дополнительное остекление, г) установка стеклопакета; 1 – створка, 2 – основное стекло, 3 – прозрачная пленка, 4 – дополнительное стекло, 5 – дополнительный профиль, 6 – штапик, 7 – рейка из полипропилена, 8 – стеклопакет, 9 – крепежный профиль


Перед приклеиванием пленку надо хорошо натянуть. Для этого подойдет обычный бытовой фен. Под воздействием теплого воздуха пленка расширяется и хорошо натягивается, все складки при этом разглаживаются. Если крепить пленку в холодную или сухую погоду, то вероятность образования конденсата значительно снизится, из-за этого показатель влажности будет минимальным. Такой метод понижает теплопроницаемость деревянного окна примерно наполовину.

Система дополнительного остекления помогает соорудить более качественный слой теплоизоляции, однако на его установку придется потратить больше финансовых средств. Фиксировать лист стекла можно с помощью нескольких способов – устанавливать его в дополнительный профиль, который будет крепиться к старой раме при помощи шурупов или шарниров; в створке выбрать фальц, после чего стекло закрепить с помощью штапиков.

Старые оконные блоки вместе с петлями и створками должны обладать определенным показателем прочности, чтобы они могли выдержать дополнительное остекление. Чтобы создать улучшенные звукоизоляционные показатели, по периметру стекла прокладывают рейку из полипропилена или другого аналогичного материала.

Вместо одинарных стекол может быть установлен стеклопакет. Даже простая подобная конструкция позволяет сделать помещение мансарды сразу в несколько раз теплее по сравнению с обыкновенным одинарным стеклом. Чтобы добиться такого эффекта, поверхность фальца должна по толщине совпадать с формой профиля стеклопакета.

Вход
Поиск по сайту
Ищем:
Календарь