Книга Как обустроить мансарду своими руками, страница 28 – Кирилл Балашов

Авторы: А Б В Г Д Е Ж З И Й К Л М Н О П Р С Т У Ф Х Ч Ш Ы Э Ю Я
Книги: А Б В Г Д Е Ж З И Й К Л М Н О П Р С Т У Ф Х Ц Ч Ш Щ Ы Э Ю Я
Бесплатная онлайн библиотека LoveRead.in

Онлайн книга «Как обустроить мансарду своими руками»

📃 Cтраница 28
Иллюстрация к книге — Как обустроить мансарду своими руками [r25.jpg]

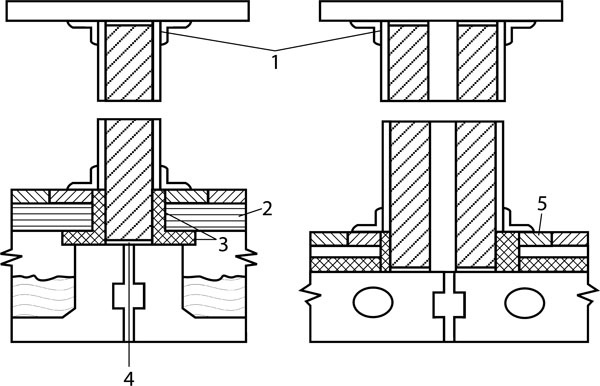
Рисунок 25. Схема установки однослойной и раздельной конструкции стены: 1 – конопатка, 2 – лага, 3 – упругие прокладки, 4 – раствор, 5 – стяжка


Если планируется установка такой конструкции поперек лаг или же по ребрам перекрытия, когда будет наблюдаться подпольное пространство, то для недопущения перехода воздушного шума через него под перегородкой устанавливают кирпичные диафрагмы по всей ее длине. Толщина диафрагмы должна совпадать с толщиной перегородки. Все щели тщательно проходят раствором.

Если мансардное помещение довольно старое и не способно выдержать масштабные ремонтные работы, можно обойтись простыми и легкими в применении технологиями. В случае, если конструкция панельная, то на участках соединения внутренней и наружной конструкции стены могут образовываться трещины. Один из наиболее простых методов снизить поступающий внутрь помещения шум – убрать слой обоев или же другого финишного отделочного материала и заполнить щель акриловым герметиком.

Бывает, что в качестве воздушных мостиков выступают электрические розетки, распределительные коробки. Они по старым технологиям выполнялись в сквозных отверстиях. Именно через них шумы проходили из одной комнаты в другую, не встречая препятствий. Чтобы устранить такой дефект, необходимо снять розетку или распределительную коробку (это нужно делать с соблюдением техники безопасности – обесточить ту ветку, к которой относится розетка), в отверстие поместить звукоизоляционный материал. Затем его надо покрыть слоем шпатлевки таким образом, чтобы в отверстии оставалось необходимое количество места для установки электрооборудования. Такая работа не слишком сложная, однако требует определенной аккуратности и знания основных принципов пожаробезопасности, поэтому лучше, если ее сделает электрик.

Если потолок или стены имеют встроенное осветительное оборудование, надо максимально плотно заделать швы и щели, так как из-за них возможно образование звукового мостика. Можно поступить гораздо проще – повесить на стену ковер с длинным ворсом, который будет закрывать всю поверхность. Зачастую даже такая незначительная звукоизоляция позволяет заметно снизить уровень шума.

Окна

Тепловой баланс мансардной конструкции в значительной степени зависит от того, как расположены оконные блоки. Если в окнах будут щели, то избежать сквозняка вряд ли удастся, особенно в холодное время года. Обыкновенные окна способны потерять примерно 40 % тепла здания. Такое положение вещей можно изменить, если у окон будут высокие показатели теплосохранности. Этого возможно добиться благодаря максимально точной подгонке переплета окна к коробке конструкции за счет использования профилей, оснащенных несколькими камерами, особого стекла, утепленных дистанционных рамок и прокладок, выполняющих дополнительную функцию уплотнителей.

Расположение, требования к освещенности

В настоящее время в продаже есть современные оконные системы, произведенные на базе стеклопакетов с прекрасным уплотнением швов. Благодаря установке такой конструкции можно снизить потери тепла примерно на две трети. Независимо от материала, из которого изготовлен оконный профиль (как правило, это пластик, поливинилхлорид или древесина), его толщина должна составлять минимум 70 мм. Это связано не столько с тем, что широкий профиль способен значительно лучше защитить помещение от потери тепла, сколько с возможностью установки максимально толстого стеклопакета.

Еще одной положительной характеристикой широкого оконного профиля является более стабильная конструкция окна, благодаря чему створки можно установить наиболее широкие. Однако при утеплении оконной конструкции надо помнить, что одного лишь увеличения толщины рамы недостаточно.

Пластиковые профили можно сделать более утепленными при установке шести– или даже восьмикамерных профилей. Сегодня чаще всего встречаются трехкамерные конструкции шириной порядка 60 мм. Зачастую профили производят из полиэфирного стеклопластика, куда даже не придется устанавливать армирующий профиль. Для дополнительной теплоизоляции камеры заполняют полиуретановой пеной. Восьмикамерные системы делают шириной 82 мм, за счет чего их устойчивость значительно выше, к тому же они практически не пропускают тепло.

Увеличить теплоизоляционные характеристики деревянных профилей значительно сложнее по сравнению с пластиковыми, однако деревянные конструкции являются более экологичными по сравнению с поливинилхлоридными материалами.

Перед установкой деревянного профиля нужно обязательно обратить внимание на сорт древесины, из которого сделано окно. Конструкция из мягкой сосновой древесины получается более теплой по сравнению с более жесткими и дорогими дубовыми материалами. Однако твердая древесина прекрасно сопротивляется воздействию микроорганизмов и вредителей. Внутри такого профиля находится теплоизоляционный уплотнитель, изготовленный из полиуретановой пены или иных композитных средств. Места, где коробки и створки соединяются друг с другом, нужно будет профилировать по особой технологии. В идеале они должны как можно плотнее находить друг на друга, чтобы между ними не образовывалось щелей. При этом следует обязательно принимать во внимание момент, связанный с сооружением водоотводного профиля. Его дополнительно изолируют от оконной коробки и створки. Лишь в этом случае не будут возникать мостики холода.

Мансардные окна бывают вертикальными (в выступающих коробах на скатах крыш) и наклонными (непосредственно в плоскости крыши). Первые мало распространены из-за неудобства эксплуатации, вторые более надежны и пропускают свет равномерно.

Обыкновенный стеклопакет включает в себя два стекла, которые в герметичном порядке соединены друг с другом. Между стеклами есть пространство или камера, которую заполняют воздухом. Если окно сделано по энергосберегающей технологии, то устанавливают пакеты не с двумя, а с тремя стеклами. В этом случае между ними пространство заполняют инертным газом – аргоном, криптоном или ксеноном, что в значительной степени увеличивает сопротивление теплопередаче, к тому же закачивание инертного газа позволяет увеличить звукоизоляционные характеристики теплопакета.

Толщина двухкамерного стеклопакета составляет от 36 до 44 мм. Чем большим будет расстояние между стеклами, тем более надежными теплоизоляционными характеристиками будет обладать окно. Чтобы еще снизить потери тела, стеклопакет устанавливают в специальный глубокий профиль, стекла разделяют при помощи теплой дистанционной рамки.

Более дешевые конструкции изготавливают из алюминиевого профиля. Теплопроводность его дистанционной рамки приводит к тому, что по краю стекла возникает конденсация пара. Это будет главным показателем того, что через профиль и стеклопакет уходит тепло.

Стекла зачастую покрывают низкоэмиссионным веществом, однако это понижает пропускаемость света. Такие стекла позволяют проникать в помещение только 75–85 % света. Этот показатель можно увеличить за счет полимерной мембраны, которая устанавливается в центральной части стеклопакета, заменяя среднее стекло в двухкамерных конструкциях. Пакет с мембраной получается тоньше других на пару миллиметров. Это очень важно при установке больших окон во фронтонных частях мансарды.

Вход
Поиск по сайту
Ищем:
Календарь