Книга Как обустроить мансарду своими руками, страница 14 – Кирилл Балашов

Авторы: А Б В Г Д Е Ж З И Й К Л М Н О П Р С Т У Ф Х Ч Ш Ы Э Ю Я
Книги: А Б В Г Д Е Ж З И Й К Л М Н О П Р С Т У Ф Х Ц Ч Ш Щ Ы Э Ю Я
Бесплатная онлайн библиотека LoveRead.in

Онлайн книга «Как обустроить мансарду своими руками»

📃 Cтраница 14

Такие системы нужно будет устраивать и при сооружении наружного утепления. Они также необходимы при соединении элементов теплоизоляции, изготовленных из различных материалов, и на месте, где уже оборудованы деформационные швы. Для их изготовления рекомендуется использовать специальные металлические элементы в форме буквы U. Вместо них можно взять цокольные профили, которые крепятся к стене в вертикальной плоскости.

Спустя двое суток после высыхания клея, удерживающего плиты на своем месте, утеплитель дополнительно соединяют с основанием специальными дюбелями. Дополнительный крепеж требуется для более качественной защиты системы от ветра. Дюбели применяют не только при использовании новой основы, но также в обязательном случае и тогда, когда высота мансарды превышает 8 м. Такой крепеж стоит не слишком дорого, однако он позволяет в несколько раз увеличить прочность теплоизоляционного слоя. Дюбели выбирают в зависимости от толщины материала, его типа. Кроме того, многие производители рекомендуют для своих плит специальные крепежные детали. В большинстве случаев применяют тарельчатые дюбели, расход которых – 4–5 шт. на 1 м2.

Рядом с угловой зоной утеплитель закрепляют бо́льшим количеством дюбелей, чем на ровной стене – до 7 шт. При забивании дюбелей нужно помнить о том, что их не утапливают в слой плит теплоизоляции слишком глубоко. Если не принять во внимание этот момент, места их размещения будут видны даже после нанесения штукатурного слоя, особенно во время резкого изменения режима температуры и влажности.

Окончательную отделку выполняют с помощью различных декоративных материалов, которые наносят на клеевой штукатурный состав, укрепленный армирующей сеткой, выполненной из стекловолокна. Сетку подбирают такую, чтобы она могла хорошо сопротивляться воздействию щелочных материалов. Ее плотность должна находиться в промежутке от 140 до 190 г/м2. Ее укладывают одним слоем так, чтобы получился небольшой перехлест между полотнами – не больше 10 см. За счет армирующей сетки удается добиться хороших механических свойств теплоизоляционного слоя. На плиты укладывают штукатурный слой толщиной около 5 мм, затем помещают сетку. Делают это аккуратно, чтобы на сетке не образовывались складки. Поверх этого слоя наносят еще один толщиной около 2 мм. При нанесении штукатурного раствора следят за тем, чтобы шляпки дюбелей скрывались под материалом, а армированный слой штукатурки хорошо соединялся с тарельчатой головкой дюбеля. Если армирующий слой будет слишком тонким, то в местах соединения плит штукатурка может растрескаться. В нижней части ее подравнивают, чтобы она шла строго по нижней кромке цокольного профиля.

Прежде чем приступить к окончательной декоративной отделке такого теплоизоляционного слоя, на армирующие материалы наносят специальные грунтовки, чтобы финишный слой держался значительно лучше.

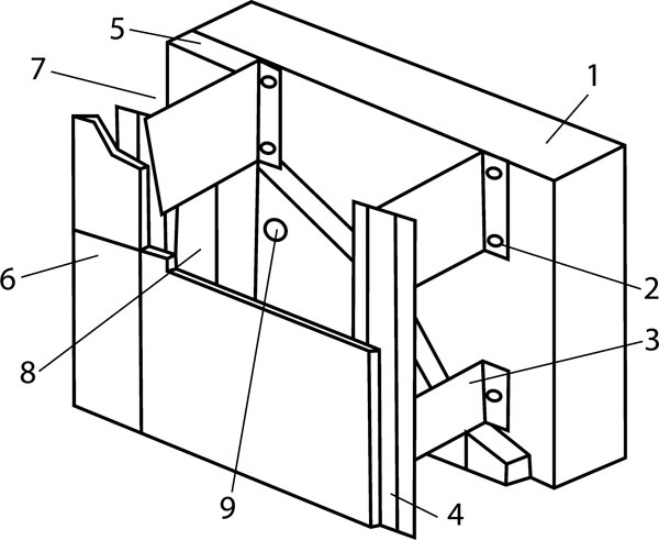
Конструкция данной отделки довольно проста и чем-то напоминает обшивку стен при помощи гипсокартона. К несущей стене крепят металлическую или деревянную конструкцию, поверх нее помещают внешнюю облицовку или фальшстену, состоящую из специального утеплителя и воздушной прослойки, необходимой для вентиляции всей системы (рис. 20).

Иллюстрация к книге — Как обустроить мансарду своими руками [r20.jpg]

Рисунок 20. Устройство навесного вентилируемого фасада, изготовленного на металлическом каркасе: 1 – несущая конструкция или стена, 2 – распорный анкер, 3 – кронштейн, 4 – направляющие, 5 – теплоизоляционные плиты, 6 – плиты защитной декоративной облицовки, 7 – воздушный зазор, 8 – вставка кронштейна, 9 – фасадный дюбель


В качестве утеплителя здесь используют минеральную вату, для облицовки применяют виниловый сайдинг, поливинилхлоридные панели, сайдинг, выполненный из металла или древесины, блокхаус.

Последний материал появился на рынке не так давно, однако встречается он достаточно часто. Блокхаус – это разновидность стеновых панелей, изготовленных из древесины. Внешне он напоминает оцилиндрованное бревно, однако в отличие от настоящего дерева блокхаус никогда не покроется слоем трещин, к тому же его поверхность идеально ровная.

По большому счету блокхаус представляет собой вагонку. Крепления у этих материалов аналогичны – это шип с пазом. Блокхаус оснащен воздуховодами, установленными с обратной стороны материала, они служат не только для создания дополнительного вентиляционного слоя, но и для снятия напряжения с древесины.

К достоинствам блокхауса можно отнести экологичность, высокую механическую прочность, замечательный внешний вид, небольшой вес, простоту монтажа. А к недостаткам причисляют низкую паропроницаемость, из-за чего между стеной и обшивкой образуется конденсат, и горючесть.

В качестве навесного вентилируемого фасада в некоторых случаях выступает керамогранит, натуральный или искусственный камень, плитки и панели, выполненные из керамики, фиброцемента и цементных плиток. Можно увидеть и кассеты из листовых материалов, а также из металлической облицовки, которая снаружи покрыта полимерными веществами. Стараются выбирать максимально легкие материалы, чтобы они не создавали дополнительной нагрузки на каркас, прикрепленный к капитальной стене строения.

Защитную облицовку устанавливают таким образом, чтобы ее элементы располагались не вплотную друг к другу, а с незначительным компенсационным зазором. Помимо этого, между слоем защитной облицовки и плитами, представляющими собой утепляющий материал, оставляют воздушный зазор толщиной минимум 60 мм. За счет воздушной прослойки и зазоров между частями облицовки диффузионная влага, просачивающаяся через наружную стену в виде водяного пара, не накапливается в утеплителе, а отводится за пределы мансарды. Это позволяет утеплителю сохранить свои основные технические характеристики.

Если же в район воздушной прослойки попала атмосферная влага, то это тоже не очень страшно, так как она отводится через щели между деталями обшивки. Стоит также отметить, что зазор между элементами облицовки делают еще и для того, чтобы она не начала разрушаться под воздействием перепада температур, а также для выравнивания давления воздуха.

В жаркое время года воздушная прослойка позволяет не допустить резкого нагрева здания. Навесной вентилируемый фасад весьма актуален даже для мансард, которые изготовлены из уже утепленных материалов – пенобетонных, газобетонных блоков, пустотелых керамических элементов и т. д. Благодаря новейшей системе конструкция получается дышащей, а также позволяет материалу, из которого выполнены стены, дышать, не накапливая в себе влагу. Еще одной положительной характеристикой является то, что данная конструкция представляет собой прекрасный звукоизолятор.

Вентилируемые фасадные системы бывают кассетными и реечными или линейными. Они представляют собой весьма эффективный утеплитель. Их применяют непосредственно при строительстве или же во время проведения ремонтных работ. К плюсам данного теплоизолятора относится то, что эти фасады можно устанавливать практически в любое время года, невзирая на погодные условия. Они очень долго служат, при этом их прочность находится на довольно высоком уровне, поэтому такие фасады не нуждаются в частых ремонтных работах и дополнительном уходе. В случае, если в ремонте все-таки возникла необходимость, то целиком разбирать фасад не придется – достаточно всего лишь заменить поврежденные элементы.

Вход
Поиск по сайту
Ищем:
Календарь