Книга Как обустроить мансарду своими руками, страница 12 – Кирилл Балашов

Авторы: А Б В Г Д Е Ж З И Й К Л М Н О П Р С Т У Ф Х Ч Ш Ы Э Ю Я
Книги: А Б В Г Д Е Ж З И Й К Л М Н О П Р С Т У Ф Х Ц Ч Ш Щ Ы Э Ю Я
Бесплатная онлайн библиотека LoveRead.in

Онлайн книга «Как обустроить мансарду своими руками»

📃 Cтраница 12
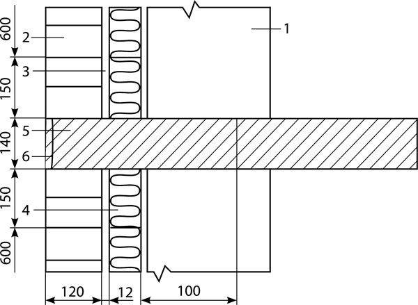
Иллюстрация к книге — Как обустроить мансарду своими руками [r17.jpg]

Рисунок 17. Изготовление несущего пояса в защитно-декоративной стенке: 1 – внутренняя часть стены, 2 – наружная защитно-декоративная кладка толщиной 120 мм, 3 – воздушный зазор, 4 – теплоизоляционные плиты, 5 – несущая балка-пояс, 6 – мастика


Чтобы не допустить образования мостика холода, который может появиться в районе несущей балки-пояса, в ней делают несколько отверстий и заполняют их теплоизоляционными материалами. Между кладкой и балкой помещают специальную уплотняющую прокладку диаметром 30 мм. Прокладка должна быть выполнена из вспененного полиэтилена, так как он хорошо сохраняет тепло и не пропускает водяной пар.

Для создания системы вентиляции как в верхней, так и в нижней части наружного слоя теплоизоляции делают отверстия площадью 150 см2 на каждые 20 м2 стены. Чтобы это сделать максимально эффективно, каждый 3-й или 4-й ряды кладки оставляют пустыми без раствора. Нижние отверстия в этом случае также помогут отвести влагу, если она все-таки будет образовываться.

Если планируется применять в качестве утеплителя плиты, изготовленные из пенополистирола с рифлением, то их устанавливают так, чтобы рифленая сторона максимально плотно прилегала к стене. Подобные плиты хорошо подходят для сооружения теплоизоляционного слоя и для недопущения возникновения конденсата. Наиболее идеальным вариантом является такой, при котором длина плит совпадает с шириной мансардного помещения. Короткие плиты собирают в конструкцию так, чтобы гребни и бороздки на разных экземплярах находились в одной плоскости.

За счет этих бороздок между слоями кладки возникает воздушный зазор, с помощью которого вся образующаяся влага будет выходить наружу, а обшивка будет поддерживаться в сухом виде. Надо отметить, что воздух должен проходить по этому зазору максимально свободно, не встречая на своем пути препятствий. Поэтому необходимо сделать цокольный профиль с отверстиями, обеспечивающими постоянный приток свежего воздуха снизу. В районе карнизного свеса проделывают еще ряд отверстий, которые будут отводить воздух за пределы конструкции.

Во внутреннем утеплении использовать пенополистирол не рекомендуется. Он горит и производит токсичный дым, от которого можно задохнуться за несколько минут, он не впитывает влагу, что приводит к образованию конденсата. Нужна принудительная вентиляция, иначе в помещении очень душно.

При использовании пенополистирола с рифленой поверхностью внутреннюю часть стены защищают ветроизоляционной пленкой. Благодаря использованию данного материала удается очень хорошо сохранить теплый воздух вблизи стены. Пленку закрепляют на поверхности стен, а пенополистирол в дальнейшем крепят поверх нее при помощи особых дюбелей с крупной головкой.

Чтобы не возводить такую сложную конструкцию, можно воспользоваться теплоэффективными блоками, которые недавно появились на рынке строительных материалов. В их структуре предусмотрено несколько слоев. Основа – керамзито– или газобетон плотностью 1000 кг/1 м3, далее идет утепляющая прослойка из пенополистирола, а также защитный и одновременно декоративный слой из бетона плотностью приблизительно 2400 кг/1 м3.

Структура данного материала такова, что прослойка из пенополистирола по высоте несколько меньше основы из газобетона, поэтому при выполнении кладки над ней образуются сплошные каналы воздуха. Основа прекрасно пропускает через себя как воздух, так и водяной пар, благодаря чему стены могут свободно дышать. Устройство данных блоков таково, что их не надо дополнительно утеплять разного рода фасадными материалами, к тому же они очень мало весят. Кладку выполняют при помощи специальных клеящих составов, оставляя между элементами швы толщиной не более 3 мм. Однако у этого материала есть один серьезный недостаток – он не обладает высокой несущей способностью, к тому же из-за постоянных нагрузок со стороны кровли и атмосферы он может несколько деформироваться. Если общая масса кровли будет довольно высокой, то при строительстве такого теплоизоляционного слоя ему потребуется специальный каркас из металла или железобетонных материалов.

Еще одна система получила название «мокрый фасад» – система теплоизоляции с нанесенным на нее штукатурным слоем. Эта технология также представляет собой трехслойный материал (рис. 18).

Иллюстрация к книге — Как обустроить мансарду своими руками [r18.jpg]

Рисунок 18. Технология внешней теплоизоляции «мокрый фасад»: 1 – клеящий раствор, 2 – теплоизоляционная плита, 3 – армированный раствор, 4 – сетка из стекловолокна, 5 – грунтовка, 6 – минеральная штукатурка, 7 – фасадная краска, 8 – цокольная планка, 9 – соединительный элемент цокольной планки, 10 – крепление цокольной планки, 11 – тарельчатый дюбель


Теплоизоляционный слой – это минераловатные плиты или пенополистирол. Базовый или армированный слой является штукатурно-клеевым составом, имеющим дополнительное усиление в виде стекловолоконной сетки, способной сопротивляться негативному воздействию щелочной среды. В качестве армирующей сетки можно взять и стальную проволоку. Хотя проволока и много весит, она весьма прочна, к тому же она выполняет несущую функцию. При использовании стальной проволоки конструкция получается довольно тяжелой и более сложной в исполнении. Также и стоимость ее достаточно высока.

Третий слой выполняет декоративные и защитные функции. В качестве него обычно используют фактурную штукатурку на минеральной, акриловой, силоксановой основе. Она хороша тем, что ее можно отделывать любыми красящими составами. Толщина слоя штукатурки может достигать 4 см, однако чаще всего встречается тонкослойная стена с утеплителем.

Ключевой положительной характеристикой данной системы является ее стоимость – она в итоге получится значительно дешевле по сравнению со слоистой кладкой. Кроме того, затраты на возведение опоры под этот слой теплоизоляции также сократятся, так как масса всей конструкции довольно легкая, нагрузка непосредственно на мансарду будет не слишком большой.

Использование данного типа теплоизоляции позволяет предохранить мансардное помещение от воздействия атмосферных осадков, ветра, промерзания, сезонных и суточных колебаний температуры. Такая технология не дает водяному пару образовываться внутри несущей стены, однако последнего удается достичь лишь при правильном подборе толщины теплоизоляционного слоя и расположения слоев относительно друг друга. Наиболее плотные в этом отношении слои, которые не слишком хорошо пропускают через себя водяной пар, располагают ближе к теплому помещению. Те материалы, через которые пар проходит лучше, устанавливают ближе к улице. Категорически запрещается использовать с уличной стороны такие материалы, как пароизоляционные пленки, слои цементной штукатурки и прочие аналогичные им.

Например, если в качестве теплоизоляционного слоя применяют волокнистые средства, штукатурный слой также должен свободно пропускать водяной пар, поэтому не следует совместно с минеральной ватой использовать акриловую штукатурку. Она практически не пропускает не только пар, но и обычный воздух. Специалисты не рекомендуют применять акриловые растворы в том случае, если стены изготовлены из газо– или пенобетонных блоков.

Вход
Поиск по сайту
Ищем:
Календарь