Книга Отопление и водоснабжение вашего дома, страница 15 – Владимир Жабцев

Авторы: А Б В Г Д Е Ж З И Й К Л М Н О П Р С Т У Ф Х Ч Ш Ы Э Ю Я
Книги: А Б В Г Д Е Ж З И Й К Л М Н О П Р С Т У Ф Х Ц Ч Ш Щ Ы Э Ю Я
Бесплатная онлайн библиотека LoveRead.in

Онлайн книга «Отопление и водоснабжение вашего дома»

📃 Cтраница 15

стальная, соединение отдельных звеньев можно произвести стальными накладками на болтах. Ширина таких накладок — 15–30 мм, длина — 100–200 мм, толщина 6–9 мм. Узкие кромки накладок надо срезать под углом 30°, чтобы за внутренние прокладки не цеплялся инструмент, а наружные не мешали проходить трубе через грунт. На внутренних накладках нарезают резьбу для крепежа. Звенья стальной или чугунной обсадной трубы можно при достаточной толщине стенок соединить без внутренних накладок, нарезав резьбу непосредственно в стенке. Чтобы стык стал непроницаем для воды, его следует закрыть «мокрой» муфтой. Делают эту муфту из нескольких полосок стеклоткани, наклеивая каждую полоску вокруг стыка эпоксидным или другим надежным синтетическим клеем. Стык перед приклейкой стеклоткани необходимо очистить от загрязнений, ржавчины и тщательно обезжирить ацетоном или растворителем для нитроэмали. В этих же растворителях надо промыть и стеклоткань, чтобы удалить замасливатель, попадающий на нее в процессе изготовления. Промытую ткань необходимо просушить в течение 2–4 ч. Для того чтобы очистить стеклоткань от замасливателя, можно «прожечь» ее паяльной лампой. Обматывать стык нужно полосками разной ширины: каждая верхняя должна быть на 20–30 мм шире нижней и прикрывать ее кромки. «Мокрая» муфта после затвердения клея приобретает высокую прочность, и ее можно рассматривать как силовой элемент. Тем не менее наружные накладки из стали все равно надо будет поставить и прижать ими стеклоткань. Это предохранит муфту от возможного сдвига при трении о грунт. В плотных грунтах обсадная труба обычно входит в скважину с зазором и сдвиг уплотнения маловероятен, тогда уплотняющие бандажи можно вырезать в виде колец из камеры автомобильной шипы подходящего диаметра. Если все же произойдет сдвиг резинового кольца и оно проникнет в неровный стык между трубами, перекрывая проход в трубе, от резины легко избавиться. Для этого ее надо поджечь какой-либо горелкой, опущенной в обсадную трубу на проволоке. Натянутое резиновое кольцо, когда оно сухое, сразу загорается и тут же разрывается, освобождая проход.

Водоприемная часть скважины

Конструкция водоприемной части трубчатого колодца зависит от строения водоносного слоя. Если у нижнего обреза обсадной трубы желонкой удается выработать полость, которая заполняется притекающей водой и со временем не затягивается, то лучшего не следует и желать: можно обойтись без фильтра. Когда же водоносный слой представляет собой песок-плывун и скважина затягивается песком, несмотря зачистку желонкой, фильтр нужен.

Иллюстрация к книге — Отопление и водоснабжение вашего дома [i_038.jpg]

Сетчатый фильтр:

1 — муфта; 2 — сальник; 3 — отверстия; 4 — проволока; 5 — сетка; 6 — отстойник; 7 — пробка.

Существует довольно много конструкций различных фильтров, но в самодельных трубчатых колодцах обычно применяют наиболее простые сетчатые фильтры. Он состоит из перфорированной трубы с закрепленной на ней сеткой. На перфорированную часть трубы наматывают проволоку с зазором между витками 1,5–2 мм. Проволока нужна для того, чтобы приподнять сетку над трубой и увеличить этим так называемую скважность фильтра, т. е. ее пропускную способность для воды. Проволоку приваривают или припаивают (лучше твердым припоем) к трубе по концам и в нескольких местах посредине. Сетку закрепляют на трубе поверх проволоки сваркой, пайкой или сшивкой. Если сетку закрепляют сваркой или пайкой, сначала прикрепляют один край сетки, затем натягивают трубу и закрепляют второй. Сшивку производят следующим образом. Перед обтяжкой измеряют окружность трубы и отрезают с припуском для правки концов. Концы сетки загибают внутрь, а в места изгиба вставляют проволочные стержни диаметром 2,5–3 мм. Эти стержни предохраняют сетку от разрыва при стягивании ее краев. Сетку сшивают проволокой. Верхнюю и нижнюю кромки приваривают или припаивают к трубе. Ниже фильтра водоприемная часть должна иметь глухой резервуар, который будет служить сборником песка и ила, прошедших через фильтр.


В настоящее время промышленность выпускает большой ассортимент проволочных тканых фильтровых сеток. По форме ячеек в свету различают сетки с квадратными, прямоугольными и пулевыми ячейками. По размерам ячеек для нашей цели наиболее пригодны мельчайшие — с площадью ячеек в свету 0,025— 0,25 мм2 и мелкие — с площадью ячеек в свету 0,25—1 мм2. Переплетение проволок сетки может быть полотняным и саржевым. У сеток с нулевыми ячейками проволоки основы (проходящие вдоль полотна сетки) находятся на определенном расстоянии друг от друга, а более тонкие проволоки утка (проходящие поперек сетки) расположены вплотную друг к другу. Благодаря такому переплетению ячейки в свету отсутствуют. Для трубчатого колодца годятся сетки из меди, латуни, фосфористой бронзы, молибдена, никеля и др. Сетку из нержавеющей стали можно снять из старой стиральной машины.

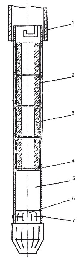
Иллюстрация к книге — Отопление и водоснабжение вашего дома [i_039.jpg]

Фильтр из крупнопористого бетона с наружным стальным каркасом:

1 — обсадная труба; 2 — фильтрующий блок; 3 — каркас с окнами; 4 — опора; 5 — отстойник; 6 — пробка; 7 — гвоздь.

Фильтр для трубчатого колодца, когда диаметр его не слишком мал, легко сделать также из крупнопористого бетона. Он изготавливается в виде трубчатых блоков длиной 200–400 мм и толщиной стенки 30–35 мм. Блоки устанавливают в трубчатый каркас с окнами и по торцам, скрепляют цементным раствором. Через сутки фильтр можно опускать в скважину. Размеры зерен гравия или щебня для крупнопористого бетона подбирают в зависимости от размеров зерен песка водоносного слоя в соотношении примерно 10:1. Дозировка цемента, воды и технология работы с крупнопористым бетоном описаны выше.


Какая сетка наиболее пригодится в определенных местных условиях, можно сказать, только выяснив зернистость водоносного слоя. Во многих случаях предпочтение отдают сетке с нулевыми ячейками, поскольку вода здесь проходит через зазоры в виде щелей и такие фильтры меньше засоряются. Если для фильтра не удастся найти подходящую трубу из нержавеющего материала, ее можно свернуть из листа. У такой трубы появляются даже некоторые преимущества, так как отверстия, выполненные в листе, легко очистить с обратной стороны (внутренней) от заусенцев, образующихся при сверлении. Не нужно стремиться, чтобы фильтр задерживал мельчайшие фракции песка. Пусть они проходят через фильтр и затем либо вынесутся потоком воды на поверхность при откачке, либо осядут в отстойнике. В этом случае в водоносной породе образуется вокруг фильтра слой из более крупных частиц песка или гравия, которые сами будут играть роль естественного фильтра. В обсадную трубу фильтр вставляют с помощью штанги, которую нижним концом с поперечными выступами заводят в штыковую муфту фильтра. Затем, удерживая штангой фильтр, приподнимают обсадную трубу лебедкой или домкратами.

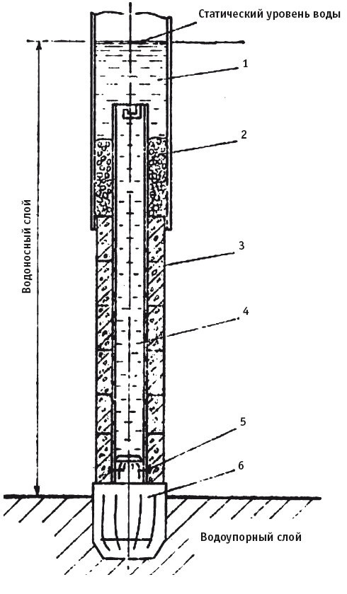
Иллюстрация к книге — Отопление и водоснабжение вашего дома [i_040.jpg]

Фильтр из крупнопористого бетона на внутреннем каркасе с засыпным гравийным сальником:

Вход
Поиск по сайту
Ищем:
Календарь