Онлайн книга «Отопление и водоснабжение вашего дома»
|
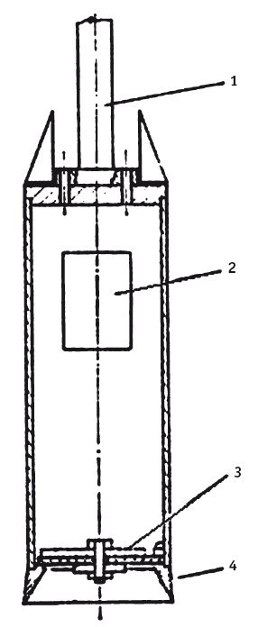
А — с плоским клапаном; Б — с шариковым клапаном; 1 — труба; 2 — отбивной штифт; 3 — клапан; 4 — ось; 5 — башмак; 6 — ограничитель. Для бурения пород рыхлых; сыпучих; обломочных (пески, гравий, галечник; ил), пород, наполненных водой, а также для чистки скважины после работы долотом применяют желонку. Этот инструмент представляет собой отрезок трубы длиной 2–3 м, иногда до 4 м, снабженной внизу башмаком с клапаном, а вверху — устройством для соединения со штангами. Клапан обычно делается плоским из стальной пластины с уплотнением резиной, кожей или без него. В желонках небольшого диаметра применяют шариковый клапан. При сбрасывании в забой башмак желонки врезается в породу, которая приподнимает клапан и входит в трубу. Когда желонку поднимают, клапан закрывается и удерживает набранную породу. После заполнения породой желонку извлекают на поверхность и очищают, поворачивая ее для этого вверх клапаном с помощью специального устройства, позволяющего не отсоединять желонку от штанги. При наличии треноги заложение скважины производят подвешенным инструментом, чем и достигается нужная вертикальность. Если треноги нет и штанги удерживают руками, то для закладки скважины необходимы три человека: двое закручивают ложковый бур, а третий следит за вертикальностью штанги. Когда ложковый бур углубится в землю на половину его длины, его вынимают, очищают и опускают вновь, подлив в скважину воды, чтобы стенки скважины не осыпались, а обмуровывались. Затем скважину опять проверяют на вертикальность и т. д. Если вертикальность не получилась, скважину надо начать вновь. Сухая порода плохо удерживается в ложковом буре, поэтому надо в скважину подливать воду, которая играет также и роль смазки. При длине ложки 750 мм скважина при полном заполнении ложки разбуренной породой углубляется примерно на 350 мм. Так как устье скважины в земле сильно разрабатывается, то, пройдя буром первые 3–4 м, следует обсадить скважину одним или двумя звеньями обсадной трубы. Это первое крепление скважины обычно происходит без затруднений. Обсадная труба должна иметь внизу режущий башмак, а вверху — патрубок, предохраняющий резьбу от замятия. В скважине обсадная труба должна висеть свободно на деревянном или стальном хомуте. ![]() Желонка с боковым окном: 1 —ударная штанга; 2 — окно; 3 — клапан; 4 — башмак. Можно изготовить желонку с боковым окном. Через это окно ее можно и чистить не переворачивая. Косынки и конус в верхней части желонки предназначены для того, чтобы при подъеме не зацепить желонку за обсадную трубу. Крепление скважины обсадной трубой обусловлено следующими причинами. Пластичные породы, особенно глины, пройденные буром, имеют тенденцию набухать, под воздействием воды или вспучиваться в скважину от давления верхних пластов. В результате просвет скважины сужается и затрудняет (или даже делает невозможным) спуск бурового инструмента. Когда же скважина прорезает неустойчивые породы (пески, гравий, гальку, рухляки и т. п.), она начинает засыпаться или заплывать этими породами. Неизбежным становится крепление скважины и в том случае, когда приходится переходить к долблению твердых пород долотами. Разбуренная при этом твердая порода в виде бурильной грязи отбирается небольшими порциями желонкой; скорость проходки скважины подчас измеряется сантиметрами в сутки. Одним из серьезных моментов при ударно-вращательном бурении является заложение скважины. Надо помнить, что вращательное бурение ложковыми бурами всегда связано с опасностью скручивания штанг. И эта опасность тем больше, чем глубже скважина. Если при этом скважина заложена не отвесно, а под некоторым углом, то к напряжениям скручивания добавляются еще напряжения от изгиба буровой колонны. Кроме того, всякая наклонная скважина имеет тенденцию с глубиной все более и более уходить от вертикали, что сильно затрудняет как само бурение, так и опускание, а также подъем обсадных труб. ![]() Соединительные муфты для штанг. В качестве буровых штанг для неглубокого бурения (до 25 м) вполне достаточными по прочности являются газовые трубы внутренним диаметром 33 мм (применяют также трубы диаметром 42 и 48 мм). Длина труб отдельных звеньев штанги — 5 м. Отбирая трубы для штанг, надо внимательно осмотреть сварные швы. Если швы плохо проварены, то во время бурения при скручивающих нагрузках они легко расходятся. Обычные водопроводные или газовые муфты для соединения штанг нежелательны из-за недостаточных прочности и длины. Для соединения буровых штанг лучше изготовить специальные муфты большей длины, бочкообразной формы и с гладкими концевыми внутренними проточками, в которые концы свинчиваемых штанг должны плотно заходить своими ненарезанными частями. Это необходимо для того, чтобы уменьшить опасные изгибающие нагрузки в концевых сечениях штанг, ослабленных резьбой. Конечно, намного ускоряет процесс соединения-разъединения штанг коническая резьба. Однако сделать такую резьбу очень трудно, и если, что скорее всего, придется ограничиться цилиндрической резьбой, то нарезать ее на штангах надо на токарном станке или клуппом с направляющей втулкой, чтобы избежать перекоса резьбы. Внимание! Штанги с перекошенной резьбой при свинчивании будут располагаться не соосно, что чревато большими неприятностями, поскольку приводит к отклонению всей буровой колонны от оси скважины, особенно заметному при ее длине более 10 м. ![]() Принадлежности для штанг: А — подкладная вилка; Б — фарштуль: 1 — серьга, 2 — щеколда, 3 — траверса. При свинчивании-развинчивании штанги висят в скважине на подкладной вилке; опираясь на нее муфтой, для этой же цели, а также для подъема и спуска штанг в скважину служит фарштуль Фарштуль состоит из серьги, надетой своими ушками на цапфы массивной траверсы с вырезом посредине для пропуска рабочих штанг. Вырез закрывается откидной щеколдой (собачкой, заградительной планкой или шпилькой). Штанга, заведенная в фарштуль, садится муфтой на края выреза траверсы. ![]() Ловильный инструмент: А — винт (метчик); Б — колокол; В — штопор; Г — «счастливый крюк». В процессе ударно-вращательного бурения, несмотря на все предосторожности, случаются неполадки и аварии, приводящие к тому, что из скважины приходится извлекать какие-то предметы. Для этого служит ловильный инструмент. Чаще всего приходится вытаскивать из скважины оторвавшиеся штанги. Разрыв штанг происходит в первую очередь потому; что в домашних условиях для штанг часто используют случайные материалы, а также из-за неопытности бурильщика. Для вытаскивания оторвавшихся штанг применяют ловильный винт, или метчик; представляющий собой стальной закаленный винт конической формы, нижний конец которого свободно входит в отверстие штанг. Продольные канавки ловильного винта предназначаются для стружки, образующейся при прорезывании винтом стенок штанги трубок. В тех случаях; когда отверстие оторвавшейся части замято и конец ловильного винта в него не входит, а также для вытаскивания оторвавшегося рабочего инструмента с шейкой из сплошного металла используют ловильный колокол. Когда упущенная в скважину штанга имеет наверху муфту; для ловли применяют «счастливый» крюк, которым штангу подхватывают под муфту. |
![Иллюстрация к книге — Отопление и водоснабжение вашего дома [i_025.jpg] Иллюстрация к книге — Отопление и водоснабжение вашего дома [i_025.jpg]](img/book_covers/084/84773/i_025.jpg)
![Иллюстрация к книге — Отопление и водоснабжение вашего дома [i_026.jpg] Иллюстрация к книге — Отопление и водоснабжение вашего дома [i_026.jpg]](img/book_covers/084/84773/i_026.jpg)
![Иллюстрация к книге — Отопление и водоснабжение вашего дома [i_027.jpg] Иллюстрация к книге — Отопление и водоснабжение вашего дома [i_027.jpg]](img/book_covers/084/84773/i_027.jpg)
![Иллюстрация к книге — Отопление и водоснабжение вашего дома [i_028.jpg] Иллюстрация к книге — Отопление и водоснабжение вашего дома [i_028.jpg]](img/book_covers/084/84773/i_028.jpg)