Книга Строительство дома быстро и дешево, страница 63 – Евгений Симонов

Авторы: А Б В Г Д Е Ж З И Й К Л М Н О П Р С Т У Ф Х Ч Ш Ы Э Ю Я
Книги: А Б В Г Д Е Ж З И Й К Л М Н О П Р С Т У Ф Х Ц Ч Ш Щ Ы Э Ю Я
Бесплатная онлайн библиотека LoveRead.in

Онлайн книга «Строительство дома быстро и дешево»

📃 Cтраница 63

погружными. Их применяют в случае, когда невозможно использовать поверхностные. Колодезные и скважинные погружные насосы отличаются по конструкции, поэтому при выборе насоса необходимо учитывать, для какого источника воды он предназначен.

Для удаления загрязненных бытовых стоков применяются дренажные насосы1. По конструкции все они являются погружными. Фекальными называются дренажные насосы, служащие для перекачивания канализационных сточных вод из септиков.

К различным бытовым устройствам, в которых предполагается удаление сточных вод (ванна, унитаз, стиральная машина и др), присоединяются канализационные насосные установки — специальные емкости, оборудованные насосом. При заполнении емкости до определенного уровня насос откачивает сточные воды в канализационный сток. Современные канализационные установки являются самоочищающимися.

Канализация

Канализация — это сложный комплекс инженерных сооружений, оборудования и санитарных мероприятий, которые обеспечивают утилизацию и очистку сточных вод. Способ отвода сточных вод выбирают на стадии проектирования дома и инженерных коммуникаций к нему.

Прежде всего необходимо разработать проект внутренней канализации и в специализирующемся на данном вопросе учреждении заказать оформление проектной документации. Проектирование канализации включает проведение расчетов с учетом типа труб, уклона, объема сточных вод и т. д., определение мест прокладки труб, установки сантехники, размещения вентиляционных отверстий.

Затем проект нужно согласовать со всеми задействованными службами и лицами: в первую очередь с местным водоканалом, а также с энергетиками, газовиками, связистами, соседями и т. д. Это необходимо для того, чтобы не повредить проложенные под землей сети соседей или организаций. Иногда требуется согласовать проект даже с дорожными службами, в частности, если при прокладке труб существует риск нарушить дорожное покрытие.

По окончании работ и до засыпки траншей канализационная сеть представляется для контроля водопроводно-канализационной службе. Ее представитель проверяет соответствие сети разработанному проекту. Если все правила соблюдены, подписывается акт приемки.

Всю канализационную систему дома можно разделить на внутреннюю и наружную.

Внутренняя канализация состоит из приемников сточных вод, труб и арматуры. Она предназначена для отведения бытовых стоков из дома в наружную часть канализации.

Наружная канализация включает элементы отведения сточных вод в локальное очистное сооружение, саму систему очистки и трубопроводы, ведущие к местам сброса. Наиболее распространенный и эффективный вариант очистки сточных вод — установка септика, очищающего стоки с помощью аэробных и анаэробных бактерий.

Хорошо, если дом будет подключен к центральной городской или поселковой канализации, а если ее просто нет? Тогда придется построить автономную канализационную систему. Пусть проектированием и монтажом займутся профессионалы, но и вам не помешает разобраться в этом вопросе.

Канализация бывает двух типов: общесплавная и раздельная.

При общесплавной системе нефильтрованные (дождевые, талые) воды смешиваются с бытовыми и единым потоком попадают в канализационную сеть.

При раздельной канализации дождевые воды не смешиваются с бытовыми и по изолированным водостокам (ливневкам) поступают в природные водоемы (озера, реки и т. д.) или сбрасываются на поля в отдаленных от строений местах и уходят в почву. И для экологии, и для кошелька такой метод более приемлем.

Автономная система канализации загородного дома существует в нескольких вариантах:

♠ герметичные выгребные ямы;

♠ септики;

♠ ливневая система канализации.

Все эти варианты имеют свою область применения и могут сочетаться между собой.

Создание герметичных выгребных ям предполагает сбор бытовых сточных вод в изолированные резервуары, которые гарантируют экологическую безопасность и полное отсутствие неприятных запахов. Ассенизационная машина вывозит скопившиеся стоки, которые затем утилизируются.

Выгребную яму делают из расчета не менее 0,5 м3 на человека. Оптимальными размерами будут следующие: длина — от 2,5 до 3 м, ширина от 0,8 до 1 м, глубина — около 1,5 м.

Материал стенок ямы — бетон, кирпич, камень, дерево. Стенки покрывают цементным раствором. Дно ямы, которое должно располагаться под уклоном к очистному люку, покрывают слоем жирной глины толщиной 25–30 см. На этот слой кладут доски либо бетон. Перекрытие выполняют из железобетона, изоляцией служит слой жирной глины толщиной около 30 см. Поверх этого слоя насыпают землю. На внешние стенки выгребной ямы наносят уплотненный слой жирной глины такой же толщины.

Очистной люк размером около 0,7 × 0,7 м устанавливают над перекрытием на уровне грунта. Он должен быть оснащен двумя герметичными крышками.

Септик — система местной очистки бытовых сточных вод, предполагающая их сбор в подземном отстойнике, где происходит сначала механическая, а затем биологическая очистка воды, которая после этого поступает в отдаленное от дома место.

Ливневая система канализации, предназначенная для сбора и отвода дождевой воды, состоит из воронок, трубопроводов и фильтров. После очистки вода поступает в дренажную систему или отводится в отдаленное от строений место.

В настоящее время септики получили очень широкое распространение. Рассмотрим их конструкцию и способ работы.

Септики представляют собой подземную систему местной механической очистки сточных вод. Данную систему рекомендуется размещать на расстоянии 10–20 м от дома так, чтобы полностью исключить размытие грунта под фундаментом и затопление подвальных помещений. Сточную трубу для слива загрязненных вод из септика закладывают на глубину 1,2 м (при отсутствии угрозы промерзания грунта). Если вы живете в зоне низких температур, трубы, как правило изготовленные из чугуна или пластика, следует утеплить.

Однокамерные септики служат для накопления сточных вод, поэтому их также называют накопителями. По своей сути они ничем не отличаются от выгребных ям.

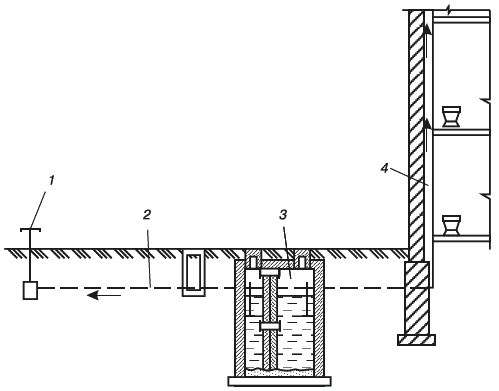
Многокамерные септики имеют несколько камер, а значит, и несколько ступеней очистки стоков. Вода в таких системах переходит из одной камеры в другую, постепенно очищаясь от вредных примесей. На выходе из последней камеры вода очищается на 75 %, что допускает ее дальнейший сброс в почву или фильтрационный колодец (рис. 8.2).

Иллюстрация к книге — Строительство дома быстро и дешево [_245.jpg]

Рис. 8.2. Схема полей подземной фильтрации: 1 — приточная вентиляция; 2 — оросительная сеть; 3 — септик с дозирующей камерой; 4 — воздуховод

Вход
Поиск по сайту
Ищем:
Календарь