Книга Строительство дома быстро и дешево, страница 62 – Евгений Симонов

Авторы: А Б В Г Д Е Ж З И Й К Л М Н О П Р С Т У Ф Х Ч Ш Ы Э Ю Я
Книги: А Б В Г Д Е Ж З И Й К Л М Н О П Р С Т У Ф Х Ц Ч Ш Щ Ы Э Ю Я
Бесплатная онлайн библиотека LoveRead.in

Онлайн книга «Строительство дома быстро и дешево»

📃 Cтраница 62

В стандартную систему очистки воды входят:

♠ фильтр для очистки воды от механических примесей;

♠ обезжелезиватель — система очистки воды от железа;

♠ система умягчения воды;

♠ угольный фильтр.

Трубы из качественного материала — основа основ любой водопроводной сети. Поэтому при выборе труб следует учитывать:

♠ прочность (внутри на трубу действует давление воды, снаружи — слой грунта);

♠ долговечность;

♠ качественность (гладкость) внутренних стенок;

♠ водонепроницаемость;

♠ наименьшую подверженность коррозии;

♠ герметичность;

♠ морозоустойчивость;

♠ экономичность.

Чаще всего для изготовления труб применяют металл: медь, сталь, чугун. Медные трубы очень дорого стоят, что ограничивает их популярность. Стальные трубы подвержены коррозии, имеют относительно небольшой срок эксплуатации, трудоемки в монтаже. Однако в недалеком прошлом именно они были самыми распространенными, да и сегодня не сдают позиции. Чугунные трубы хрупкие, тяжелые, монтаж их также затруднен. Для предотвращения коррозии металлические трубы покрывают цинком, однако данный метод не устраняет проблему полностью.

Асбестоцементные водопроводные трубы обладают рядом преимуществ по сравнению с металлическими. Они отличаются стойкостью к коррозии, имеют небольшую массу и гладкие внутренние стенки. Однако такие трубы не получили широкого распространения.

К изделиям нового поколения можно отнести трубы из пластиковых материалов. Они имеют срок эксплуатации более 50 лет, не зарастают изнутри, характеризуются морозостойкостью. Такие трубы не повреждаются замерзшей водой, на них не образуется конденсат. Их монтаж и ремонт не создает трудностей. Несколько ограничено использование пластиковых труб в системах горячего водоснабжения.

Пластиковые трубы изготавливают из таких материалов, как полипропилен (РР), поливинилхлорид (ПВХ), полиэтилен (РЕ), полиэтилен низкого давления (ПНД), сшитый полиэтилен (РЕХ), металлополимеры (металлопластик) (PEX-AL-PEX). Трубы из ПВХ подходят для установки наружного водопровода небольших размеров.

Материалом труб для горячей воды служит оцинкованная сталь или термопластик. Если вы используете стальные трубы, наилучшей защитой от коррозии станет пластиковое покрытие их внутренней поверхности. Следите и за температурой воды: она также влияет на образование коррозии. В жилых домах рекомендуется поддерживать температуру воды +60–70 °C.

При покупке труб желательно приобрести и соединительные детали к ним. Крепежные части водопровода называются фитингами. Они обеспечивают прочность и герметичность конструкции. Их устанавливают в местах соединений, разветвлений и поворотов труб.

ВНИМАНИЕ

Если водопроводный и канализационный трубопроводы пересекаются, то водопроводную сеть размещают выше канализационной на 0,5 м. При меньшем расстоянии трубы «пакуют» в специальную металлическую гильзу, зазор между которой и трубой ввода заделывают водогазонепроницаемыми материалами.

Не следует забывать и об установке устройств учета воды — счетчиков, которые подразделяются на одноструйные, многоструйные, турбинные, вентильные и импульсные. При выборе счетчика воды нужно обращать внимание на его характеристики (область учета, расход, предельные нормы потери напора), а также на условия установки.

Внутренний водопровод

Внутренний водопровод обслуживает основные сантехнические узлы в доме. Его система включает водомерные и разводящие узлы, стояки, вводы! в дом (обычно два), подводки к санитарным устройствам (краны, сливные бачки и т. д.), при необходимости — различные насосные установки.

В зависимости от расположения магистральных трубопроводов бывают водопроводы с нижней и верхней разводкой. Тип внутреннего водопровода следует выбирать с учетом условий подачи и расхода воды, размещения водоподающих установок.

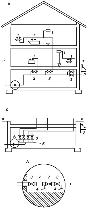
При нижней разводке трубы помещают в подвальном помещении здания. Если дом имеет два этажа и более, санитарно-технические устройства и соответствующую (водоразборную) арматуру размещают строго друг над другом, прокладывая трубопроводы по кратчайшей траектории. При единой системе водопроводов вода во всех установках подходит для питья и подается с равным напором (рис. 8.1).

Системы водоснабжения различаются в зависимости от требуемого напора и соответствующего оборудования.

Система под напором используется при строительстве зданий высотой до пяти-шести этажей. При этом необходимо, чтобы в наружном водопроводе напор постоянно был больше или равен напору, который требуется для нормальной работы всех водоразборных устройств дома. Если нет гарантии стабильного напора в наружном водопроводе, такую систему применять не рекомендуется.

Система с водонапорным баком применяется, когда при небольшом потреблении воды напор сильнее, чем необходимо, а при активном — слабее. Бак является накопителем, который подает воду в час пик. Недостаток системы заключается в том, что для размещения водонапорного бака нужен дополнительный этаж, а это существенно удорожает строительство.

Повысительные насосные установки рекомендуются при равномерном потреблении воды и недостаточном напоре в наружном водопроводе (подобное часто встречается в сельской местности). Такая установка размещается в подвале.

Водонапорный бак с повысительной насосной установкой применяется, если потребление воды неравномерно, а напор в наружном водопроводе недостаточен.

Водонасосная (пневматическая) система с повысительными насосными установками требует довольно сложного и дорогого оборудования. Данная система редко используется при малоэтажном индивидуальном строительстве.

Иллюстрация к книге — Строительство дома быстро и дешево [_241.jpg]

Рис 8.1. Схема питьевого водопровода: а — запорные вентили; б — распределительный коллектор; 1 — водоразборная арматура; 2 — поливочный трубопровод; 3 — запорный вентиль; 4 — опускной кран; 5 — распределительный коллектор; 6 — обратный клапан; 7 — счетчик расхода воды


Кстати, при любом индивидуальном строительстве не обойтись без насоса. В зависимости от области применения насосы могут быть:

поверхностными — в этом случае вода всасывается, а сам насос размещается вне источника. В свою очередь, такие насосы бывают вихревыми или центробежными. Первые используются, когда нужно повысить давление воды, а вторые служат для выкачивания воды из скважин небольшой глубины, колодцев, родников и др. Наиболее удобны поверхностные насосы с элементами автоматики: при их применении в системе поддерживается постоянное давление (1,5–3 атмосферы) и обеспечивается бесперебойная работа водоразборного оборудования;

Вход
Поиск по сайту
Ищем:
Календарь