Книга Обустройство и ремонт дома быстро и дешево. Коммуникации и интерьер своими руками всего за 2 месяца, страница 7 – Юрий Казаков

Авторы: А Б В Г Д Е Ж З И Й К Л М Н О П Р С Т У Ф Х Ч Ш Ы Э Ю Я
Книги: А Б В Г Д Е Ж З И Й К Л М Н О П Р С Т У Ф Х Ц Ч Ш Щ Ы Э Ю Я
Бесплатная онлайн библиотека LoveRead.in

Онлайн книга «Обустройство и ремонт дома быстро и дешево. Коммуникации и интерьер своими руками всего за 2 месяца»

📃 Cтраница 7

Принцип действия септика таков. Сточные (фекальные) воды из дома попадают в отстойник, находящийся в септике, который состоит из одной или нескольких камер (отсеков), расположенных последовательно. Пройдя через отсеки, на выходе сточные воды осветляются, затем попадают в поля подземной фильтрации (рис. 2.1). Такая система способна очистить воду почти на 100 %.

Иллюстрация к книге — Обустройство и ремонт дома быстро и дешево. Коммуникации и интерьер своими руками всего за 2 месяца [i_019.jpg]

Рис. 2.1. Схема полей подземной фильтрации:

1 – приточная вентиляция; 2 – оросительная сеть; 3 – септик с дозирующей камерой; 4 – воздуховод

Примечание

Один-два раза в год септик необходимо очищать от осадков.

В зависимости от объема проходящих через септики сточных вод они бывают однокамерными или многокамерными (рис. 2.2).

Внутренние стенки септика покрывают цементным раствором с применением арматуры (стальные пруты, сетки и т. п.), дно бетонируют. Внешнюю поверхность покрывают жирной глиной. Если септик изготовлен из бетона или железобетона, толщина глиняного слоя должна составлять не менее 20 см, если из кирпича или камня – не менее 30 см.

Иллюстрация к книге — Обустройство и ремонт дома быстро и дешево. Коммуникации и интерьер своими руками всего за 2 месяца [i_020.jpg]

Рис. 2.2.

Схема двухкамерного септика:

1 – подача сточной воды; 2 – вентиляционная вытяжка; 3 – выход осветленной воды; 4 – крышки колодцев


Материалом перекрытия, как правило, служат деревянные (обработанные смолой) щиты или железобетон. Бесспорно, более целесообразно с практической точки зрения в качестве материала перекрытия использовать железобетон, однако довольно часто используется дерево – как более дешевый и доступный вариант.

Если перекрытие деревянное, оно сверху покрывается рубероидом и засыпается землей с толщиной слоя от 15 до 20 см (необходимо учитывать климатические особенности данной местности).

Для устойчивости и обеспечения горизонтального положения деревянный щит укрепляют бревнами, а затем подготавливают бетонную смесь, для которой берут по одной части цемента и щебня и три части песка (я рекомендую использовать цемент марок от 300 до 500). Далее этот состав смешивают в водонепроницаемом резервуаре до получения однородной массы. Добавляют щебень, тщательно вымешивают «на сухую», а затем начинают постепенно добавлять воду, продолжая перемешивать.

Совет

Для пластичности бетонной массы в нее можно добавить глину. Однако следует учесть, что такая добавка будет снижать прочность. Альтернатива глине в таком случае – 1 столовая ложка стирального порошка + ведро воды. Подобная добавка не влияет ни на прочность бетона, ни на его качество.

Бетонную смесь кладут равномерным слоем толщиной 5–7 см. Необходимо покрывать как поверхность деревянного щита, так и 10–20 см земли вокруг него. Затем на бетонную смесь кладут арматуру, снова покрывают слоем бетона (толщиной 10–20 см). Когда бетон немного застынет, бревна под щитом убирают.

Труба, подающая сточные воды от дома к септику, должна располагаться на 5 см выше, чем труба, выводящая осветленную воду из септика в дренажную систему. Вентиляция осуществляется через стояк внутренней канализации.

Трубопровод канализации часто монтируют из полиэтиленовых труб высокой плотности (ПВП). Их укладывают на слой подсыпки из гравия, щебня или крупного песка толщиной 20–50 см. Длина прямого участка оросительных линий должна быть не более 20 м при уклоне 0,001-0,003.

Керамические трубы располагают с небольшим расстоянием на стыках (10–20 мм). Над стыками устанавливают специальные накладки (например, из стеклоткани). Асбестоцементные трубы снизу надрезают в половину диаметра. Ширина – около 15 мм, расстояние между надрезами – до 0,2 м.

Фильтрующий колодец

Как я уже говорил, вода, предварительно осветленная септиком, может поступать в фильтрующий колодец. Его устанавливают исключительно в песчаных (супесчаных) грунтах при объеме сточных вод до 1 м3. Если грунт относится к слабопроницаемому (либо водонепроницаемому) типу, применение фильтрующих колодцев (полей подземной фильтрации) невозможно. В этом случае целесообразно применение одно– или двухступенчатых песчано-гравийных фильтров.

Если колодец прямоугольный, наиболее целесообразно устанавливать его размером 2,7×2 м, глубиной не менее 2,5 м. Для круглого колодца наиболее подходящим диаметром будет 1,5–2 м, глубина – не менее 2,5 м. Внутреннюю поверхность стенок покрывают цементным раствором.

На дне колодца устраивают фильтр высотой от 0,5 до 1 м. Фильтрационный материал донного фильтра – щебень, гравий и т. п. Для обсыпки основания и внешних стенок колодца используется материал, аналогичный материалу фильтра. В стенках колодца делают дренажные отверстия.

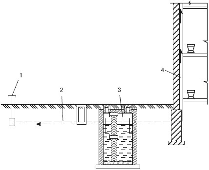
Расстояние от колодца до дома должно быть не менее 8 м, до водозаборного колодца – от 50 м (рис. 2.3).

Иллюстрация к книге — Обустройство и ремонт дома быстро и дешево. Коммуникации и интерьер своими руками всего за 2 месяца [i_021.jpg]

Рис. 2.3. Местная система канализации с септиком и фильтрующим колодцем:

1 – внутренние сети канализации; 2 – выпуск; 3 – смотровой колодец дворовой сети; 4 – септик; 5 – фильтрующий колодец; 6 – слой щебня; 7 – самый высокий уровень грунтовых вод Максимальный уровень грунтовых вод в этом случае должен быть ниже донного фильтра не меньше чем на 1 м.

Выгребная яма

Выгребную яму делают из расчета не менее 0,5 м3 на человека. Оптимальными размерами будут следующие: длина – от 2,5 до 3 м, ширина – от 0,8 до 1 м, глубина – около 1,5 м.

Материал стенок ямы – бетон, кирпич, камень, дерево. Стенки покрывают цементным раствором. Дно ямы должно располагаться под уклоном к очистному люку. Оно покрывается слоем жирной глины толщиной 25–30 см. На этот слой кладут доски либо бетон. Перекрытие выполняют из железобетона, изоляционным материалом служит жирная глина толщиной слоя около 30 см, сверху слоя насыпают землю. На внешние стенки выгребной ямы также наносится уплотненный слой жирной глины такой же толщины.

Очистной люк размером около 0,7×0,7 м устанавливают над перекрытием и на уровне грунта. Он должен быть оснащен двумя герметичными крышками. Если вы будете изготавливать стены из дерева, то позаботьтесь о том, чтобы они были плотными, хорошо проконопатьте их и дважды покройте битумом.

Вход
Поиск по сайту
Ищем:
Календарь