Книга Обустройство и ремонт дома быстро и дешево. Коммуникации и интерьер своими руками всего за 2 месяца, страница 6 – Юрий Казаков

Авторы: А Б В Г Д Е Ж З И Й К Л М Н О П Р С Т У Ф Х Ч Ш Ы Э Ю Я
Книги: А Б В Г Д Е Ж З И Й К Л М Н О П Р С Т У Ф Х Ц Ч Ш Щ Ы Э Ю Я
Бесплатная онлайн библиотека LoveRead.in

Онлайн книга «Обустройство и ремонт дома быстро и дешево. Коммуникации и интерьер своими руками всего за 2 месяца»

📃 Cтраница 6
Иллюстрация к книге — Обустройство и ремонт дома быстро и дешево. Коммуникации и интерьер своими руками всего за 2 месяца [i_016.jpg]

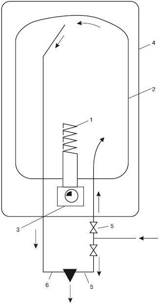
Рис. 1.9. Схема электронагревателя воды:

1 – трубчатый нагреватель; 2 – емкость; 3 – регулятор; 4 – кожух; 5 – холодная вода; 6 – горячая вода


К их достоинствам можно отнести: ♦ высокотехнологичность изготовления;

♦ высокую производительность (до 6 л горячей воды в минуту);

♦ надежность и удобство эксплуатации;

♦ компактность.

Накопительные электронагреватели состоят из емкости (бака), нагревающей воду до +70 °C. Время подогрева зависит от объема бака. Когда вода станет нужной температуры, ТЭНы (нагревательные элементы внутри накопителя) автоматически отключаются. Предусмотрено также восстановление объема воды путем автозабора из водопроводных систем.

Совет

Прежде чем приобрести накопительный водонагреватель, следует произвести расчет потребления горячей воды на всех членов семьи. Это поможет в выборе наиболее подходящей для вас модели. Объем накопительного нагревателя, подключенного к душу, должен быть не менее 50 л.

Считается, что накопительные нагреватели потребляют меньше энергии. Это связано с меньшей потребляемой мощностью в отличие от проточных. Однако накопительные требуют больше времени для нагрева воды, тогда как проточные нагревают воду моментально за счет большей мощности. Экономичность работы проточных нагревателей возможна лишь в случае расхода электроэнергии только во время эксплуатации воды, тогда как накопительные требуют постоянной «подпитки» электричеством.

Нагреватели, относящиеся к напорной нагревательной системе, имеют объем до 1000 л и обслуживают несколько водоподающих устройств (многоточечный водоразбор). Напорная система находится под постоянным давлением.

Такие подогреватели оснащены закрытым воздухосборником, вверху которого располагается водоподающая линия. Удаление воздуха происходит через водоразборные краны. Постоянный контроль водяного давления при многоточечном водоразборе – гарантия одновременной и бесперебойной работы водоподающих устройств.

Примечание

Для небольшой семьи идеально подходят настенные напорные водонагреватели (объемом до 200 л).

Во многих странах мира (особенно в южных, где повышенная солнечная активность) в качестве альтернативного источника энергии постепенно завоевывают популярность солнечные батареи (рис. 1.10). В нашей стране также налажено их производство (в частности, в Краснодарском крае).

Иллюстрация к книге — Обустройство и ремонт дома быстро и дешево. Коммуникации и интерьер своими руками всего за 2 месяца [i_017.jpg]

Рис. 1.10. Реальность XXI в.: солнечные батареи могут и воду нагреть, и снабдить аккумулятор электричеством (фото автора, 2009 г.)


Основное место установки солнечных батарей – крыша дома, угол расположения – от 30 до 50°. Это способствует максимальному поглощению батареей солнечных лучей.

Днем при активном солнце солнечная батарея работает в максимальную силу, энергия идет по прямому назначению: нагревает аккумулятор (бак с водой) и дает заряд аккумуляторной батарее. Ночью или в пасмурную погоду тепло от аккумулятора поступает в систему отопления и горячего водоснабжения, и аккумуляторная батарея вырабатывает электроэнергию (рис. 1.11). Основное отличие солнечных батарей от других источников электропитания – отсутствие угрозы короткого замыкания.

Иллюстрация к книге — Обустройство и ремонт дома быстро и дешево. Коммуникации и интерьер своими руками всего за 2 месяца [i_018.jpg]

Рис. 1.11. Ноу-хау Ю. Казакова – установка для подогрева воды с солнечной батареей и баком – аккумулятором горячей воды (схема): 1 – солнечная батарея; 2 – аккумулятор горячей воды; 3 – расширительный бак; 4 – нагревательный элемент; 5 – электронагреватель; 6 – водопровод; 7 – трубопровод горячей воды; 8 – канализационный сток


Различают солнечные батареи (фотоэлементы) и солнечные коллекторы. Фотоэлементы обладают низким КПД, зато коллекторы на 20 лет могут обеспечить энергией для горячего водоснабжения и отопления семью из трех человек. Стоимость этой установки – около $3000.

Средняя мощность солнечной батареи площадью 10 м2 в летние месяцы – 1 кВт в течение 5 ч. Зимой, за счет короткого светового дня, отдача уменьшается в 5 раз. КПД солнечных элементов зависит от поглощения поверхностью батареи света. Даже кратковременное исчезновение солнца снижает выходную мощность на 50 % и более.

Оптимальной энергосистемой для дома будет следующая: солнечные батареи, ветрогенератор (ветряк) и бензогенератор. Все эти устройства «страхуют» друг друга, обеспечивая бесперебойную выработку энергии, и контролируют уровень заряда аккумуляторов, чтобы исключить их полное разряжение. Стоимость такой системы – $7000–8000.

Глава 2
Удобства в дом: канализация

Очистные установки местной канализации

В случае отсутствия выхода на централизованную канализационную сеть возникает необходимость проведения местной канализации. Приступая к работе, помните о том, что устройство канализационных систем должно проводиться с учетом геологических условий данной местности, чтобы исключить загрязнение окружающей среды (вода, почва). Полное соответствие СНиПу обязательно!

Очистные установки местной канализации включают следующие элементы: септики, фильтрующие колодцы (колодцы-фильтры), выгребные ямы, грунтовые биофильтры и др.

Септики

Септики представляют собой подземную систему местной механической очистки сточных вод (так называемый почвенный метод). Она наиболее всего подходит для частного дома при отсутствии централизованной канализационной системы. Рекомендуется размещать данную систему очистки на расстоянии 10–20 м от дома и так, чтобы полностью исключить размытие грунта под фундаментом и затопление подвальных помещений. Сточную трубу для слива загрязненных вод из септика закладывают на глубину 1,2 м (при отсутствии угрозы промерзания грунта). Если вы живете в зоне низких температур, трубы (изготовленные, как правило, из чугуна или пластика) следует утеплить.

Материал изготовления септиков – бетон, железобетон, кирпич, бутовой камень.

Минимальные размеры септика: глубина (от уровня воды до дна) – 1,3 м, ширина – 0,8 м, диаметр – 1 м. Такой септик идеально подходит для семьи до 4 человек при наличии в доме ванной комнаты и туалета. При диаметре септика 1,5 м и глубине 2,5 м его производительность составит 1 м3 в сутки.

Вход
Поиск по сайту
Ищем:
Календарь