Книга Обустройство и ремонт дома быстро и дешево. Коммуникации и интерьер своими руками всего за 2 месяца, страница 14 – Юрий Казаков

Авторы: А Б В Г Д Е Ж З И Й К Л М Н О П Р С Т У Ф Х Ч Ш Ы Э Ю Я
Книги: А Б В Г Д Е Ж З И Й К Л М Н О П Р С Т У Ф Х Ц Ч Ш Щ Ы Э Ю Я
Бесплатная онлайн библиотека LoveRead.in

Онлайн книга «Обустройство и ремонт дома быстро и дешево. Коммуникации и интерьер своими руками всего за 2 месяца»

📃 Cтраница 14

♦ гиря трубочистная для чистки дымовых каналов и удаления обрушения внутри печной конструкции;

♦ ложка трубочистная для удаления мусора по окончании чистки;

♦ электролампочка на шнуре (в металлической оплетке, мощностью не более 500 Вт) для определения неплотностей в кладке;

♦ металлическая проволока для очистки дымовых каналов и вычищения завалов;

♦ ведро трубочистное с одной плоской гранью для сбора мусора и сажи после чистки печи;

♦ кочерга;

♦ совок;

♦ метелка-кисточка.

Чистка дымоходов производится через прочистные отверстия, чистка топливника и зольниковой камеры – через поддувальную дверцу.

Глава 4
Энергоснабжение дома

Совокупность устройств, предназначенных для выработки, преобразования, распределения и потребления электрической и тепловой энергии, называется энергосистемой. Энергоснабжение зданий включает в себя теплоснабжение, газоснабжение и электроснабжение.

Теплоснабжение

Система теплоснабжения имеет три составляющие: источник теплоты, трубопроводы и система теплопотребления с нагревательными приборами. Все системы теплоснабжения классифицируются в соответствии со следующими показателями:

♦ радиус действия;

♦ тип источника теплогенератора;

♦ вид теплоносителя;

♦ количество трубопроводов.

По радиусу действия системы теплоснабжения бывают местные, центральные и централизованные. К местным можно отнести электропечи, газовые системы отопления. Выработка и передача тепла в них совмещены. Такие системы располагают в небольших помещениях.

Центральные системы теплоснабжения подразумевают теплоснабжение здания любой величины от единого источника. Например, от котла, расположенного в подвальных помещениях дома либо котельной.

Система централизованного теплоснабжения обслуживает сразу несколько зданий.

По виду теплоносителя системы теплоснабжения подразделяются на паровые и водяные. В основном в котельных используются тепловые сети – трубопроводы, по которым теплоноситель (пар или горячая вода) следует из котельной или ТЭЦ к потребителям.

При выборе теплопроводящих путей следует принять во внимание следующие параметры:

♦ уровень защиты от деформации и разрушения (от нагрузок извне);

♦ тепловые потери при эксплуатации;

♦ степень надежности и долговечности.

Оборудование тепловых сетей включает в себя компенсаторы, опоры и запорную арматуру.

Наиболее выгодной с точки зрения экономии является бесканальная прокладка (в монолитных оболочках или засыпная) тепловых сетей, которая обойдется дешевле на 30–40 %. При данном варианте прокладки механическое воздействие со стороны грунта передается на теплопровод, покрытый теплоизоляцией; строительные конструкции отсутствуют.

В случае совмещенной прокладки теплопроводы прокладывают в коллекторах (проходных каналах) вместе с остальными коммуникациями (водопроводом, кабелями, газопроводом с давлением до 0,6 Па). В проходных каналах необходимо обязательно предусмотреть вентиляцию, их высота должна составлять от 1,8 до 2 м. Люки выхода нужно устанавливать по трассе канала через каждые 300 м на глубину 0,5–1,0 м. Все люки должны быть снабжены откидной лестницей.

Трубопроводы тепловых сетей изготавливают из стали (способ изготовления – бесшовный горячекатаный). Их диаметр – 0,025-0,4 м. Устанавливают с уклоном 0,002. Вверху размещают воздухоспусковые устройства, внизу – дренажные спуски. Запорную арматуру располагают на каждом из ответвлений в точках присоединения к магистрали и отдельному зданию.

Укладка трубопроводов в каналах производится на подвесные полы. Установка опоры зависит от веса теплоносителя, а также от веса и диаметра труб.

Газоснабжение

Источник газоснабжения – природный газ, транспортируемый по магистральным трубопроводам. Материал изготовления труб – сталь горячей сварки. Глубина закладки газопровода должна гарантировать его защиту от повреждений. Минимальной является глубина не менее 0,8 м до верхней точки трубы. При транспортировке влажного газа газопровод прокладывают ниже зоны промерзания грунта с уклоном от 0,002. Внизу газопровода ставят устройства для отвода конденсата.

Внимание

Для жилых зданий используется газ низкого давления – до 5 кПа.

Газопроводы с низким давлением совмещают с другими коммуникационными системами – теплопроводом, водопроводом, канализацией. Все коммуникации должны сообщаться в проходных коллекторах при постоянной вентиляции.

Внимание

Совместная прокладка трубопроводов в непроходных каналах неприменима.

Перед закладкой газопроводы изолируют антикоррозионными материалами (полиэтиленом, битумом).

Для равномерного распределения газа стояки размещают по всем этажам здания. При воздушной прокладке газопровода (по стене здания) вводы располагают в кухонных помещениях, при подземной прокладке – рядом с лестницей.

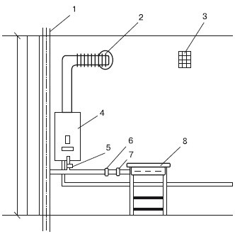
Газовые плиты устанавливают в кухонном помещении с высотой не менее 2 м. Обязательно наличие естественной вентиляции (рис. 4.1).

Иллюстрация к книге — Обустройство и ремонт дома быстро и дешево. Коммуникации и интерьер своими руками всего за 2 месяца [i_040.jpg]

Рис. 4.1. Подводка газа к газовым приборам:

1 – газовый стояк; 2 – дымоход; 3 – вытяжная вентиляция; 4 – газовый водонагреватель; 5 – кран газового водонагревателя; 6 – кран газовой плиты; 7 – сгон; 8 – газовая плита


Если вы используете 2-конфорочную плиту, объем кухни должен быть не менее 8 м3, при 4-конфорочной – не менее 15 м3.

В связи с возможностью аварии запрещена прокладка газопроводов и установка газовых приборов в подвальных помещениях.

Электроснабжение

Электрооборудование представляет собой весь комплекс устанавливаемых в зданиях электротехнических устройств, к которым относятся: электрические машины, осветительные приборы, электроприборы систем отопления, вентиляции и водоснабжения. Электроэнергия передается и распределяется с помощью электрических сетей.

Электрические сети прокладывают с помощью изолированных (кабели и провода) и неизолированных проводников (медные, алюминиевые и стальные провода и шины).

Вход
Поиск по сайту
Ищем:
Календарь