Книга Обустройство и ремонт дома быстро и дешево. Коммуникации и интерьер своими руками всего за 2 месяца, страница 12 – Юрий Казаков

Авторы: А Б В Г Д Е Ж З И Й К Л М Н О П Р С Т У Ф Х Ч Ш Ы Э Ю Я
Книги: А Б В Г Д Е Ж З И Й К Л М Н О П Р С Т У Ф Х Ц Ч Ш Щ Ы Э Ю Я
Бесплатная онлайн библиотека LoveRead.in

Онлайн книга «Обустройство и ремонт дома быстро и дешево. Коммуникации и интерьер своими руками всего за 2 месяца»

📃 Cтраница 12

Трехходовые краны применяют при регулировке нагревательных устройств однотрубной системы с нижней разводкой.

Запорно-регулирующая арматура (проходные краны, задвижки, вентили) предназначена для отключения частей системы и регулировки их функционирования.

Радиаторы

Использование панельных радиаторов в сочетании с терморегулиру-ющей арматурой в зданиях с индивидуальными тепловыми системами, например в коттеджах, обеспечивает существенную экономию энергии, а значит и денег.

Установка радиаторов подразумевает следующие этапы.

1. Развертывание (свертывание) ниппелей (при группировке радиаторных секций). При этом используются радиаторные ключи, у которых имеются отверстия для ручки, и плоская отвертка определенной ширины – достаточной для свободного прохождения отвертки сквозь ниппельные отверстия (с упором на внутренние грани).

2. Отсоединение радиаторных секций. Для этого прибор закрепляют на верстаке и в ниппельные отверстия вставляют два радиаторных ключа. В целях обеспечения одновременного развертывания ниппелей данную операцию должны проводить два человека.

3. Присоединение радиаторных секций. Две соединяемые части кладут на верстак. Ниппели смазывают олифой, одевают прокладки, а затем вкручивают ниппели вручную на 1–2 резьбовые линии. После этого подводят к ним дополнительную радиаторную секцию и производят одновременное (двумя ключами) завертывание ниппелей в секции до упора. Тем самым предотвращается перекос радиаторных частей.

Внимание

При разборке радиатора действия производятся в обратном порядке.

4. Гидравлическая прессовка для выявления трещин (протечек). Собранный радиатор подключают к гидравлическому прессу, после чего одновременно производятся выпуск воздуха и заполнение радиатора водой. Пресс создает нужное давление. Если отсутствует протечка (при ее наличии стрелка манометра падает), радиатор готов к установке. Устранить протечку можно благодаря подтяжке ниппелей.

Перед окончательной установкой на стене радиаторы следует огрунтовать и окрасить.

Печное отопление

Данный вид отопления рассмотрим более подробно, поскольку оно еще используется в 50 % домов сельской местности в странах СНГ. Кроме самого распространенного топлива – дров – применяют природный газ.

При установке печи учитываются особенности архитектуры дома, количество этажей, материал стен и размеры ограждающих элементов.

Достоинства печного отопления:

♦ низкая стоимость (относительно других видов);

♦ простота устройства;

♦ большой выбор видов топлива;

♦ вентиляция отапливаемых помещений.

Недостатки печного отопления:

♦ низкий КПД (по сравнению, например, с водяным);

♦ неравномерное распределение теплого воздуха;

♦ переохлаждение подвальных помещений;

♦ громоздкость используемых конструкций (потери полезной площади около 5–6 %);

♦ постоянная потребность в топливе;

♦ неудобства эксплуатации (загрязнение помещения топливными отходами – шлаком, золой и т. п.);

♦ риск отравления угарным газом (в основном по причине неправильного ухода);

♦ пожароопасность.

По продолжительности работы все отопительные печи можно подразделить на два основных типа:

♦ периодического действия (топятся 1–2 раза в сутки);

♦ длительного горения (топка продолжается несколько суток, при этом используется жидкое топливо или сортированный уголь).

Примечание

У печи периодического действия уровень температурного колебания воздуха не должен превышать интервал -3… +3 °C в сутки.

По количеству вырабатываемого тепла печи подразделяются на теплоемкие и нетеплоемкие. Теплоемкость печей определяется их активным объемом (всей нагревающейся площадью). У печей, считающихся теплоемкими, активный объем более 0,2 м3, у нетеплоемких – меньше 0,2 м3.

Нетеплоемкие печи не держат тепло, поэтому их следует топить постоянно. Область применения – дома, не рассчитанные для постоянного проживания.

Теплоемкие печи, которые сохраняют тепло до 12 ч, топят 2 раза в сутки, до 8 ч – 2–3 раза, до 3–4 ч – с небольшими интервалами от 5 раз в сутки.

В зависимости от используемых материалов все печи классифицируются следующим образом (по возрастанию их теплоемкости):

♦ чугунные (без футеровки (защитной отделки));

♦ стальные (с внутренней футеровкой из огнеупорного кирпича);

♦ кирпичные (устанавливаются в металлических футлярах);

♦ из огнеупорного бетона;

♦ кирпичные (со штукатуркой);

♦ кирпичные изразцовые.

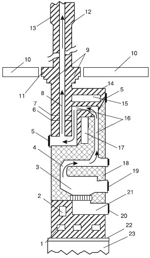
Основные элементы печного устройства представлены на рис. 3.11.

Принцип действия печи таков. Тепло, выделяемое в ней при сгорании топлива, передается помещению через стенки топливника и газоходов; охладившиеся газы отводятся наружу через дымовую трубу.

Иллюстрация к книге — Обустройство и ремонт дома быстро и дешево. Коммуникации и интерьер своими руками всего за 2 месяца [i_037.jpg]

Рис. 3.11. Устройство бытовой печи:

1 – шанцы; 2 – подтопочный канал; 3 – топливник; 4 – проем в перекрытии топливника (хайло); 5 – прочистные отверстия; 6, 7 – задвижки; 8 – дымовой канал (дымоход); 9 – разделка; 10 – перекрытие; 11 – теплоизоляция; 12 – выдра; 13 – дымовая труба; 14 – перекрыша; 15 – душник; 16 – конвективная система; 17 – камера; 18 – свод; 19, 20 – дверцы; 21 – зольниковая камера (поддувало, зольник); 22 – гидроизоляция; 23 – фундамент

Установка печи

Перед кладкой печи необходимо определить ее место в помещении. Она должна не «конфликтовать» с другими конструкциями дома и гармонично вписываться в интерьер.

Чаще всего печь устанавливают в ближайшем к входной двери углу капитальной внутренней стены (здесь же проходят и дымовые каналы). Это освобождает часть полезной площади помещения. При капитальных ремонтах зданий печи необходимо устанавливать как можно ближе к дымовой трубе, чтобы топить можно было из коридора или другого нежилого помещения.

Рекомендую в качестве наиболее практичного варианта открытую установку отопительной печи, при которой весь ее массив будет отдавать теплоту непосредственно в помещение.

Вход
Поиск по сайту
Ищем:
Календарь