Книга Полный справочник пчеловода, страница 75 – Валерий Корж

Авторы: А Б В Г Д Е Ж З И Й К Л М Н О П Р С Т У Ф Х Ч Ш Ы Э Ю Я
Книги: А Б В Г Д Е Ж З И Й К Л М Н О П Р С Т У Ф Х Ц Ч Ш Щ Ы Э Ю Я
Бесплатная онлайн библиотека LoveRead.in

Онлайн книга «Полный справочник пчеловода»

📃 Cтраница 75

Венички для сметания пчел с рамок. Пользоваться для этих целей общей щеткой или гусиным пером, как это часто рекомендуется в литературе, мы не советуем из-за возможного переноса возбудителей болезней между семьями. Лучше сделать для каждой семьи свой мягкий веничек (из проса, сорго, плотной травы и т. п.) и хранить его в подкрышнике улья.

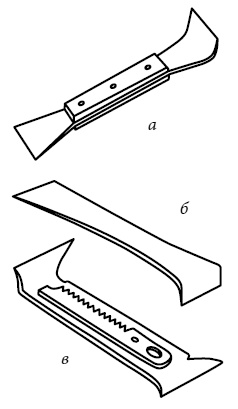
Иллюстрация к книге — Полный справочник пчеловода [i_109.jpg]

Рис. 78. Стамеска пасечная:

а — с накладками; б — обычная; в — универсальная


Приспособление для снятия роев. Представляет собой две рамки старой темной суши, прибитые к концу легкого длинного (3–5 м) шеста верхними планками в виде буквы «Л». Перед поимкой роя рамки натирают мелиссой и подносят их к рою, который постепенно переходит на рамки. Рамки опускают вниз и стряхивают пчел в пчеловодный ящик, в который предварительно установлены 3–5 рамок суши. Процедуру повторяют несколько раз, пока в ящике не окажется матка и большинство пчел. Затем крышку ящика прикрывают и дожидаются, пока все пчелы перелетят в ящик.

Удалитель пчел. Предназначен для удаления пчел из медовых магазинов перед откачкой из них меда. Раньше для этих целей использовали удалители Портера, в которых пчелы через систему подвижных лепестков имеют возможность проходить только в одну сторону — из магазина. Однако при постановке этого удалителя пчелы быстро прополисуют подвижные лепестки и он перестает работать.

В последние годы появились новые конструкции механических удалителей, при помощи которых можно надежно удалять пчел. Это, в частности, канадский удалитель «Квебек», который легко можно изготовить самостоятельно на любой пасеке (рис. 79).

Иллюстрация к книге — Полный справочник пчеловода [i_110.jpg]

Рис. 79. Удалитель «Квебек»:

1 — деревянная рама; 2 — фанерная плита; 3 — шесть брусочков и сетка, закрывающая их


В основу работы удалителя положен инстинкт пчел — они всегда непроизвольно стремятся уйти от центра замкнутой полости к ее периферии как бы под действием центробежной силы.

Внешние размеры удалителя соответствуют размерам корпуса улья. В середине фанерной плиты сделано отверстие диаметром 50 мм. С нижней стороны удалителя, направленной к расплодному гнезду, к плите прикреплены шесть деревянных брусочков, образующих два треугольника. В каждой вершине треугольника для пчел оставлен проход шириной не более 10 мм. Размеры брусков следующие: длина внешних брусков — 315 мм; внутренних — 200; ширина каждого бруска — 15; толщина — 10 мм. Расстояние между каждой парой параллельных брусков — 18 мм.

Все бруски по периметру внешнего треугольника закрываются куском сетки. Размер ячеек сетки — не более 3 × 3 мм. Сетка прибивается к брусочкам гвоздиками и не дает возможности пчелам выходить в гнездо напрямую; они могут выйти вниз только через отверстия 10 мм в вершинах треугольников.

Удалитель за 6–8 ч до откачки меда устанавливают между медовым магазином и остальными корпусами с расплодным гнездом. Если в медовом магазине есть леток, то его закрывают. Пчелы из магазина проходят через отверстие в центре плиты и попадают в пространство, которое образуют бруски и сетка. Через сетку проникнуть прямо в гнездо они не могут. Следуя инстинкту, они в закрытом пространстве идут не в центр, а к периферии, то есть к вершинам треугольников, и там через проходы попадают в гнездовой корпус. При попытке вернуться из гнездового корпуса в магазин пчелы попадают на сетку. Тех же из них, кто сможет пройти через отверстие в вершине треугольника, ожидает лабиринт: они чаще всего выбирают коридор между параллельными брусками, доходят до другой вершины треугольника и опять возвращаются в гнездо.

Инвентарь для оснащения рамок

Лекало для наващивания рамок. Доска толщиной 20 мм, длиной 410 мм, шириной 260 мм (для рамки 435 × 300 мм) или 200 мм (для рамки 435 × 230 мм).

Ульевую рамку перед наващиванием кладут на лекало так, чтобы натянутая на рамке проволока лежала на нем.

Проволока (для припайки к ней вощины). Должна быть из мягкой стали, диаметром 0,35–0,5 мм, лучше луженой.

Дырокол. Служит для прокалывания отверстий в боковых планках рамок, через которые будет продеваться проволока.

Трансформатор для наващивания рамок. Маломощный (30–40 Вт) трансформатор, понижающий сетевое напряжение 220 В до 6–12 В на выходе.

Для наващивания рамку проволокой кладут на лекало, накрывают листом вощины и кратковременно подключают низковольтное напряжение к противоположным концам натянутой на рамку проволоки. В результате этой операции проволока нагревается, плавит вощину в месте ее соприкосновения с проволокой, и вощина спаивается с проволокой.

Инвентарь для откачки меда

Нож для распечатывания сотов. Можно использовать механический очень остро заточенный нож с фаской, который перед применением прогревают в горячей воде (рис. 80, а).

Это может быть и паровой нож, который обогревается паром, поступающим из парогенератора в полость лезвия ножа (рис. 80, б).

Можно использовать электрический нож, который обогревается при помощи электронагревательного элемента, вмонтированного в полость ножа.

Вилка для распечатывания сотов. Пластмассовая вилка шириной до 80–100 мм с ручкой. В качестве распечатывающего элемента используется ряд острых стальных иголок, впаянных в пластмассовое основание вилки (рис. 81).

Иллюстрация к книге — Полный справочник пчеловода [i_111.jpg]

Рис. 80. Ножи для распечатывания сотов:

а — обыкновенные пасечные; б — паровой

Иллюстрация к книге — Полный справочник пчеловода [i_112.jpg]

Рис. 81. Вилка для распечатывания сотов


Каток для распечатывания сотов. Представляет собой металлический цилиндр с выступающими по всей его площади короткими штифтами. Цилиндр закрепляется на держаке с ручкой. При прокатывании катка по медовому соту штифты разрушают восковые крышечки.

Медогонка. Предназначена для выкачивания меда из сотов под воздействием центробежной силы. Состоит из металлического цилиндрического бака, в середине которого проходит вертикальная ось, закрепленная снизу и сверху на подшипниках. На этой оси закрепляется барабан с кассетами, куда вставляются рамки. Барабан вращается при помощи механического ручного привода или электропривода. Внизу у дна медогонки имеется кран, через который удаляется откачанный мед.

Вход
Поиск по сайту
Ищем:
Календарь