Книга Лестницы и перила. Проектируем и строим, страница 34 – Галина Серикова

Авторы: А Б В Г Д Е Ж З И Й К Л М Н О П Р С Т У Ф Х Ч Ш Ы Э Ю Я
Книги: А Б В Г Д Е Ж З И Й К Л М Н О П Р С Т У Ф Х Ц Ч Ш Щ Ы Э Ю Я
Бесплатная онлайн библиотека LoveRead.in

Онлайн книга «Лестницы и перила. Проектируем и строим»

📃 Cтраница 34

• они могут выполняться в виде секций и собираться непосредственно на месте;

• от вертикального членения секции можно отказаться или смонтировать его, не привязывая работу к шагу ступеней, или вообще представить нижнюю часть ограждения в виде ломаной линии;

• такого рода ограждения допускают комбинации различных материалов (металла и камня, дерева и стекла), разнообразную отделку, например витраж, барельеф и др.

Основное условие – размещение поверх поручня, сечение которого должно быть не меньше, чем толщина ограждения. Наименьший диаметр поручня – 40 мм, самым комфортным считается профиль сечением 70 × 45 мм, в целом же размеры поручня зависят от конструкции лестницы.

В индивидуальном строительстве сплошное ограждение встречается редко, и в большей степени оно характерно для бетонных лестниц, выполненных из готовых маршей.

В последнее время снова актуальными становятся лестницы с металлическим ограждением. Так как на поручень, по сравнению с основной конструкцией, приходится меньшая нагрузка, то вовсе не обязательно изготавливать конструкцию из стального профиля. Гораздо дешевле обходится и при этом не менее красиво смотрится ограждение, сваренное из пустотелого профиля с квадратным сечением. Что касается поручня, то его рекомендуется выполнить из дерева, закрепив наверху металлической конструкции полосу того же профиля, что и выборка в поручне. В качестве средства крепежа в таком случае используется клей (хотя многие практикуют саморезы).

При проектировании ограждения необходимо продумать и фиксацию его элементов, в частности опор и балясин. Логично предположить, что балясина крепится к косоуру внакладку. На самом деле она всегда устанавливается под прямым углом к плоскости проступи, после чего фиксируется одним из многочисленных способов, например таких:

• шкантами (50 × 10, 60 × 12, 70 × 14, 70 × 16 мм). Это традиционный способ, но прочность такого соединения в данном случае недостаточна;

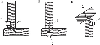
• саморезами. Для этого сбоку или снизу выбирается вспомогательный паз, который по окончании работы маскируется заглушкой диаметром 10 или 20 мм. Таким же способом прикрепляется и поручень (рис. 65);

• резьбовой шпилькой (рис. 66). Этот способ применяется исключительно при перпендикулярном положении деталей, т. е. для фиксации поручня он не пригоден. В качестве шпильки используется глухарь диаметром 6 и 8 мм. Первый подходит для хвойной древесины, второй для твердых пород. Длина шпильки составляет, как минимум, 70 мм (остальная часть просто отпиливается). Чтобы шпильку можно было закрутить, отрезанный конец затачивается. Само крепление выполняется в таком порядке (рассмотрим на примере ступени толщиной 40 мм):

а) выполните на проступи отверстие диаметром 6 мм и глубиной 35 мм;

б) вставьте шпильку и закрутите ее газовым ключом № 0 до упора (но не глубже, чтобы отверстие не превратилось в сквозное);

Иллюстрация к книге — Лестницы и перила. Проектируем и строим [_65.jpg]

Рис. 65. Крепление балясины саморезами: а – к ступени сбоку; б – к ступени снизу; в – к поручню; 1 – саморез; 2 – заглушка

Иллюстрация к книге — Лестницы и перила. Проектируем и строим [_66.jpg]

Рис. 66. Крепление балясины к проступи резьбовой шпилькой: 1 – проступь; 2 – балясина; 3 – шпилька


в) в центре балясины сверлом диаметром 6,2 мм сделайте отверстие по глубине больше длины торчащей шпильки;

г) наденьте балясину на шпильку и руками накрутите ее на шпильку так глубоко, как сможете.

К тетиве балясины прикрепляются так же, как к поручню, но аккуратнее выглядит соединение на подбалясенник.

Если ограждение играет роль несущей конструкции, то представленные способы крепления балясин не подходят, поскольку не дают необходимой в таком случае прочности.

Монтаж

Наиболее простая конструкция перил состоит из угловых стоек, которые поддерживают поручень, собственно поручней и балясин. Установка угловых стоек осуществляется в начале работы. Но чтобы результат не вызвал каких-либо проблем, необходимо следовать чертежу. Допустим, наша лестница с открытыми тетивами. Угловые опоры должны быть поставлены на определенном расстоянии от краев проступей. Для этого достаточно начертить вид лестницы сверху в масштабе (рис. 67).

Иллюстрация к книге — Лестницы и перила. Проектируем и строим [_67.jpg]

Рис. 67. Расположение угловых стоек: 1 – тетива; 2 – край проступи; 3 – угловые стойки


Перед тем как зафиксировать угловые столбы, в них необходимо выбрать пазы и рассчитать высоту стоек от проступи или площадки до будущего поручня. Последний параметр будет точным только в том случае, если рулетка занимает вертикальное положение, но измерение придется проводить в воздухе. Трудность возникнет при установлении положения носка проступей, поскольку они еще не смонтированы.

Чтобы разрешить эти проблемы, изготовьте из фанеры шаблон (рис. 68):

• разметьте на площадках месторасположение угловых стоек;

• разместите и прикрепите шаблоны ступеней в том положении, что должно быть реализовано по проекту;

• положите кусок фанеры так, чтобы он перекрыл носки установленных временных подступенков;

• используя отвес, начертите вертикальные линии по концам фанеры;

• перенесите фанеру на стол, от нижнего ребра вдоль вертикалей отложите необходимую высоту (например, 900 мм) и соедините полученные точки;

• отпилите лишнюю фанеру по трем линиям.

Размеры проема, который необходимо устроить для лестницы в перекрытии, определяются ее габаритами. Но правила его устройства практически одинаковы для конструкций разного типа. После того как рассчитаны пропорции проема, прибавьте к каждой его стороне, как минимум, 50 мм – чтобы после монтажа лестницы была возможность провести его отделку.

Теперь можно воспользоваться шаблоном и разметить угловые стойки.

Закончив с установкой угловых стоек, можно осуществить монтаж остальных элементов лестницы (тетив, проступей, подступенков). Далее надо изготовить и смонтировать перила. Но до этого на нижней стороне поручня разметьте расположение балясин. Как правило, каждая ступень несет по 2 балясины. Чтобы конструкция выглядела красиво, шаг от одной балясины до другой должен быть одинаковым. Сначала определите, где на проступи должна стоять передняя балясина.

Иллюстрация к книге — Лестницы и перила. Проектируем и строим [_68.jpg]

Рис. 68. Изготовление шаблона для угловых стоек: а – рабочий момент; б – окончательный вид; 1 – фанера; 2 – временная проступь; 3 – угловая стойка

Вход
Поиск по сайту
Ищем:
Календарь