Книга Лестницы и перила. Проектируем и строим, страница 37 – Галина Серикова

Авторы: А Б В Г Д Е Ж З И Й К Л М Н О П Р С Т У Ф Х Ч Ш Ы Э Ю Я
Книги: А Б В Г Д Е Ж З И Й К Л М Н О П Р С Т У Ф Х Ц Ч Ш Щ Ы Э Ю Я
Бесплатная онлайн библиотека LoveRead.in

Онлайн книга «Лестницы и перила. Проектируем и строим»

📃 Cтраница 37

• просверлите в досках отверстия и раззенкуйте их. То же самое сделайте с угловыми брусками;

• прикрепите бруски сначала к короткой стороне, после чего соберите коробку, зафиксировав соединение струбциной;

• внутрь коробки нижней ступени установите промежуточные доски, прикрепив их угловыми брусками на расстоянии примерно 500 мм. Роль этих досок – быть ребрами жесткости и лагами одновременно;

• установите каркас нижней ступени на место, выровняйте и, проконтролировав его горизонтальность, прибейте ее к стене дюбелями;

• положите на каркас доски с зазором 50 мм (чтобы его выдержать, вкладывайте между досками соответствующей толщины прокладку) и свесом по периметру 10 мм и прибейте их;

• аналогичным образом выполните верхнюю ступень, выровняйте ее и прикрепите к нижней ступени стальными уголками, разместив их внутри конструкции;

• если предполагается устроить в лестнице клумбу, то углубление в верхней ступени следует отделать водонепроницаемой пленкой;

• законченную лестницу обработайте маслом лиственницы, которое защитит ее от природно-климатических факторов и сохранит естественный цвет древесины.

Садовый домик, как правило, не отличается большой площадью. Если в нем имеется неотапливаемая мансарда, то возникает проблема с устройством лестницы. Разместить ее в комнате – это значит позволить теплу подниматься вверх и охлаждать помещение, или придется устанавливать специальный люк либо утеплять мансарду и обогревать весь дом. Ни один из этих вариантов нельзя считать приемлемым, поскольку лестница займет в комнате немало места, которого и так всегда не хватает. Следовательно, остается поставить ее в узком коридоре.

Определившись с местом, необходимо принять решение о конструкции. Учитывая ограниченность пространства, выбор не столь велик – либо винтовая, либо поворотная лестница. Как более удобной следует отдать предпочтение последней.

Для простоты изложения примем, что высота помещения 2400 мм, а ширина коридора 1400 мм. Забегая вперед, скажем, что сооруженная конструкция займет всего лишь 1,5 м (рис. 74).

Остановимся на процессе изготовления и монтажа лестницы:

• роль центральной стойки будет играть брус сечением 150 × 150 мм. Его можно установить от пола до потолка или несколько укоротив и украсив верхнюю часть, например, шаром;

• между прямыми верхним и нижним маршем расположен поворотный марш с забежными ступенями;

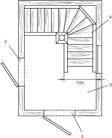
Иллюстрация к книге — Лестницы и перила. Проектируем и строим [_74.jpg]

Рис. 74. План коридора (размеры указаны в миллиметрах): 1 – входная дверь; 2 – дверь во внутреннее помещение; 3 – коридор; 4 – лестница


• место для столба определяется следующим образом: отложите от левой (так как лестница правоповоротная) и передней стен по 700 мм (ширину лестницы). Точка пересечения и будет искомым местом. Установите столб и зафиксируйте его временными подкосами;

• для изготовления нижней тетивы (для нее возьмите доски сечением 200 × 50 мм) и разметки угла запила ее основания необходимо воспользоваться малкой. Установите тетиву на соответствующее место и с помощью малки определите угол ее наклона (рис. 75), прочертите линию и по ней спилите нижнюю часть заготовки. То же самое проделайте с верхним концом тетивы. Используя первую тетиву в качестве шаблона, разметьте вторую тетиву и установите обе;

Иллюстрация к книге — Лестницы и перила. Проектируем и строим [_75.jpg]

Рис. 75. Определение угла наклона нижней тетивы: 1 – тетива; 2 – столб; 3 – малка


• как правило, проступи прикрепляются с шагом 180–200 мм. При высоте 2400 мм и шаге 200 мм количество ступеней будет равно 12. Есть разные способы прикрепления их к тетивам: например, можно воспользоваться металлическим крепежом или выбрать традиционный – вставить проступи в пазы. Первый способ очень надежный, второй и прочный, и более красивый. В последнем случае разметьте и выберите пазы (как это сделать, описано выше) по количеству ступеней (их три). Вставьте в пазы ступени;

Если высота этажа в вашем доме не совпадает с нормативной и не кратна трем, то высоту подступенка следует рассчитывать с точностью до 1 мм (дробные величины надо округлять), добиваясь, чтобы высота всех подступенков была одинаковой. Образующуюся вследствие округления погрешность необходимо распределить на нижнюю фризовую ступень.

• после нижнего прямого марша начинается поворотный с забежными ступенями (их пять). В столбе выберите пазы и вставьте в них ступени, расположив их веером, потом установите тетиву в угол и подгоните ступени таким образом, чтобы они вошли в ее пазы. Для этого снова воспользуйтесь малкой. Измерив углы ά и β, опилите торец проступи под углом ά и, определив длину проступи по месту, опилите торец с другой стороны под углом β, после чего вставьте проступь в пазы (рис. 76). Таким же образом разметьте и установите остальные ступени.

• верхний марш отличается от нижнего только количеством ступеней (их четыре), но выполняется так же;

• в заключение установите перила. Чтобы не тратить времени на заказ или изготовление балясин, купите готовые. Прикрепите балясины к тетивам шпильками диаметром 15–20 мм и длиной 200 мм. К перилам зафиксируйте их саморезами (обязательно контролируйте вертикальность). Последние утопите и замаскируйте отверстие деревянной пробкой, спилите выступающий ее конец. Обработайте соединение наждачной шкуркой;

Иллюстрация к книге — Лестницы и перила. Проектируем и строим [_76.jpg]

Рис. 76. Изготовление забежных ступеней: а – измерение углов ά и β; б – опиливание торцов


• после того как все детали лестницы изготовлены, начерно соберите лестницу и установите ее. Если потребуется, устраните погрешности, после чего отделайте лестницу по своему усмотрению;

• в заключение установите всю конструкцию, соединения (где необходимо) усильте шурупами и клеем.

Приложение
Лестницы и затраты на них

При сооружении лестницы очень важно избегать ненужных затрат. Такую возможность дает использование стандартных деревянных деталей, которые можно приобрести в строительных магазинах. Перечислим некоторые из них.

Стандартные ступени длиной 800–1200 мм, шириной 300 мм и толщиной 30–40 мм реализуются с калевкой радиусом 12,5 мм и прямые. Помимо них, можно приобрести фризовые ступени, причем правые и левые (H220 × 400 × 1200 мм, R200 и H220 × 400 × 1400 мм, R200 мм). Толщина ступеней в тех случаях, если лестница оснащается подступенками или если будет облицовываться бетонная конструкция, определяющим фактором при выборе не является. В отсутствие подступенков есть два возможных варианта:

Вход
Поиск по сайту
Ищем:
Календарь