Книга Современные подвалы, подполы и погреба, страница 49 – Галина Серикова

Авторы: А Б В Г Д Е Ж З И Й К Л М Н О П Р С Т У Ф Х Ч Ш Ы Э Ю Я
Книги: А Б В Г Д Е Ж З И Й К Л М Н О П Р С Т У Ф Х Ц Ч Ш Щ Ы Э Ю Я
Бесплатная онлайн библиотека LoveRead.in

Онлайн книга «Современные подвалы, подполы и погреба»

📃 Cтраница 49

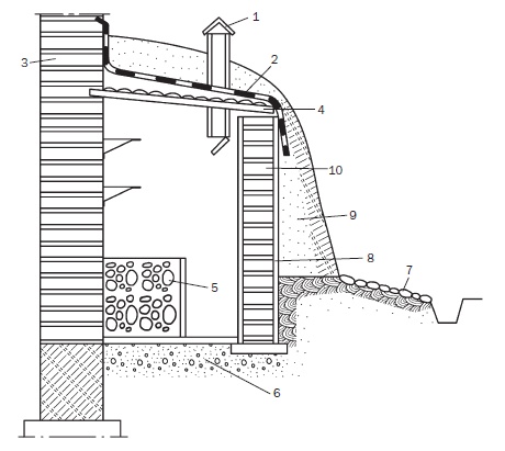
С одного из торцов устройте лаз размером 60 × 80 см с двумя дверцами, между которыми на зиму вкладывается утеплитель. С этой же стороны сделайте небольшой продух (12 × 12 см).

Погреб накройте двухскатной крышей и покрытием из рубероида, шифера и того, что есть в наличии.

Вокруг погреба проложите водоотводную канаву глубиной 45–60 см, наполните ее кирпичным боем, ветками и т. п.

По периметру постройки выполните отмостку шириной 1 м с уклоном в сторону от погреба.

Вариант 3. Удобный погреб (рис. 80) можно пристроить к стене дома.

Иллюстрация к книге — Современные подвалы, подполы и погреба [i_097.jpg]

Рис. 80. Погреб (вариант 3): 1 – вентиляционная труба; 2 – рубероид; 3 – стена дома; 4 – перекрытие; 5 – закром; 6 – щебень; 7 – отмостка; 8 – гидроизоляция; 9 – обваловка; 10 – стена погреба

Осваиваем пространство ниже нулевой отметки

Стены подвала могут разрушаться и без действия сил морозного пучения – при монтаже перекрытия. Если автокран поставлен неправильно, т. е. в непосредственной близости к стенам подвала, то в грунте возникнет высокий уровень напряжения, причем давление грунта на стены возрастает при укладке дальних плит. Чтобы не допустить этого, опорная площадка крана должна отстоять от стен не менее чем на 80 см и монтаж надо начинать с ближних плит.

С той стороны дома, где планируете строить погреб, выкопайте небольшую выемку глубиной 20–50 см, предварительно сняв дернину.

Уплотните и выровняйте основание, насыпьте на него щебеночную подушку, уплотните ее и залейте получившуюся поверхность бетоном толщиной 10–15 см.

Когда бетон отвердеет, сделайте по нему цементную стяжку, которая будет полом в строящемся погребе.

Стены погреба возведите из кирпича на цементно-песчаном растворе, еще для этого можно использовать камень или монолитный бетон, залитый в опалубку.

С внутренней стороны оштукатурьте стены цементным раствором, снаружи выполните обмазочную гидроизоляцию. Для перекрытия подойдет толстый горбыль, по которому уложите слой глиняной обмазки и два слоя рубероида.

В завершение работы выполните обваловку и на расстоянии 1–1,5 м устройте водоотводную канаву.

Завершая короткий обзор, следует подчеркнуть, что представленные конструкции – это только часть тех проектов, которые можно построить на участке.

Осваиваем пространство ниже нулевой отметки

Неопытные застройщики не учитывают гидростатическое давление грунтовых вод. Если их горизонт залегает высоко или паводковые воды высоки, а вес возведенной постройки небольшой, то не избежать того, что подвал, погреб, смотровая яма в гараже, пустой бассейн просто всплывут. Герметичный подвал может превратиться в плавучую платформу, которая причинит немало разрушений.

Обустройство погреба

Невозможно представить современный погреб, в котором нет освещения. Вряд ли таким помещением будет удобно пользоваться. Поэтому обустройство погреба следует начать с его электроснабжения.

Провести электрическое освещение, особенно если погреб находится в непосредственной близости от дома, – задача не слишком трудная. В подобных помещениях монтируется наружная электропроводка на роликах, для чего используется медный провод с резиновой изоляцией (марки ПР, ПРГ, АПР) в оплетке из специально обработанной хлопчатобумажной пряжи.

Чтобы защитить электрические лампочки от влаги, их заключают в стеклянные колпаки. Выключатель должен находиться с наружной стороны погреба в 1,5 м от земли, установка розеток в погребе запрещена. Если погреб довольно сырой, то освещение проводится только в тамбур, через открытую дверь которого можно осветить остальное пространство.

В погребе, как и в подвале, желательно разместить психометр, чтобы контролировать влажность воздуха.

Осваиваем пространство ниже нулевой отметки

Плесень, сырость… Кто не знает проблем с ними? Даже применив современные средства, не всегда удается справиться с этой напастью. Сырость появляется по разным причинам: при неэффективной вентиляции, протечках на крыше, некачественной герметизации панельных швов, нарушении технологии строительства, например, при уменьшении сроков просушки материалов влага частично остается в стене, после чего может превратиться в грибок.

Нередко в погребе случаются небольшие неприятности, которые, если не обращать на них внимания, могут перерасти в крупные проблемы. Например, случается, что на потолке погреба собирается конденсат, от которого может пострадать хранящаяся в нем продукция. Как правило, это происходит из-за недостаточного утепления потолка и стен или плохого функционирования вентиляционной системы. Поэтому необходимо устранить причину случившегося, после чего оборудовать зонтик из оцинкованного железа, по краям которого разместить желоба, по ним вода будет стекать и направляться в приямок или ведро (рис. 81).

Иллюстрация к книге — Современные подвалы, подполы и погреба [i_098.jpg]

Рис. 81. Устройство зонтика для отвода воды в погребе: 1 – желоб; 2 – люк; 3 – перекрытие; 4 – зонт


Итак, мы рассмотрели наиболее важные вопросы, связанные с постройкой на участке погреба, дома с подвальным помещением или обустроенным подпольем, и надеемся, что смогли заинтересовать и сподвигнуть вас на обустройство вашего участка подобным образом.

Осваиваем пространство ниже нулевой отметки

С сыростью можно бороться, для этого имеются разнообразные средства: осушающие, противогрибковые и др. Многие из них в условиях подвального помещения трудно применимы. Поэтому важно не создавать условий для сырости и прежде всего обращать внимание на вентиляцию.

ПРИЛОЖЕНИЕ

Таблица № 1

Количество строительных материалов, помещающихся в десятилитровом ведре

Иллюстрация к книге — Современные подвалы, подполы и погреба [i_099.jpg]

Таблица № 1 (продолжение)

Иллюстрация к книге — Современные подвалы, подполы и погреба [i_100.jpg]

Таблица № 2

Сроки хранения в погребе огородных культур при оптимальных условиях

Иллюстрация к книге — Современные подвалы, подполы и погреба [i_101.jpg]

Таблица № 2 (продолжение)

Вход
Поиск по сайту
Ищем:
Календарь