Книга Современные подвалы, подполы и погреба, страница 44 – Галина Серикова

Авторы: А Б В Г Д Е Ж З И Й К Л М Н О П Р С Т У Ф Х Ч Ш Ы Э Ю Я
Книги: А Б В Г Д Е Ж З И Й К Л М Н О П Р С Т У Ф Х Ц Ч Ш Щ Ы Э Ю Я
Бесплатная онлайн библиотека LoveRead.in

Онлайн книга «Современные подвалы, подполы и погреба»

📃 Cтраница 44

Пол в погребе глинобитный. Он устраивается на щебеночной подушке толщиной 5 см, чтобы создать препятствие капиллярной влаге. Для большей плотности в глину утоплен и утрамбован кирпичный бой или щебень.

Для перекрытия используйте жерди или подтоварник, которые сверху покройте глиной, смешанной с соломенной резкой, и засыпьте землей (30–40 см). Чтобы не допустить промерзания погреба зимой, можно дополнительно утеплить перекрытие.

Возведите над погребом двухскатную крышу, которая по бокам доходит до поверхности земли, при этом свесы должны перекрыть котлован, как минимум, на 50 см с каждой стороны. Для крыши используйте подручный материал, но конек следует сделать из толстой обрезной доски, подложив под него слой рубероида или толя.

Дверь изготовьте из хорошо пригнанных досок толщиной 40–50 мм. Для отведения воды по периметру выкопайте траншею глубиной 50–60 см.

Осваиваем пространство ниже нулевой отметки

Холодная мастика для гидроизоляции готовится по-другому. Чтобы получить 10 кг мастики, потребуется 5 кг нефтяного битума (температура плавления 90 °C), 3 кг керосина, 2 кг мелкого наполнителя. Емкость с битумом надо расплавить (при этом нужно снимать пену). Когда пена перестанет выделяться, снять емкость с огня и, перемешивая, порционно влить керосин, потом наполнитель и довести содержимое до однородного состояния.

Вариант 2. Погреб-ледник (рис. 61) состоит из двух отделений – погребицы и льдохранилища. В местностях, где лето жаркое, в качестве дополнительной теплоизоляции устраивается обваловка. Кроме того, погреб оборудован тамбуром, чтобы не допускать в нем повышения температуры.

Иллюстрация к книге — Современные подвалы, подполы и погреба [i_078.jpg]

Рис. 61. Погреб (вариант 2): а – общий вид; б – разрез; в – план; 1 – песок; 2 – глиносоломенное покрытие; 3 – вытяжная труба; 4 – приточная труба; 5 – наземная часть; 6 – стены хранилища для льда; 7 – труба водоотвода; 8 – трап


При постройке погреба земляные работы выполняйте вручную, чтобы стены и основание котлована остались неповрежденными, следовательно, и водонепроницаемыми. Чтобы в процессе рытья котлована в нем не скапливались атмосферные осадки, по периметру выкопайте водоотводную канаву.

Выровняйте основание котлована.

Оптимальная толщина стен погреба: 12–15 см. В качестве материала используйте бетон следующего состава: цемент М300-400, песок, щебень (1:2:4). Щебень и песок должны быть освобождены от посторонних примесей, в том числе и от глины, которая, обволакивая их, ухудшает сцепление с цементом, отчего страдает качество бетона.

Устройте опалубку и за один прием выполните бетонирование, это даст гарантию отсутствия швов и слабых мест.

Стенки надземной части выложите в полкирпича, используя для кладки цементно-песчаный раствор (1:3).

Дверь изготовьте из хорошо пригнанных досок толщиной 40–50 мм.

Выполните двухслойную обмазочную гидроизоляцию надземной части (это может быть либо чистый битум, либо горячая битумная мастика). Горячая мастика наносится на предварительно нанесенную битумную грунтовку толщиной 0,1 мм.

Для подземной части предлагается обмазочно-оклеечная гидроизоляция (на слой битума наклейте рубероид, потом покройте его горячим битумом и обсыпьте крупнозернистым песком. Когда вся конструкция затвердеет, осуществите обваловку наружных стен грунтом).

Погреб оборудуйте приточно-вытяжной вентиляцией. Основная трудность при сооружении погреба-ледника состоит в выборе места под него, поскольку в зависимости от этого способы отведения талой воды имеют свои особенности. Если он строится в плотном глинистом грунте, то в льдохранилище выкапывается приямок, куда по трапу с гидравлическим затвором будет стекать талая вода и по трубе отводиться, например, в водосборный колодец.

Осваиваем пространство ниже нулевой отметки

Чтобы забетонировать пол погреба или подвала, выставляются маяки, потом заливается бетон, разравнивается, уплотняется. Когда бетон схватится, маяки нужно снять, а открывшиеся промежутки заполнить бетонным раствором. Через 1–2 дня бетон следует покрыть цементной стяжкой, которая скроет мельчайшие дефекты и повысит водонепроницаемость пола. В течение следующих 1–2 недель бетонный пол необходимо периодически увлажнять, чтобы не допустить трещинообразования.

В песчаных грунтах водосборный приямок должен иметь вид скважины. Тогда вода будет отводиться по вертикальному дренажу.

Если невозможно устроить водоотвод, то для этого предусматриваются специальные поддоны, из которых вода должна время от времени удаляться, иначе образующаяся на полу теплопроводная прослойка ускорит таяние льда.

Лед для погреба выпиливается кусками, что позволяет уложить его более компактно, причем эти куски должны не мене двух дней оставаться на морозе. Потом перенесите их в ледник, уложите, промежутки засыпьте снегом и мелкими кусочками льда, пересыпанными крупной солью. Поверх льда постелите полиэтиленовую пленку и соломенные маты.

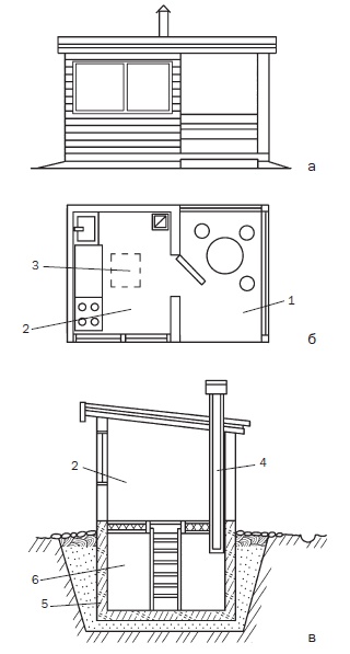
Вариант 3. Нередко погреб для удобства располагается под летней кухней (рис. 62).

Выкопайте котлован, размер которого должен быть больше погреба примерно на 60 см, что позволит без труда выполнить каменные, бетонные работы, устроить гидроизоляцию. Но не нужно делать котлован слишком большим, иначе возникнут проблемы с обратной засыпкой. Ведя работы вручную, вы не повредите нижележащие грунты, следовательно, не создадите условий для подъема грунтовых вод.

Иллюстрация к книге — Современные подвалы, подполы и погреба [i_079.jpg]

Рис. 62. Погреб (вариант 3): а – общий вид; б – план; в – разрез; 1 – терраса; 2 – летняя кухня; 3 – вход в погреб; 4 – вентиляционная труба; 5 – слой гидроизоляции; 6 – погреб


Спланируйте и зачистите основание котлована, из щебня или кирпичного боя выполните подушку толщиной 8-10 см, тщательно уплотните ее и залейте горячим битумом, которого потребуется примерно 4–5 кг на 1 м2. Таким образом, щебеночная подготовка станет водонепроницаемой.

Стены погреба станут фундаментом для летней кухни. Гидроизолируйте его удобным для вас способом.

Установите опалубку и выполните монолитные железобетонные стены толщиной 20–30 см, предварительно настелив два слоя рубероида для гидроизоляции. В качестве арматуры используйте прутки, связанные мягкой проволокой.

Сняв опалубку, покройте стены с обеих сторон цементно-песчаной штукатуркой (1:2) толщиной 10–20 мм.

Постройте летнюю кухню по своему усмотрению.

Осваиваем пространство ниже нулевой отметки

Стены погреба можно сделать бетонными. Для этого следует установить опалубку, но не на всю высоту стены, а примерно на 45–50 см. В образовавшийся зазор заливается раствор, уплотняется. Когда слой схватится, выполняется следующий. Примерно через 10–15 дней опалубка снимается и цементным раствором затираются все мелкие дефекты.

Вход
Поиск по сайту
Ищем:
Календарь