Онлайн книга «Сварочные работы. Практический справочник»
|
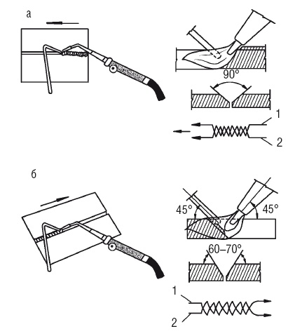
✓ подготовить кромки металла; ✓ подобрать соответствующую мощность горелки; ✓ отрегулировать пламя горелки; ✓ взять необходимый присадочный материал; ✓ правильно сориентировать горелку и определить траекторию ее перемещения по выполняемому шву. Как и при дуговой сварке, при газовой кромки свариваемого металла нужно подготовить. Их очищают (на 20–30 мм с каждой стороны) от ржавчины, влаги, масла и проч. Для этого достаточно прогреть кромки. В случае сварки цветных металлов используют механические и химические способы очистки. При осуществлении стыковых соединений (табл. 7) следует помнить о некоторых правилах разделки кромок: ✓ при сваривании тонколистового металла (до 2 мм) присадки не используют – достаточно выполнить отбортовку кромок, которые потом расплавляются и дают валик сварного шва. Возможен и такой вариант: сварить кромки встык без разделки и зазора, но с применением присадочного материала; Таблица 7 Предварительная подготовка кромок свариваемого металла при выполнении стыковых соединений ![]() ![]() Примечание: a – величина зазора; a1 – величина притупления; S и S1 – толщина металла. ✓ при сваривании металла толщиной менее 5 мм можно обойтись без скоса кромок и вести одностороннюю газовую сварку; ✓ при соединении металла толщиной более 5 мм кромки скашивают под углом в 35–40°, чтобы общий угол раскрытия шва составлял 70–90°. Это позволит проварить металл на всю толщину. При выполнении угловых соединений присадочный материал не используют, а шов формируют расплавлением кромок металла. Нахлесточные и тавровые соединения допускаются исключительно при сварке металла толщиной до 3 мм, поскольку при большей толщине локальный нагрев металла бывает неравномерным, что приводит к развитию значительных внутренних напряжений и деформаций, а также к появлению трещин как в металле шва, так и в основном металле. Чтобы в процессе сварки детали не сдвигались и зазор между ними не изменялся, их фиксируют либо специальными приспособлениями, либо прихватками. Длина, количество и промежуток между последними зависят от толщины металла, длины и конфигурации шва: ✓ если металл тонкий, а швы короткие, длина прихваток составляет 5–7 мм при интервале между ними в 70–100 мм; ✓ если металл толстый, а швы длинные, то длину прихваток увеличивают до 20–30 мм, а расстояние между ними – до 300–500 мм. В процессе сварки пламя горелки направляют на металл таким образом, чтобы он попадал в восстановительную зону и находился в 2–6 мм от ядра. При сварке легкоплавких металлов пламя горелки в основном ориентируют на присадочный материал, а зону ядра отодвигают на еще большее расстояние от сварочной ванны. ![]() Рис. 17. Способы регулировки скорости нагрева и плавления металла путем изменения: а – угла наклона мундштука; б – траектории движения мундштука и проволоки; 1 – при сварке тонколистового металла;2, 3 – при сварке толстолистового металла При сварке необходимо регулировать скорость нагрева и плавления металла. Для этого прибегают к таким действиям (рис. 17): ✓ изменяют угол наклона мундштука; ✓ манипулируют самим мундштуком. При сварке необходимо следить за тем, чтобы: ✓ ядро пламени не контактировало с расплавленным металлом, поскольку последний может от этого науглероживаться; ✓ сварочная ванна была защищена зоной факела и восстановительной зоной, иначе металл будет окисляться атмосферным кислородом. В процессе использования газовой горелки необходимо соблюдать правила обращения с ней: 1. Если горелка находится в исправном состоянии, то пламя, которое она дает, бывает устойчивым. В том случае, если наблюдаются какие-либо отклонения (горение нестабильное, пламя отрывается или гаснет, случаются обратные удары), надо обратить особое внимание на узлы горелки и отрегулировать ее. 2. Чтобы проверить инжекторную горелку, подсоединяют кислородный рукав, к корпусу крепят наконечник. После затягивания накидной гайки аккуратно откручивают ацетиленовый вентиль, кислородным редуктором устанавливают соответствующее давление кислорода, после чего открывают кислородный вентиль. 3. Если приставленный к ацетиленовому ниппелю палец присасывается, это означает, что кислород создает разряжение. Если этого не происходит, возможно, засорились инжектор, смесительная камера или мундштук. Их следует прочистить. 4. Повторить проверку на разряжение (подсос). Его величина определяется зазором между концом инжектора и входом в смесительную камеру. Выкручивая инжектор, зазор регулируют. 5. Категорически запрещено использовать неисправные горелки. ![]() Рис. 18. Способы газовой сварки (стрелкой указано направление сварки): а – левый; б – правый; 1 – присадочная проволока; 2 – сварочная горелка Различают два способа газовой сварки (рис. 18): ✓ левую сварку, при которой горелку перемещают справа налево и держат позади присадочной проволоки. При этом сварочное пламя ориентировано на еще не сваренный шов. Этот способ не позволяет в достаточной степени защитить металл от окисления, сопровождается частичной потерей тепла и дает низкую производительность сварки; ✓ правую сварку, при которой горелку перемещают слева направо и держат впереди присадочной проволоки. В этом случае пламя ориентировано на законченный шов и конец присадочной проволоки. Такой способ дает возможность направить на расплавление металла сварочной ванны большее количество теплоты, а колебательные поперечные движения мундштука и проволоки осуществляются реже, чем при левом способе. Кроме того, конец присадочной проволоки оказывается постоянно погруженным в сварочную ванну, поэтому им можно перемешивать ее, что способствует переходу окислов в шлак. Правый способ обычно применяют, если толщина свариваемого металла превышает 5 мм, тем более что при этом сварочное пламя по бокам ограничено кромками изделия, а сзади – валиком наплавленного металла. Благодаря этому потери теплоты снижаются, и она используется более эффективно. |
![Иллюстрация к книге — Сварочные работы. Практический справочник [i_027.jpg] Иллюстрация к книге — Сварочные работы. Практический справочник [i_027.jpg]](img/book_covers/049/49723/i_027.jpg)
![Иллюстрация к книге — Сварочные работы. Практический справочник [i_028.jpg] Иллюстрация к книге — Сварочные работы. Практический справочник [i_028.jpg]](img/book_covers/049/49723/i_028.jpg)
![Иллюстрация к книге — Сварочные работы. Практический справочник [i_029.jpg] Иллюстрация к книге — Сварочные работы. Практический справочник [i_029.jpg]](img/book_covers/049/49723/i_029.jpg)
![Иллюстрация к книге — Сварочные работы. Практический справочник [i_030.jpg] Иллюстрация к книге — Сварочные работы. Практический справочник [i_030.jpg]](img/book_covers/049/49723/i_030.jpg)