Онлайн книга «Сварочные работы. Практический справочник»
|
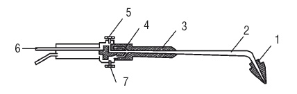
Вентиль для баллона под ацетилен сделан из стали и выдерживает давление 25 кгс/см2. Маховик у него отсутствует (с ним нельзя было бы надеть присоединительный хомут с натяжным винтом). Для открывания и закрывания вентиля используется специальный ключ, надевающийся на шпиндель. На седле в корпусе вентиля имеется эбонитовый уплотнитель, который открывает и блокирует выход ацетилена. Баллоны для ацетилена бывают разного объема, но, как правило, используют баллоны емкостью 40 л (5,5 м3 ацетилена, с пористой массой – 7 м3). Баллон для пропан-бутановой смеси сваривается из листовой стали толщиной 3 мм и имеет один продольный и два кольцевых шва. Сверху приварена горловина, внизу – башмак, обеспечивающий устойчивость. Баллон заполняется смесью примерно на 85 %. Вентиль для пропанового баллона изготовлен из стали и, в отличие от других конструкций, имеет запорное устройство в виде мембраны, выполненной из пружинной стали. Если стоит неметаллический уплотнитель, то вся шпиндельная система вентиля уплотняется ниппелем. Кислородный баллон – это цилиндр с выпуклым днищем и сферической горловиной, в которой имеется сквозное отверстие с конической резьбой, куда вкручивается запорный вентиль. Производятся баллоны малой (до 12 л) и средней (12–40 л) вместимости с условным давлением 200 кгс/м2. Корпус кислородного вентиля сделан из латуни. Его герметичность обеспечивают сальник и прокладка (сейчас чаще всего используют капроновую). Основные характеристики баллонов для горючих и сжатых газов представлены в табл. 3. 4. Редуктор. Это прибор, функции которого заключаются в понижении давления газа из баллона (газопровода) до рабочего и поддержании его на таком уровне. Редукторы бывают одно-и двухкамерными. В последних давление понижается сначала до промежуточного значения (с 15 до 4 МПа), потом до рабочего – 0,3–1,5 МПа. Двухкамерные редукторы имеют более сложную конструкцию, стоят дороже, но способны поддерживать давление практически на постоянном уровне. Таблица 3 Основные характеристики баллонов под горючие и сжатые газы ![]() ![]() В настоящее время производят семнадцать типов редукторов. Обозначение марок редукторов включает в себя: ✓ буквы: Б (баллонный), С (сетевой), Р (рамповый), А (ацетилен), В (водород), К (кислород), М (метан), П (пропан), О (одна ступень с пружинным заданием), Д (две ступени с пружинным заданием), З (одна ступень с пневматическим задатчиком); ✓ цифры, по которым судят о максимальной пропускной способности редуктора. Параметры некоторых наиболее часто применяемых редукторов приведены в табл. 4. Корпус редуктора имеет такой же цвет, что и баллоны, т. е. для кислорода – голубой, для ацетилена – белый, для пропана – красный. Таблица 4 Основные технические характеристики некоторых типов редукторов ![]() 5. Сварочная горелка с комплектом сменных наконечников, которые по ГОСТу 1077–79 классифицируются: 1) по роду используемого газа или жидкости: ✓ для ацетилена; ✓ для газов-заменителей; ✓ для водорода; ✓ для горючих жидкостей; 2) по назначению: ✓ универсальные (для сварки, резки и проч.); ✓ специализированные; 3) по способу подачи газа и кислорода в смеситель: ✓ инжекторные; ✓ безынжекторные (в нашей стране производятся только горелки микромощности); 4) по количеству пламени: ✓ однопламенные; ✓ многопламенные; 5) по мощности пламени: ✓ микромощные (расход ацетилена 5–50 л/ч) Г1; ✓ малой мощности (25–600 л/ч) Г2; ✓ средней мощности (50–2200 л/ч) Г3; ✓ большой мощности (2200–7000 л/ч) Г4; 6) по способу использования: ✓ ручные; ✓ машинные. Горелки выпускают с набором наконечников от 0 до 7. Горелки Г1 и Г4 используются редко, поэтому наконечники к ним поставляются по специальному заказу. Наибольшим спросом пользуются малые и средние горелки. В комплект входят наконечники: ✓ Г2 – № 1, 2, 3 (№ 0 – по заказу); ✓ Г3 – № 3, 4, 6 (№ 1, 2, 5, 7 – по заказу). Конструкция инжекторной горелки наглядно представлена на рис. 15. 6. Шланги (рукава) для подачи газа в горелку или резак. Рукава с нитяным каркасом изготавливаются по ТУ и в соответствии с назначением делятся на следующие классы: ✓ для подачи ацетилена, пропана, бутана или городского газа под давлением 0,63 МПа; ✓ для подачи жидкого топлива (керосина, бензина А-72 и др.) под давлением 0,63 МПа; ✓ для подачи кислорода под давлением 2 МПа. ![]() Рис. 15. Устройство инжекторной горелки: 1 – мундштук; 2 – наконечник; 3 – смесительная камера; 4 – инжектор; 5 – кислородный вентиль; 6 – ниппель; 7 – ацетиленовый вентиль Таблица 5 Основные параметры резиновых рукавов ![]() Условное обозначение «Рукав I-16–0,63 ГОСТ 9356–74» расшифровывается следующим образом: ✓ I – класс; ✓ 16 – внутренний диаметр (выражен в мм); ✓ 0,63 – рабочее давление (МПа); Отсутствие какой-либо буквы перед обозначением ГОСТа указывает на то, что рукав предназначен для использования в умеренном климате; если перед ним стоит буква Т – в тропическом; если буквы ХЛ – в холодном. Рукав, так же как баллоны и редукторы, окрашивают в определенный цвет: ✓ красный – для рукавов I класса для ацетилена, пропана, бутана и городского газа; |
![Иллюстрация к книге — Сварочные работы. Практический справочник [i_017.jpg] Иллюстрация к книге — Сварочные работы. Практический справочник [i_017.jpg]](img/book_covers/049/49723/i_017.jpg)
![Иллюстрация к книге — Сварочные работы. Практический справочник [i_018.jpg] Иллюстрация к книге — Сварочные работы. Практический справочник [i_018.jpg]](img/book_covers/049/49723/i_018.jpg)
![Иллюстрация к книге — Сварочные работы. Практический справочник [i_019.jpg] Иллюстрация к книге — Сварочные работы. Практический справочник [i_019.jpg]](img/book_covers/049/49723/i_019.jpg)
![Иллюстрация к книге — Сварочные работы. Практический справочник [i_020.jpg] Иллюстрация к книге — Сварочные работы. Практический справочник [i_020.jpg]](img/book_covers/049/49723/i_020.jpg)
![Иллюстрация к книге — Сварочные работы. Практический справочник [i_021.jpg] Иллюстрация к книге — Сварочные работы. Практический справочник [i_021.jpg]](img/book_covers/049/49723/i_021.jpg)