Книга Гараж. Строим своими руками, страница 4 – Иван Никитко

Авторы: А Б В Г Д Е Ж З И Й К Л М Н О П Р С Т У Ф Х Ч Ш Ы Э Ю Я
Книги: А Б В Г Д Е Ж З И Й К Л М Н О П Р С Т У Ф Х Ц Ч Ш Щ Ы Э Ю Я
Бесплатная онлайн библиотека LoveRead.in

Онлайн книга «Гараж. Строим своими руками»

📃 Cтраница 4

Разбивку начинают с определения на местности крайних угловых точек габарита постройки. Рекомендуемые размеры — 3850 × 5500 мм. С использованием натягиваемого на обноску шнура проводят разбивку осей фундаментов под несущие стены.

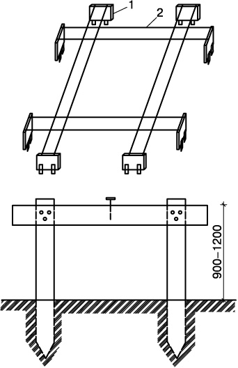
Обноска (рис. 2.7) составляется из деревянных кольев толщиной 10–15 см. Их нужно вкопать в землю, а на уровне 75–100 см прибить к ним доски, выверяя по уровню горизонтальность верхней грани доски. Ширина прибиваемых досок должна быть 15–20 см, толщина — 2,0–2,5 см.

Расстояние от кольев обноски до будущих стен должно составлять от 1,5 м. Обноска может быть сплошной лишь вблизи четырех углов гаража. Она необходима для фиксации положения осей здания и отдельных его частей при последующей разбивке плана.

Иллюстрация к книге — Гараж. Строим своими руками [i_009.jpg]

Рис. 2.7. Схема установки обноски: 1 — обноска; 2 — шнур


Для дальнейшей разметки указанные в проекте расстояния между осями стен гаража нужно перенести на обноску, забив гвозди в нужных местах. Между гвоздями, которые определяют грани фундаментов, необходимо натянуть шнуры. С помощью отвеса на поверхности земли намечают точки пересечения этих шнуров и в них вбивают колья, между которыми также натягивают шнур. При выполнении этой операции понадобятся рулетка и угломерный инструмент.

Измерьте диагонали прямоугольника, который размечен вбитыми в землю кольями. Если они равны, то разбивка осей выполнена правильно и стены будущей постройки будут примыкать одна к другой под прямым углом. Теперь можно начинать выемку грунта в котловане под погреб и траншеях под фундамент.

Профиль траншеи можно сохранять прямоугольным, если ее глубина не будет превышать 1 м. В противном случае следует устроить небольшой откос или уклон. Для предупреждения осыпания грунта между стенами на время выемки грунта можно установить деревянные щиты с распорками.

Грунт, извлеченный из траншеи, нужно сохранять внутри плана гаража, если не предусмотрен погреб. Завершив строительство фундамента, извлеченный грунт следует равномерно распределить между внутренними стенами фундамента, разровнять и утрамбовать.

Теперь на строительную площадку можно доставить необходимое количество строительных материалов, если, конечно, это не было сделано заранее.

Глава 3. Строительные материалы, изделия и инструменты

Прежде чем возводить гараж, необходимо запастись основными конструкционными материалами. Материалы для отделки и кровли можно, конечно, приобрести и во время возведения стен, но во многих случаях, особенно при строительстве в отдаленных сельских поселениях, оказывается выгоднее купить и доставить к месту строительства одновременно все необходимое.

Конструкционные каменные материалы

Кирпич различных видов, камень, силикатные блоки — самые распространенные материалы для возведения гаража. Они понадобятся как для кладки фундаментов, стен, так и для заполнения бетона и цементных растворов.

Бутовый камень представляет собой крупные фрагменты разнообразных горных пород (известняка, доломита, песчаника и др.).

Гравий — природный или искусственный материал, окатанные зерна размером 0,5–7,0 см с гладкой поверхностью.

Щебень — гладкие камни с максимальным диаметром 0,5–8,0 см. В отличие от гравия, зерна щебня имеют различную форму. Использование щебня кубовидной формы позволяет добиться наиболее плотной утрамбовки. Поверхность щебня шероховатая, он прочно сцепляется с цементно-песчаным раствором и бетоном.

Щебень фракции 3–8 мм («еврощебень») и 5–20 мм чаще всего встречается в железобетонных и бетонных изделиях. Более крупный щебень обычно применяют при устройстве дорог.

Строительный песок используется для приготовления бетона и цементных растворов, перед применением его нужно промывать и просеивать.

К искусственным материалам следует отнести керамические и силикатные кирпичи, блоки и камни.

У хорошего кирпича должен быть ровный красный цвет и чистый звук. Кирпич должен выдерживать удар молотка весом 1 кг или падение с высоты до 1,5 м. Если звук кирпича глухой, а цвет бледный, то кирпич обожжен недостаточно. Такой материал имеет пониженную прочность, хорошо поглощает влагу. Напротив, если кирпич пережжен, то он имеет темный бурый цвет и почти непроницаем для воды. Такой кирпич можно использовать лишь при кладке фундамента.

Силикатные блоки, кирпичи и камни производят из кварцевого песка, извести и воды. Эти материалы можно использовать для кладки стен, столбов и перегородок. Для закладки фундамента и возведения стен при высокой влажности они не подойдут.

Вяжущие вещества

К сухим вяжущим веществам относят сыпучие материалы, способные затвердевать после добавления воды в результате физико-химических процессов. Такие вещества есть в составе бетонов, силикатного кирпича, асбоцементных и других искусственных материалов, в кладочных и штукатурных строительных растворах.

Цемент — самое распространенное вяжущее вещество для приготовления строительных растворов и бетона. Цемент различается по маркам в зависимости от прочности: 300, 400, 500, 550, 600. Лучше пользоваться цементом последних трех марок. Растворы на его основе быстрее твердеют и более прочны после высыхания.

Если марка цемента неизвестна, то его качество можно проверить опытным путем. Сожмите цемент в кулаке — если материал сразу вытечет между пальцев, то это качественный цемент. Наличие зерен — признак пониженного качества цемента, бетон или кладка на его основе будут менее прочными.

Строительная известь также может потребоваться для приготовления растворов. Известь выпускается различных видов и марок. Воздушная известь подходит для побелки, гидравлическая — для изготовления кладочных растворов. Негашеная известь при контакте с водой сильно нагревается, поэтому для замеса растворов нужно применять гашеную известь.

Качество извести проверяют на растворе из одной части извести и трех частей песка. Сложите столбик из восьми глиняных полнотелых кирпичей. По прошествии четырех дней столбик осторожно приподнимите за верхний кирпич. Если при этом столбик останется целым, значит, известь хорошего качества, подойдет для штукатурки и для кладки стен.

Строительный гипс (алебастр) добавляют в известковый раствор для ускорения схватывания и увеличения прочности.

Органические вяжущие материалы. Вяжущие вещества органического происхождения — деготь темно-коричневого или черного цвета и различные виды битума. Эти материалы применяют в чистом виде или в виде смесей с растворителем и минеральным наполнителем (мастики) для гидроизоляционных работ. Битумные и дегтевые материалы водонепроницаемы, водостойки, эластичны, обладают стойкостью к атмосферным осадкам.

Вход
Поиск по сайту
Ищем:
Календарь