Книга Гараж. Строим своими руками, страница 9 – Иван Никитко

Авторы: А Б В Г Д Е Ж З И Й К Л М Н О П Р С Т У Ф Х Ч Ш Ы Э Ю Я
Книги: А Б В Г Д Е Ж З И Й К Л М Н О П Р С Т У Ф Х Ц Ч Ш Щ Ы Э Ю Я
Бесплатная онлайн библиотека LoveRead.in

Онлайн книга «Гараж. Строим своими руками»

📃 Cтраница 9

Расстояние между столбами должно составлять 150–250 см. При этом они должны обязательно быть в углах гаража.

Деревянные столбы обычно используют для устройства в последующем деревянных стен. Для фундаментных столбов подходит сухая древесина толщиной от 20 см.

Для продления срока службы деревянных столбов предусмотрены различные варианты их предварительной обработки.

Простейший вариант обработки деревянной сваи — покрытие (покраска) битумом. Поверх слоя битума можно обернуть столб двумя или тремя слоями гидроизоляционного материала. Часто столбы обугливают на 1,5–2 см. Можно также использовать комбинированный метод — обугленную часть столба покрыть слоем битума, а затем обернуть рубероидом. Чем тщательнее обработка, тем дольше дерево прослужит в качестве фундаментных опор.

Иллюстрация к книге — Гараж. Строим своими руками [i_015.jpg]

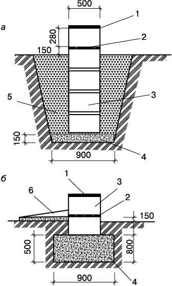
Рис. 4.6. Схема конструкции сборного столбчатого фундамента: а — нормально заглубленный фундамент; б — малозаглубленный фундамент; 1 — цементная гидроизоляция; 2 — оклеечная гидроизоляция; 3 — бетонный блок Ф 4.5.3 (380 × 500 × 280) или Ф 4.4.3 (380 × 400 × 280); 4 — грунт обратной засыпки; 5 — бетонная отмостка; 6 — песчаная подушка


Угловые столбы обычно заглубляют в грунт на 1,5 м, остальные — на такую же глубину или на 20–30 см меньше. Столбы лучше не просто зарыть в грунт, а установить на большие плоские камни, хорошо уплотненные в грунт.

Ямы с установленными столбами засыпают небольшими слоями грунтом и утрамбовывают послойно. Верх столбов выравнивают строго по горизонтальной линии.

Фундаменты из каменных и кирпичных столбов размещают по периметру гаража аналогичным образом, заглубляя на 1,2–1,5 м в грунт. Здесь особое внимание уделяется качеству материала, поскольку силикатный и плохо обожженный глиняный кирпич в земле быстро разрушается. Для увеличения прочности столбы можно армировать по высоте через каждые 20–30 см арматурной сеткой из проволоки толщиной от 0,5 см.

Сборные железобетонные фундаменты

Фундаменты из сборного железобетона наиболее рационально возводить на сырых и заболоченных участках.

Для установки несущих столбов железобетонных фундаментов применяют железобетон или асбоцементные трубы. В последнем случае трубы армируют изнутри, а затем заполняют бетоном. Возможно также использование металлических труб, внутри заполненных цементным раствором, а снаружи обработанных горячей или холодной битумной мастикой. Для армирования рекомендуется применять стальные стержни и проволоку диаметром 0,6–1,2 см.

Бетон для таких фундаментов готовят из цемента марки 300 или 400. В качестве заполнителя лучше использовать крупный песок и гранитный щебень. Как и для других типов фундаментов, консистенция бетона должна быть тестообразной, он не должен течь. Чем жестче бетон для фундамента, тем он прочнее.

Арматуру в виде предварительно сваренного каркаса укладывают в опалубку до начала заполнения бетоном. Концы арматурных стержней с торцов должны выступать за опалубку, чтобы была возможность скрепления опорной плиты с другими для создания железобетонного пояса по верху фундамента.

Бетон нужно укладывать слоями толщиной примерно по 10–12 см. Каждый слой необходимо утрамбовать, прежде чем начинать укладывать новый.

Если нужно замедлить высыхание бетона, то поверх свежеуложенного слоя кладут влажную ткань или ветошь, а затем гидроизоляционный материал.

Для высыхания бетона в опорных столбах нужна примерно неделя. По истечении семи дней бетонные столбы можно освободить от опалубки и установить в траншею для монтажа опорной плиты.

Если столбы делают из асбоцементных труб, то поступают аналогичным образом. Армированную трубу помещают внутрь опалубки и заливают бетоном, а затем приступают к бетонированию опорной плиты фундамента.

Размер опорной плиты должен быть не менее чем в три раза больше размеров несущего столба. Размер опорной плиты можно увеличивать усилением армирования.

Монолитные железобетонные фундаменты

Монолитные железобетонные фундаменты (рис. 4.7) представляют собой объем бетона сложной конфигурации, формируемый за один прием. Принято считать, что успешное устройство фундамента из монолитного железобетона гарантировано лишь в сухих грунтах.

Иллюстрация к книге — Гараж. Строим своими руками [i_016.jpg]

Рис. 4.7. Схема монолитного железобетонного фундамента: 1 — пол первого этажа; 2 — монолитное перекрытие; 3 — сварная арматурная сетка Ø5; 4 — вертикальная обмазочная гидроизоляция горячим битумом за два раза; 5 — привязка к оси; 6 — бетонная подготовка (бетон В7.5); 7 — монолитная фундаментная лента (бетон В25); 8 — выпуски арматуры; 9 — горизонтальная гидроизоляция (мастика битурел); 10 — отделка цоколя


Предварительно выкопанную яму защищают, укладывают на дно слой песка толщиной 10–15 см, который утрамбовывают. Поверх слоя песка устанавливают опалубку, помещают предварительно смонтированный арматурный каркас. После выполнения этих операций можно начинать бетонирование, в процессе которого внутрь опалубки помещают армированную асбоцементную трубу, заполненную бетоном.

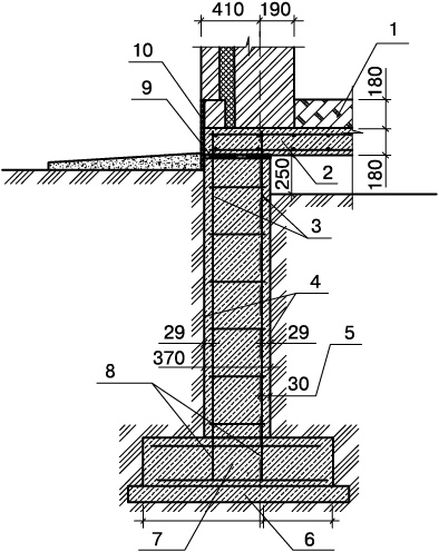
Столбчатые фундаменты могут быть с рандбалкой. Такие фундаменты особенно удобны для возведения стен из кирпича.

Кладку фундамента завершают в соответствии с требованиями проекта ниже уровня поверхности на 10 см или выше его, обычно не более 10–20 см.

Фундамент под погреб

Надежный и долговечный погреб в гараже может быть устроен лишь при размещении гаража на сухом, а еще лучше — на возвышенном месте. Возводя фундамент под погреб, необходимо следить, чтобы грунтовые воды не доходили до основания (днища) погреба на 50 см.

Если участок низменный или грунт на площадке влажный, то под погребом, как и под фундаментом, необходимо сделать песчано-гравийную подушку для защиты от грунтовых вод.

Уровень грунтовых вод достоверно можно определить весной, когда он наиболее высокий, или осенью, в период затяжных дождей, по уровню воды в ближайших колодцах или скважинах. Кроме того, верным признаком неглубокого залегания грунтовых вод является сочная растительность (болотные и влаголюбивые растения: камыш, хвощи, незабудки, конский щавель, мать-и-мачеха и др.), наличие комаров и мошек.

Помимо этих внешних признаков, существуют более надежные и точные способы определения наличия грунтовых вод.

Первый способ. Необходимо взять равные части серы, негашеной извести-пушонки и медного купороса (всего 800–900 г), смешать их и поместить в неглазурованный горшок, который затем закрыть крышкой, также неглазурованной. Горшок закапывают в землю на глубину 0,5–0,7 м. Через 24 ч горшок извлекают из грунта и взвешивают. Если содержимое горшка увеличило массу более чем на 10 %, то уровень воды неглубок. Чем больше прибавка в массе, тем ближе вода.

Вход
Поиск по сайту
Ищем:
Календарь