Книга Гараж. Строим своими руками, страница 17 – Иван Никитко

Авторы: А Б В Г Д Е Ж З И Й К Л М Н О П Р С Т У Ф Х Ч Ш Ы Э Ю Я
Книги: А Б В Г Д Е Ж З И Й К Л М Н О П Р С Т У Ф Х Ц Ч Ш Щ Ы Э Ю Я
Бесплатная онлайн библиотека LoveRead.in

Онлайн книга «Гараж. Строим своими руками»

📃 Cтраница 17

Для экономии досок конструкция наката иногда предусматривает устройство засыпки. В этом случае накат предварительно нужно обработать смазкой, состоящей из смеси песка и глины. После высыхания в промежутки между досками помещают стружку, опилки, сухие листья и т. п., посыпая сверху слоем песка или шлака толщиной не менее 5 см. Поверх балок также желательно устроить разреженный дощатый настил для предотвращения смещения засыпки.

Утепление чердачного перекрытия проще всего выполнить из огнестойких плиточных материалов.

Итак, и двускатная, и односкатная крыши состоят из деревянных наклонных поддерживающих балок (стропил), на которые кладут обрешетку (настил, доски шириной 4–5 см), и наружного покрытия, или кровли.

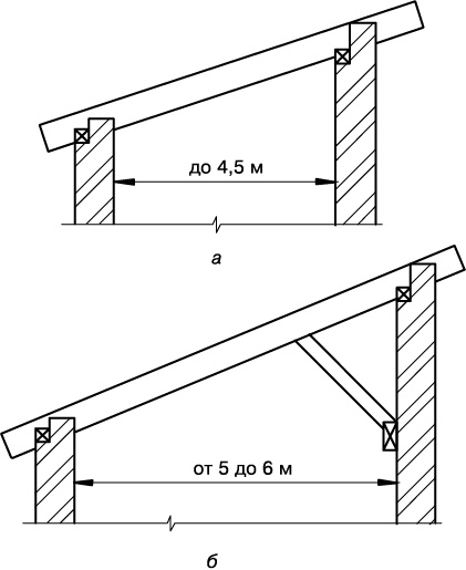
В односкатных крышах наклонные стропила фиксируются с помощью двух внешних опор, расстояние между которыми может достигать 4,5 м. Если же требуется большее расстояние, то под стропила нужно установить подкосы (рис. 8.2).

Нижние концы висячих стропил опираются на стены, в то время как верхние сходятся между собой в коньке. Их соединяют здесь вполдерева или прорезным шипом. Висячие стропила могут быть простой и сложной конструкции. Простая конструкция — это пара стропил, которые упираются в горизонтальный брус, или затяжку (рис. 8.3).

При изготовлении стропил нужно использовать древесину без сучков, не ниже первого сорта. Толщина доски выбирается в зависимости от расстояния между стропилами, длины стропильной ноги, веса кровли и т. д.

Предназначенные для стропильных ног бревна должны быть немного длиннее шаблона, чтобы можно было исправить неудачное соединение. Для соединения сначала делают вырубки на нижних концах стропил, затем соединяют их с затяжкой или мауэрлатом (балками, уложенными по всему периметру наружных стен). После этого врубают верхнюю часть, удаляют излишек древесины и снова разбирают конструкцию. Толщина направляющих балок-мауэрлатов составляет обычно 100 × 100 либо 120 × 120 мм.

Иллюстрация к книге — Гараж. Строим своими руками [i_036.jpg]

Рис. 8.2. Устройство стропил: а — наклонные стропила; б — наклонные стропила с подкосами

Иллюстрация к книге — Гараж. Строим своими руками [i_037.jpg]

Рис. 8.3. Простые висячие стропила с затяжкой


Стропила на мауэрлате крепят шиповым соединением. С этой целью первоначально устанавливают две крайние пары стропильных ног, после чего по коньку крайних пар натягивают шнур (или прибивают доску). После установки промежуточных стропил их выравнивают, а затем тщательно прикрепляют к стене.

Чтобы скрепить стропила со стеной, на них набрасывают проволочный хомут (диаметр проволоки — 4–6 мм) и соединяют его с костылями, заделанными в стены.

Для того чтобы на стены гаража не попадала дождевая вода, необходимо предусмотреть устройство карниза. Ширина карниза должна быть минимум 50 см. Предусматривая карниз, нужно удлинить стропильные ноги на величину карнизного свеса. Для этого вполне подойдут деревянные обрезки, к которым и крепят доски карниза. К стене карниз следует крепить предельно плотно, не допуская перекосов и щелей.

На рис. 8.4 изображены распространенные типы карнизов.

Основа кровли — обрешетка (деревянный настил, сплошной или вразрядку). При сплошной обрешетке доски укладывают на стропила горизонтально к коньку. Можно также горизонтально к коньку уложить бруски (каждые 50–100 см) и уже на них настелить вдоль доски. Доска для устройства обрешетки должна быть не ниже второго сорта, шириной 4–5 см.

Угол наклона односкатной крыши зависит от местного климата и типа кровельного материала. Величина этого угла не должна быть меньше 5 и больше 60°. В средних широтах односкатная крыша обычно делается под углом 25–30°.

Тот или иной кровельный материал также требует своего наклона. Для рубероида это минимум 5°, для металлической кровли — 18–30°, для шифера — 20–35°, для черепицы и металлочерепицы — не более 20–30°.

Иллюстрация к книге — Гараж. Строим своими руками [i_038.jpg]

Рис. 8.4. Виды деревянных карнизов: а — карниз по затяжке; б — карниз из стропильных ног; в — карниз по прибитым деревянным обрезкам


Укладка кровли

Каждый кровельный материал обладает своими преимуществами и недостатками. Например, очень несложно монтируется шиферная крыша. Она может прослужить 30–40 лет, но сравнительно с современными кровельными материалами, металлом и даже рубероидом смотрится хуже, особенно если не окрашена и поражена грибком.

Несложно также смонтировать фальцевую металлическую кровлю. Она надежна, традиционна и гигиенична, но это не самый дешевый вид кровельного покрытия, хотя, возможно, наилучший. Кроме того, капитальный каменный гараж иногда кроют черепицей — любой ее разновидностью (с учетом кровли близлежащих жилых зданий).

Наиболее же распространены рубероидное и толевое покрытия гаражей. Эти недорогие материалы прочны, укладка не отнимает много времени и не требует профессиональных навыков. Рубероидная крыша может прослужить до 15 лет, а «еврорубероид» и «рубемаст» — 30–40 лет. Технология укладки этих новых материалов почти не отличается от работы с рубероидом.

Чтобы правильно уложить рубероид, соблюдайте рекомендуемую технологию. Сначала необходимо промазать битумной мастикой основу крыши и параллельно ее коньку уложить слой рубероида. Полосы рубероида укладываются внахлест с перекрытием приблизительно 15 см. По краям рубероид нужно подогнуть под свес карниза не меньше чем на 10 см и закрепить под ним. После этого крышу следует промазать повторно и уложить второй слой рубероида. Наклеивая очередные полосы, следите, чтобы величина нахлеста была одинаковой по всей длине. Полосы второго слоя кладут перпендикулярно первому слою, таким же образом края материала подгибают под карниз и фиксируют под ним. Аналогично кладут последний, третий слой. Нижний и верхний слои прибивают шиферными гвоздями через каждые 40–50 см. Чтобы предотвратить вспучивание покрытия, наклеивая каждую полосу, следует тщательно разглаживать материал, как это делается при оклейке стен обоями. Особенно тщательно нужно промазывать мастикой края рубероидных полос.

Горячую битумную мастику готовят только из строительного битума (он отличается от дорожного более высокой температурой размягчения — от 70 °C для средней полосы) в специальных варочных котлах, добавляя минеральные наполнители и специальные добавки (табл. 8.1). Если используют смесь битумов, то сначала в котел кладут битум мягких марок (I–III), затем постепенно загружают расколотый на куски твердый битум или битумный пек.


Таблица 8.1. Температура горячих мастик при приготовлении и применении

Вход
Поиск по сайту
Ищем:
Календарь