Книга Гараж. Строим своими руками, страница 16 – Иван Никитко

Авторы: А Б В Г Д Е Ж З И Й К Л М Н О П Р С Т У Ф Х Ч Ш Ы Э Ю Я
Книги: А Б В Г Д Е Ж З И Й К Л М Н О П Р С Т У Ф Х Ц Ч Ш Щ Ы Э Ю Я
Бесплатная онлайн библиотека LoveRead.in

Онлайн книга «Гараж. Строим своими руками»

📃 Cтраница 16

Сложнее всего установить врезной замок. Его помещают в паз, который выдалбливают в боковом торце створки. Если на створке ворот уже есть ручка со скважиной для ключа, то по местоположению этой ручки определяют и размечают паз для замка. Если же ручка без скважины, то место для замка можно выбрать произвольно.

Чтобы разметить паз, нужно приложить замок к створке плашмя. При этом отверстие в ручке и отверстие в замке должны совпасть. Если же ручка имеет другую конструкцию, то отверстие для ключа накалывают на створке шилом, затем обводят контуры. После этого с помощью угольника нужно перенести линию разметки на торец створки (боковое ребро), измерить толщину замка и разметить ее на торце таким образом, чтобы замок попал точно в середину ребра.

В соответствии с полученной разметкой устраивают паз для замка. Лучше и проще сначала высверлить его, а затем выровнять стамеской. По диаметру сверло должно совпадать с толщиной замка.

Замок должен плотно входить в паз. Поместив замок в готовый паз, нужно очертить его переднюю планку, для которой стамеской сделать углубление. Планку следует закрепить на уровне поверхности ребра, чтобы она не выступала и не утопала.

Чтобы закрепить запорную планку во второй створке, на кромке первой створки нужно обозначить границы передней планки замка. Затем створку следует прикрыть, а отметки перенести на вторую створку, наметить расположение запорной планки, сделать для нее углубление и привинтить планку. Только зафиксировав планку, можно начинать делать паз для язычка замка и для ригеля-фиксатора.

Чтобы правильно разметить место для замочного ригеля, поступите следующим образом. Возьмите лист плотной бумаги и вырежьте из него прямоугольник, по площади равный торцу ригеля. Одну сторону бумажного прямоугольника нужно смазать клеем, а другую — водой. Затем приложите прямоугольник к торцу ригеля стороной, смоченной водой. Закройте ворота, поверните ключ, прижимая ригель к торцу створки. Бумажный трафарет приклеится к створке, обозначив место для устройства паза для ригеля.

Есть и другой способ. Раскатайте кусочек пластилина в пластину размером 5 × 6 см. Прикрепите пластилин на торец створки, противоположной замку. Старайтесь попасть точно напротив засова. После того как вы выдвинете засов до упора, его язычок оставит четкий след на пластилине. Теперь можно выдалбливать паз для засова.

Гаражные ворота можно также оборудовать механическими тягами, бетонными порогами, фотоэлементами, магнитным или радиоуправлением с электрическим или пневматическим приводом.

Глава 8. Устройство крыши

Существует много конструктивных вариантов гаражной крыши, но прежде всего нужно определиться, односкатной или двускатной будет крыша (четырехскатные, шатровые и т. п. крыши встречаются в гаражных постройках крайне редко). И двускатная, и односкатная крыши для гаража в равной степени приемлемы и удовлетворяют всем требованиям, предъявляемым к гаражам.

Односкатная крыша чаще всего выбирается при ограничении по площади участка под гараж, а также при желании сэкономить финансовые средства и время, которых при устройстве двускатной крыши требуется больше. Однако, если предполагается построить гараж в виде отдельно стоящего здания, а не пристройки, лучше пойти на дополнительные издержки и устроить двускатную крышу.

Несущая конструкция (система стропил и др.) односкатной крыши опирается на две противоположные стены различной высоты. Двускатная крыша (иначе ее называют «щипцовой») составлена из двух расположенных на одном уровне плоскостей, которые опираются на стены. Треугольные части торцевых стен называются фронтонами или «щипцами».

Чердачное перекрытие, как правило, состоит из балок, наката (потолочная плоскость) и засыпки. Дерево, применяемое для изготовления балок чердачного перекрытия, должно быть сухим. Чем меньше влаги содержится в древесине, тем она прочнее и тем меньшие деформации будут наблюдаться под нагрузкой. Чаще всего для балок выбирают сосну, ель или лиственницу.

Чтобы предотвратить прогибание балок, необходимо укладывать их между собой не далее 1 м. Известно, что высота самой прочной на изгиб балки — 7 м, ширина — 0,5 м.

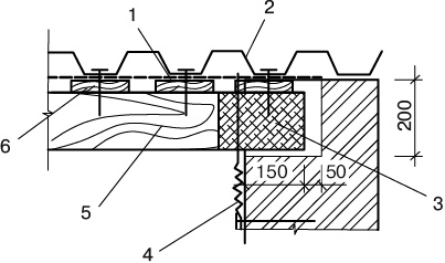
Если под рукой нет бруса, то для устройства балки его можно заменить двумя досками с общим сечением, эквивалентным брусу. В таком случае доски следует соединить гвоздями, располагая их в шахматном порядке. Вместо бруса также можно применить простые широкие доски, установив их на ребро. Общая схема устройства узла кровли представлена на рис. 8.1.

Иллюстрация к книге — Гараж. Строим своими руками [i_035.jpg]

Рис. 8.1. Узел устройства гаражной кровли: 1 — рубероид; 2 — профнастил; 3 — обернутый толем конец балки; 4 — скрутка (крепить к гвоздю); 5 — балка; 6 — обрешетка


Балки при устройстве гаражного чердачного перекрытия можно соединить со стенами, просто положив их края на стены или поместив в специально подготовленные гнезда. Эти гнезда в кирпичных стенах должны быть немного шире балок, чтобы концы балок не загнивали. Еще лучше выровнять нижнюю часть гнезда бетоном и защитить поверхность от влаги, положив 2–3 слоя рубероида или другого гидроизоляционного материала.

Если стены гаража возведены из кирпича, то гнезда для балок обычно устраивают глубиной 25 см, а концы балок, помещенные в эти гнезда, должны быть не менее 15 см.

Стропила — основу любой крыши — обычно делают из дерева хвойных пород. Предварительно материал нужно просушить и обработать антисептиком, а при желании — и специальными противопожарными и гидроизоляционными составами.

Система стропил односкатной крыши называется наклонной системой. В отличие от двускатной крыши, в этом случае необходимо рассчитывать перепад высоты противоположных стен. Этот расчет можно выполнить по формуле:


[величина перепада стен] = [ширина гаража] × [тангенс угла наклона крыши].


Если, например, ширина гаража составляет 5 м и необходимо обеспечить уклон ската 25° (это зависит от местности и кровельного материала), то величина перепада стен будет равна 5 × tg 25° = 2,33 м. Таким образом, одна стена гаража должна быть выше другой на 2,33 м.

Непосредственно перед укладкой концы балок необходимо обтесать, обработать антисептиком, просушить, просмолить и обернуть двумя слоями толя. Торцы балок обрабатывают аналогичным образом, но не смолят и не защищают толем.

После укладки концов балок в гнезда боковую и верхнюю стороны балки нужно замазать раствором со щебенкой. Необходимо также предусмотреть зазор не менее 5 см между стеной и крайними балками. Его следует заделать рейкой, а между рейкой и балкой поместить полоску толя или рубероида.

На балки укладывают накат. Перед укладкой к балкам следует прикрепить гвоздями так называемые черепные бруски сечением 4 × 4 см. Доски наката должны плотно прилегать одна к другой. Обязательно также контролировать их расположение — они должны находиться на одном уровне с нижней стороной балки. Если потолок не предполагают штукатурить, то доски наката строгают.

Вход
Поиск по сайту
Ищем:
Календарь