Книга Водоснабжение, канализация и отопление загородного дома, страница 43 – Иван Никитко

Авторы: А Б В Г Д Е Ж З И Й К Л М Н О П Р С Т У Ф Х Ч Ш Ы Э Ю Я
Книги: А Б В Г Д Е Ж З И Й К Л М Н О П Р С Т У Ф Х Ц Ч Ш Щ Ы Э Ю Я
Бесплатная онлайн библиотека LoveRead.in

Онлайн книга «Водоснабжение, канализация и отопление загородного дома»

📃 Cтраница 43

Кислотный конденсат, образующийся при охлаждении продуктов горения, является смесью серной (H 2SO 4) и угольной кислот (H 2CO 3) [10] .

Образование угольной кислоты происходит в результате простой химической реакции:


СО 2+ Н 2О <=> Н 2СО 3,


то есть углекислый газ, растворенный в воде, вступает в реакцию с водяным паром. При этом реакция становится обратимой уже при температуре, превышающей +20 °C, – угольная кислота вновь распадается на исходные компоненты. Так что влияние конденсата угольной кислоты как агрессивной среды для дымохода можно не учитывать: оно способно проявиться только в достаточно редко возникающих условиях – в холодное время года при длительном неиспользовании теплогенератора.

Иллюстрация к книге — Водоснабжение, канализация и отопление загородного дома [i_124.jpg]

Примечание

Если вы используете загородный дом для сезонного проживания (в теплое время года), а в холодное время года бываете в нем наездами и при этом включаете систему отопления, то это как раз тот случай, когда угольная кислота может начать свою разрушительную работу.

С серной кислотой ситуация сложнее. В продуктах сгорания топлива содержится серный ангидрид SO 3(особенно это актуально для котлов, использующих дизельное топливо), который, вступая в реакцию с парами воды, образует серную кислоту:


SO 3+ H 2O <=> H 2SO 4.


Серная кислота обладает огромным разрушительным потенциалом. Она «съедает» практически все металлы (за исключением золота и платиновых, но эти металлы не используются при строительстве дымоходов), «разъедает» и кирпичную кладку, и бетонные трубы, да еще и устойчива к нагреву. Так что долгожительство дымохода можно обеспечить только одним способом: воспрепятствовать образованию агрессивного конденсата.

Помешать образованию конденсатов можно двумя способами: ускорить «вылетание в трубу» продуктов сгорания (чтобы они не успели охладиться до перехода в жидкую фазу – не стали конденсатом на стенках дымохода) и обеспечить быстрое преодоление порога конденсатообразования (если в дымоходе стабильно высокая температура, то конденсат не образуется – для его образования нужна холодная поверхность).

Проще всего с дымоходами для твердотопливных котлов, не имеющих такого сервиса, как автоматическое включение/отключение при достижении определенной температуры. Эти дымоходы могут выполняться из кирпича, в них постоянно поддерживается высокая температура (котел-то работает без перерыва), и конденсата образуется минимальное количество. Из кирпича также выполняются дымоходы для печей и каминов.

Другое дело – современные газовые и жидкотопливные котлы, а также некоторые модификации твердотопливных (из последних разработок). С ними возникает определенная проблема. С целью экономии топлива на современные котлы устанавливается автоматика, которая позволяет им работать в прерывистом режиме: когда температура теплоносителя достигает заданной, котел отключается; как только теплоноситель остывает (опять же – до предварительно заданной температуры), котел включается снова. Это приводит к тому, что труба дымохода, через которую то проходят горячие продукты сгорания, то не проходят, попеременно то разогревается, то охлаждается. К тому же температура продуктов сгорания в газовых и жидкотопливных котлах ниже, чем в твердотопливных, да еще в них содержится большое количество водяных паров (существенно больше, чем при сжигании твердого топлива, которое обычно является сухим). При использовании газовых и жидкотопливных котлов возникают особенно благоприятные условия для образования конденсата.

Решить эту проблему можно двумя способами: отказаться от дискретной работы котла или использовать для дымохода материалы, обладающие свойством быстро нагреваться под воздействием горячих газов и медленно охлаждаться при отсутствии такого воздействия. Первый вариант – отказ от дискретной работы котла – явно нерентабелен, так как ведет к перерасходу топлива, а также к определенной некомфортности проживания в доме (температура в помещениях при постоянно работающем в одном режиме отопительном котле может превысить комфортную, и в помещениях станет попросту жарко и душно). Зато выбрать для дымохода соответствующий материал ничто не мешает.

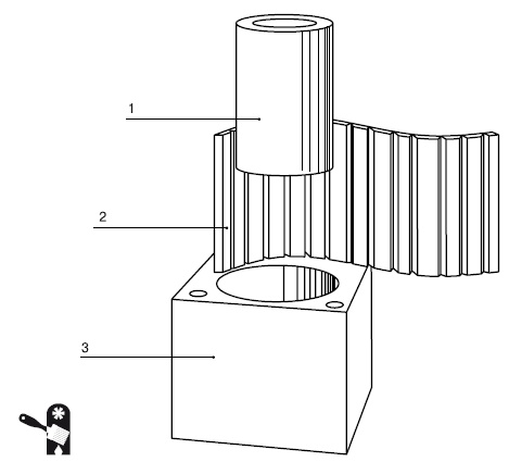
Можно использовать дымоходы, изготовленные из керамики, стойкой к кислотам (Рис. 3.36).

Но у таких дымоходов есть довольно существенный недостаток – большой вес, в «легких» домах их устанавливать затруднительно. Возникают также проблемы при установке керамических дымоходов в уже готовых домах, в которых не были предусмотрены подобные нагрузки на фундамент.

Свойством быстро нагреваться при соответствующем воздействии обладает сталь. Ну а если обеспечить стальной трубе надежную теплоизоляцию, то проблема оказывается решенной: труба дымохода, выполненная из нержавеющей стали и утепленная базальтовым волокном высокой плотности, отвечает всем заявленным требованиям – быстро нагревается и медленно охлаждается. Это позволяет быстро преодолевать порог конденсатообразования, а также поддерживать нужную температуру дымовой трубы во время отключений котельного оборудования таким образом, что конденсат практически не образуется. В такой трубе тяга стабильна, а проблем с сажей и конденсатом не возникает. К тому же в стальных дымоходах отсутствуют тепловые мостики (то есть нет холодных мест, где может происходить выпадение конденсата), они имеют круглое сечение и гладкие внутренние стенки, что облегчает удаление продуктов сгорания.

Иллюстрация к книге — Водоснабжение, канализация и отопление загородного дома [i_125.jpg]

Рис. 3.36.Конструкция дымоходной трубы из керамики: 1 – дымоходная труба из керамики; 2 – изоляционные плиты; 3 – каменная оболочка дымоходной трубы


Дополнительным плюсом стальных дымоходов является их унификация: отдельные модули стандартизованы и совместимы друг с другом.

Но стандартизация элементов дымохода вовсе не означает, что можно приобрести первый попавшийся дымоход, который понравился внешне или по цене. Дымоход должен соответствовать котельному оборудованию как по виду топлива, так и по мощности.

Различные виды топлива имеют разный химический состав и, как следствие, дают различные смеси газообразных продуктов сгорания. Кроме того, температура продуктов сгорания тоже различается в зависимости от модификации отопительного котла. Поэтому сталь, из которой изготовлен дымоход, должна быть определенной марки, соответствующей кислотности (рН) продуктов сгорания (различные марки стали отличаются добавками, которые и определяют их кислотоустойчивость).

Вход
Поиск по сайту
Ищем:
Календарь