Книга Баня, сауна. Строим своими руками, страница 25 – Иван Никитко

Авторы: А Б В Г Д Е Ж З И Й К Л М Н О П Р С Т У Ф Х Ч Ш Ы Э Ю Я
Книги: А Б В Г Д Е Ж З И Й К Л М Н О П Р С Т У Ф Х Ц Ч Ш Щ Ы Э Ю Я
Бесплатная онлайн библиотека LoveRead.in

Онлайн книга «Баня, сауна. Строим своими руками»

📃 Cтраница 25
Иллюстрация к книге — Баня, сауна. Строим своими руками [i_077.jpg]

Рис. 7.1. Варианты устройства полков (цифрами обозначена примерная ширина полков и ступеней, см)

Иллюстрация к книге — Баня, сауна. Строим своими руками [i_078.jpg]

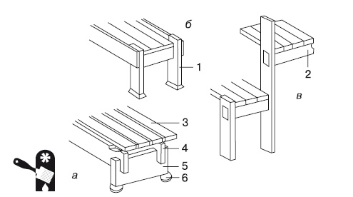
Рис. 7.2. Конструкция полка: а — лежак; б — скамья; в — полок; 1 — стойка; 2 — опорный брус; 3 — узкие доски; 4 — рама, к которой прибивают доски; 5 — опора; 6 — гидроизоляция (резина)


Теперь разберемся с размерами полков. Рекомендую вам примерно следующие: длина от 180 см, ширина от 40 до 80 см. Желательное расстояние между полками по высоте — от 35 до 50 см, от верхнего полка до потолка — от 110 см.

Большинство мастеров настаивает на том, чтобы полки делались откидными либо съемными, так вам будет намного легче следить за гигиеничностью парилки в процессе уборки. Но есть и прямо противоположное мнение: поскольку в процессе «поддачи пара» пустоты под полками не используются, а лишь увеличивают объем свободного воздуха («требуя» нагревать и его), лучше «закрывать» пространство под ними, как мы закрываем в квартире свободное пространство под ванной.

Внешний вид полков и их форма могут быть разными. Традиционное для русской парилки их устройство — в виде ступеней, причем верхняя значительно шире всех остальных. Она является своего рода лежанкой, на ней можно и сидеть, и лежать.

В некоторых парных на полки нужно подниматься по специально находящейся здесь для этой цели деревянной лестнице.

Еще вариант: комбинация из трех секций, две из которых вмонтированы в стену, а третья расположена на полу. Между нижним и средним полками установлены перила, оснащенные подставками под ноги. При этом расстояние между потолком и верхним полком должно быть не менее 110 см, иначе человеку будет неудобно сидеть. Если сделать расстояние еще большим, вы не сможете воспользоваться прелестями самого горячего воздуха, скапливающегося под потолком.

Нижний полок должен находиться на одном уровне с дверцей печи-каменки либо чуть выше ее.

Особо скажу о подставке под ноги. Они способны выдержать большую температуру, нежели все остальное тело. Подставка должна быть такой, чтобы на нее можно было положить ноги.

Помните, что полки нельзя красить, лакировать, а также чем-либо пропитывать, иначе они будут раздражать потную кожу. С такой же целью в древесине досок, из которых сооружены полки, утапливают гальванизированные шляпки гвоздей и шурупов.

Глава 8
Инженерные работы в бане: электро— и водоснабжение, вентиляция и канализация

Париться в бане при свечах и носить в нее воду на коромысле, конечно, весьма романтично, но не совсем удобно. Точнее, совсем неудобно. Поэтому, построив баню, необходимо озаботиться созданием инженерных сетей, в первую очередь монтажом электропроводки и проведением водопровода. Весьма важным моментом является также устройство вентиляции и канализации.

Особенности монтажа электропроводки

Готовясь к монтажу проводки, нужно четко уяснить, что бани и сауны, особенно деревянные, являются пожароопасными объектами. Кроме того, в таких помещениях создается агрессивная среда (высокая температура и влажность), тоже влияющая на эксплуатацию электропроводки.

Что в первую очередь нужно сделать в процессе подготовки к монтажу? Ответ прост: рассчитать мощность, которую будет нести эта сеть в бане или сауне. Это нужно знать, чтобы определить, какую нагрузку будут иметь ваши провода и, соответственно, какое сечение для них выбрать, чтобы они выдержали максимальный ток.

Если вы планируете использовать в бане только осветительные приборы, то хватит небольшой мощности (примерно 1–2 кВт). Если же хотите подключить дополнительные устройства, например фен, плойку, установить в предбаннике стиральную машину, то мощность нужно рассчитывать с запасом (около 5–6 кВт).

В последние годы, когда в индивидуальных саунах все чаще встречаются электропечи, то есть энергоемкое оборудование, мощность сети может возрасти до 10–20 кВт.

Теперь о том, как неспециалисту рассчитать, какая суммарная мощность будет использоваться. Это, в общем, несложно.

На каждом электрическом приборе указываются напряжение, которое он потребляет (220 или 380 В, в некоторых случаях — 12 и 24 В), и мощность электроприбора в киловаттах (кВт). Небольшие и средние печи (до 7 кВт) рассчитаны на напряжение 220 или 380 В, на однофазное или трехфазное подключение. Однофазное подключение на 220 В выполняется двухжильным (фазная жила и нуль) или трехжильным (фазная жила, нуль и земля) кабелем.

Чтобы рассчитать конечную нагрузку, к общей ранее определенной нагрузке нужно прибавить мощность печки.

Например, посчитаем нагрузку довольно простой сауны. Имеется четыре лампочки по 100 Вт (в итоге 400 Вт), стиральная машина — еще 2000 Вт, фен потребляет 200 Вт, обогреватель в комнате отдыха — 2000 Вт, средняя печь для сауны — 4000 Вт. Получаем 8600 Вт. На всякий случай прибавляем запас мощности 20 %, итого 8600 Вт × 1,2 = 10 320 Вт. Это и есть общая нагрузка.

Конечно же, для полноценной установки сети вам понадобятся защитные автоматы, рассчитанные на определенный ток. Как его узнать? Вспомним из школьного курса физики закон Ома и разделим нагрузку на напряжение, которое у нас составляет 220 В. Таким образом, получим следующее значение величины тока: 10 320 / 220 = 46,9 А.

Теперь можно выбрать сечение провода, который пойдет от основного электрощита к банному. Из него провода разветвляются: отдельные кабели идут в распределительные коробки в каждое из помещений бани, а оттуда — на печь, выключатели, розетки.

Посчитаем ток, который будет потреблять печь. Он составит 4000 Вт × 1,2 (запас) / 220 В = 22 А.

Исходя из этого значения, нужно выбирать сечение провода для печки, а также защитный автомат с большим значением номинального тока. Имеются приборы с номиналами 6, 10, 16, 25, 32 А.

Теперь о трехфазной печи. Проводка выполняется четырех— или пятижильным проводом (три фазы, нуль и защитный проводник), а нагрузка по проводам распределяется симметрично, то есть поровну.

Ток, полученный для однофазного варианта подключения, делим на 3 и, исходя из этого, выбираем сечение провода.

Если нагрузка печи составила 22 А, то сечение провода нужно будет выбирать из условия 22 / 3 = 7,5 А. Сечение проводника будет меньше, но количество жил в кабеле увеличится и составит 4 или 5.

Теперь можно рассчитать сечение проводов будущей электропроводки в квадратных миллиметрах. Если брать с небольшим, но достаточным запасом, оно составит 2 кВт на 1 мм2 сечения провода.

Иными словами, если потребляемая мощность достигает 10 кВт, то вам понадобится провод сечением 5 мм2.

Вход
Поиск по сайту
Ищем:
Календарь