Книга Баня, сауна. Строим своими руками, страница 22 – Иван Никитко

Авторы: А Б В Г Д Е Ж З И Й К Л М Н О П Р С Т У Ф Х Ч Ш Ы Э Ю Я
Книги: А Б В Г Д Е Ж З И Й К Л М Н О П Р С Т У Ф Х Ц Ч Ш Щ Ы Э Ю Я
Бесплатная онлайн библиотека LoveRead.in

Онлайн книга «Баня, сауна. Строим своими руками»

📃 Cтраница 22
Иллюстрация к книге — Баня, сауна. Строим своими руками [i_069.jpg]

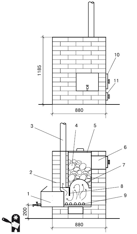
Рис. 6.15. Печь с закрытой каменкой и боковым размещением бака для воды: 1 — водогрейный бак; 2 — печь; 3 — дымовая труба; 4 — камни; 5 — крышка каменки; 6 — отверстие для подачи воды; 7 — металлический свод; 8 — экран; 9 — колосниковая решетка; 10 — дверка топки; 11 — дверка поддувала


Малогабаритная кирпичная печь-каменка с системой подогрева воды для семейной бани на 2–3 человека

Размер печи в плане 510:640 мм, вертикального вентиляционно-дымового канала 380:260 мм, высота 2030 мм при средней толщине швов 5 мм (рис. 6.16–6.18).

Кладка вентиляционно-дымового канала ведется совместно с кладкой печи с перевязкой швов. Устье вентиляционного канала располагается на уровне пола моечного отделения или ниже его, если уровень пола в предбаннике ниже уровня пола в моечном отделении. Вентиляционный канал перекрывается задвижкой № 4.

Иллюстрация к книге — Баня, сауна. Строим своими руками [i_070.jpg]

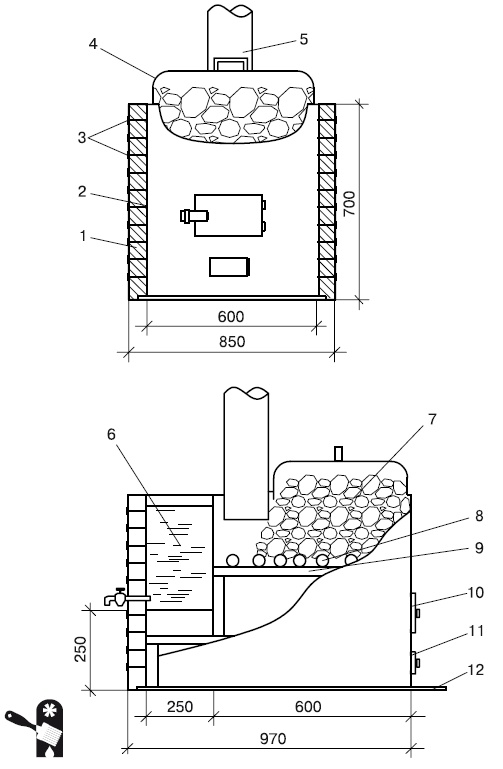
Рис. 6.16. Схема малогабаритной кирпичной печи-каменки с системой подогрева воды: 1 — задвижка № 1; 2 — задвижка № 2; 3 — гидроизоляция; 4 — вентиляционный канал; 5 — уровень пола; 6 — задвижка № 4; 7 — котел-змеевик; 8 — задвижка № 3; 9 — прочистная дверка; 10 — камера-каменка

Иллюстрация к книге — Баня, сауна. Строим своими руками [i_071.jpg]

Рис. 6.17. Кладка печи для бани из кирпича, 3–10-й ряды

Иллюстрация к книге — Баня, сауна. Строим своими руками [i_072.jpg]

Рис. 6.18. Кладка печи для бани из кирпича, 11–30-й ряды


Благодаря вертикальному вентиляционно-дымовому каналу есть возможность использования двух рабочих режимов и вентиляции моечного отделения.

Сперва открываются задвижки № 1 и № 3, дымовые газы с большим содержанием продуктов неполного сгорания уходят в дымовую трубу и далее в атмосферу. Горячий воздух заполняет камеру-каменку и прогревает камни, но циркуляции дымовых газов через камеру при закрытой задвижке № 2 не происходит.

Во втором режиме работы — при открытой задвижке № 2 и закрытой задвижке № 3 — раскаленные дымовые газы через отверстия в своде и слой камней будут проходить в тепловую камеру, а через нее — в дымовую трубу и далее в атмосферу.

Печь-каменка для русской бани с поддувалом

Стенка для направления горячих газов в нижнюю часть камеры расположена в самой печи (рис. 6.19). Чтобы поместить нужное количество топлива, высота топливника от дна котла должна составить не менее 50 см.

Иллюстрация к книге — Баня, сауна. Строим своими руками [i_073.jpg]

Рис. 6.19. Печь-каменка с поддувалом: 1 — дверь топки; 2 — котел; 3 — крышка котла; 4 — дымоходные каналы; 5 — дверки каменки; 6 — дверка поддувала; 7 — канал выхода горячих газов; 8 — камни и чугунные чушки


Между стенками печи и котлом должно остаться пространство 4–5 см, чтобы горячие газы омывали котел со всех сторон и вода нагревалась быстрее.

Печь для небольшой бани с открытой каменкой и водогрейным баком для воды

На рис. 6.20 показана печь с открытой каменкой, в которой расположен водогрейный бак емкостью 50–60 л. Такая печь хорошо подходит для небольшой семейной бани, когда в один день парится несколько человек, так как открытая каменка быстрее прогревает парилку. Чтобы постоянно поддерживать открытую каменку горячей, необходимо накрывать камни экранной крышкой (из оцинковки) после каждой подачи пара.

Корпус печи сварен из стального листа толщиной 5 мм. Дно бака для надежности надо сварить из утолщенной листовой стали.

Снаружи печь обложена красным кирпичом. Печь выложена в полкирпича с трех сторон, кроме лицевой. Кирпичная кладка фиксируется специальными проволочными скрепами диаметром 3 мм, которые приваривают по разметкам к корпусу печи. В средней зоне камни укладываются на решетку из арматурных прутков диаметром 28–30 мм, свободно лежащую на прочных опорных планках (швеллер, рельс и т. п.). Для ускорения нагрева воды в баке и камней на решетке бак и отверстие выхода пара закрываются крышкой и заслонкой из оцинкованной жести.

Дымовая труба в металлических печах изготавливается из жести толщиной 1–1,5 мм, нижний патрубок длиной 1,5 м, устанавливаемый в печь, желательно выполнить из водопроводной трубы диаметром 100–150 мм. На этом патрубке устраивается фланцевое соединение с заслонкой.

Иллюстрация к книге — Баня, сауна. Строим своими руками [i_074.jpg]

Рис. 6.20. Металлическая печь с открытой каменкой: 1 — кирпичная кладка; 2 — корпус печи; 3 — скрепы; 4 — крышка каменки; 5 — труба дымовая; 6 — бак для нагрева воды; 7 — камни; 8 — решетка; 9 — планка опорная; 10 — дверка топки; 11 — дверка поддувала; 12 — опорный лист


Для хорошей работы каменки большую роль играют правильно подобранные, качественные камни. Булыжники необходимо выбирать тяжелые, крепкие, без трещин, они должны иметь округлую форму, быть гладкими и различной величины (50–150 мм).

Укладку камней на решетку производят следующим образом: вниз кладут самые большие камни, чтобы они не закрывали полностью щели решетки, затем укладывают камни чуть меньшего размера, а наверху должны быть самые мелкие. Общий вес камней зависит от размеров парилки, в металлической печи для небольшой семейной бани масса камней равна 80–100 кг.

Достаточное количество камней аккумулирует много тепловой энергии, при этом верхние камни должны быть прогреты до 300–350 °C, тогда вода, выплескиваемая на камни, сразу испаряется в сухой горячий пар. На хорошо прогретых камнях вода должна моментально испаряться со своеобразным треском. Камни в небольших печах постоянного нагревания постепенно покрываются сажей, поэтому их надо периодически очищать — каждые 3–4 месяца. С течением времени камни покрываются трещинами, начинают крошиться и их заменяют через 2–3 года.

Для такой печи применяют обычно асбоцементную или металлическую дымовую трубу. Но есть и комбинированный вариант, в котором нижняя часть дымовой трубы — металлическая, а верхняя — из асбоцементной трубы (рис. 6.21).

Такая конструкция более предпочтительна, так как отсутствует непосредственный контакт асбоцементной трубы с печью и нет прямого воздействия на нее очень высокой температуры. Таким образом внезапное растрескивание асбоцементной трубы и все неприятные последствия ее разрушения (пожар, травмы, замена трубы и т. п.) можно исключить.

Вход
Поиск по сайту
Ищем:
Календарь