Книга Эмоциональный мозг, страница 36 – Павел Симонов

Авторы: А Б В Г Д Е Ж З И Й К Л М Н О П Р С Т У Ф Х Ч Ш Ы Э Ю Я
Книги: А Б В Г Д Е Ж З И Й К Л М Н О П Р С Т У Ф Х Ц Ч Ш Щ Ы Э Ю Я
Бесплатная онлайн библиотека LoveRead.in

Онлайн книга «Эмоциональный мозг»

📃 Cтраница 36
Иллюстрация к книге — Эмоциональный мозг [i_035.jpg]

Рис. 30. Схема последствий гиппокампэктомии

Абсцисса — сигналы; ордината — вероятность их подкрепления.


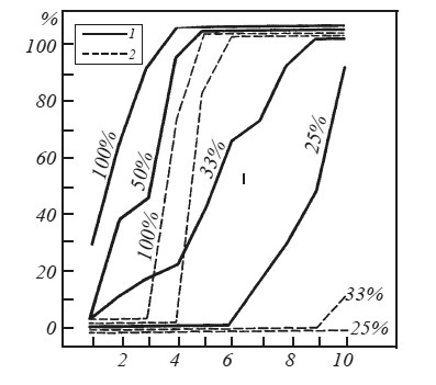
Подобное предположение нуждалось в прямой экспериментальной проверке. При выработке условных двигательных рефлексов у крыс с различной вероятностью их подкрепления пищей М. Л. Пигарева установила, что в отличие от контрольных животных гиппокампэктомированные крысы на протяжении 10 опытных дней не в состоянии выработать условные реакции при случайном подкреплении пищей только 33 или 25 % предъявлений условного раздражителя (рис. 31). Указания на особую чувствительность гиппокампэктомированных крыс к ситуациям с низкой вероятностью подкрепления можно найти в литературе [Kimble, Kimble, 1970; larrard, Becker, 1977]. Становится понятно, почему в опытах Стивенса [Stevens, 1973] гиппокампэктомированные крысы дифференцировали рукава лабиринта с подкреплением 70 и 30 % общего количества проб быстрее, чем интактные животные. Понятен и отмеченный многими авторами факт преимущественного участия гиппокампа в ранней стадии выработки условных рефлексов, когда мозг еще не накопил необходимой статистики и вероятность подкрепления условного сигнала остается проблематичной [Morrell, Barlow, Brazier, 1960]. По данным Сигал и Олдса [Segal, Olds, 1972], нейроны гиппокампа первыми вовлекаются в процесс интеграции возбуждений от условного (звук) и подкрепляющего (пища) раздражителей при выработке условного пищевого рефлекса.

Иллюстрация к книге — Эмоциональный мозг [i_036.jpg]

Рис. 31. Условные двигательные пищевые реакции интактных (1) и гиппокампэктомированных (2) крыс при различной вероятности подкрепления

Ордината — процент правильных реакций в опыте; абсцисса — дни опытов (по М. Л. Писаревой).


На протяжении длительного времени гиппокампу приписывали чуть ли не ведущую роль в генезе эмоциональных состояний. Предполагалось, что именно в гиппокампе, этом «сердце лимбической системы», интеграция соматических и вегетативных компонентов эмоции завершается возникновением субъективного переживания. Однако эти представления не подтверждаются фактами. Двустороннее повреждение гиппокампа у животных практически не сказывается на агрессивности, реакции избегания при болевом раздражении другой особи, половом и родительском поведении. У больных с двусторонним инсультом в гиппокампе сохраняются яркие отрицательные эмоции [Dejong, Itabashi, Olson, 1969]. Мы полагаем, что результаты опытов М. Л. Пигаревой и И. И. Вайнштейн позволяют ответить на вопрос о роли гиппокампа в генезе эмоционального напряжения.

Ранее было замечено, что выработка переключения оборонительного и пищевого условных рефлексов у интактных крыс сопровождается ярко выраженными вегетативными эффектами: мочеиспусканием, дефекацией, пиломоторными реакциями, учащением дыхания. У некоторых животных возникало невротическое состояние, изъязвления кожи; переключение разнородных условных рефлексов у таких животных выработать не удалось. У гиппокампэктомированных крыс эти вегетативные симптомы отсутствовали.

Для более объективного анализа изменений вегетативных функций в процессе выработки условнорефлекторного переключения на 5 гиппокампэктомированных и 4 интактных крысах была поставлена специальная серия опытов с регистрацией электрокардиограммы. В камере, разделенной перегородкой на два идентичных отделения, вырабатывали переключение разнородных (пищевого и оборонительного) условных рефлексов на один и тот же звуковой раздражитель. К выработке оборонительного условного рефлекса (двустороннего избегания) приступали после закрепления в течение 10–15 опытов пищевого условного рефлекса (открывание дверцы кормушки). Переключателем служил мелькающий свет, включаемый за 1 мин до первого предъявления звукового сигнала, сопровождавшегося болевым раздражением. Мелькающий свет действовал на протяжении всей «оборонительной» части опыта. В первой половине опыта 10 предъявлений звука (с интервалом 1–3 мин) подкрепляли пищей, после включения мелькающего света 10 предъявлений звукового раздражителя подкрепляли током (0,8–1,0 мА), подаваемым на проволочный пол, если крыса в течение 5 с не перебегала в соседнее отделение камеры.

Электрокардиограмму, двигательные реакции животного и отметки предъявляемых раздражителей регистрировали на самопишущем приборе. Для отведения электрокардиограммы за несколько дней до начала экспериментов всем крысам были вживлены специальные серебряные электроды, которые выводились в разрез, сделанный на бедре, и крепились к мышце. Подпаянная к электроду изолированная покрытием проволочка выводилась под кожей с помощью зонда к голове, где вместе с индифферентным электродом укреплялась на поверхности черепа.

В процессе выработки пищевого условного рефлекса общее поведение и условнорефлекторная деятельность интактных и оперированных крыс существенно не отличались. Частота сердечных сокращений у гнппокампэктомнрованных крыс, в среднем, была несколько ниже, чем у интактных, и составляла соответственно 345 и 385 ударов в минуту.

При введении оборонительного подкрепления у интактных крыс наряду с описанными выше вегетативными реакциями: интенсивной дефекацией во время предъявления звукового раздражителя и в межсигнальных интервалах, мочеиспусканием, пилоэрекцией, учащением дыхания значительно возрастала частота сердечных сокращений. На рис. 32 приводятся средние данные, отражающие динамику частоты сердечных сокращений при предъявлении раздражителей и при выполнении двигательных реакций. Видно, что предъявление звукового условного сигнала в первом опыте вызывает у интактных крыс снижение частоты сердечных сокращений, тогда как предъявление мелькающего света, как и осуществление пищевой двигательной реакции, возвращает этот показатель к исходному уровню. После болевого раздражения наблюдается сначала резкий подъем, а потом некоторое снижение частоты сердечных сокращений. Более наглядно эти данные представлены на рис. 33, где частота сердечных сокращений выражена в процентах по отношению к фону, принятому за 100 %. Видно, что резкое увеличение этого показателя происходит после электроболевого раздражения (через 2 и 10 с после выключения тока).

У гиппокампэктомированных крыс во время первого опыта по выработке переключения частота сердечных сокращений изменялась незначительно (рис. 32). В пищевой ситуации звуковой сигнал, также как у интактных крыс, вызывал снижение частоты сердечных сокращений. Выключение звука возвращало частоту сердечных сокращений к исходному уровню. Частота сердцебиений у оперированных крыс снижалась и при включении мелькающего света, а в момент действия тока и на протяжении первых 10 с после его выключения частота сердечных сокращений практически не изменялась. Таким образом, в первый день выработки переключения частота сердечных сокращений у гиппокампэктомированных крыс не отличалась от фона.

Во время второго опытного дня предъявление условного звукового раздражителя вызывало у интактных крыс не снижение, как в предыдущем опыте, а резкое увеличение частоты сердечных сокращений (см. рис. 32). После выключения звука она столь же резко падала до фонового уровня. Увеличение частоты сердечных сокращений наблюдалось и при предъявлении звука на фоне мелькающего света. Еще большее учащение происходило через 2 и 10 с после выключения болевого раздражения.

Вход
Поиск по сайту
Ищем:
Календарь