Онлайн книга «Кадр за кадром. От замысла к фильму»
|
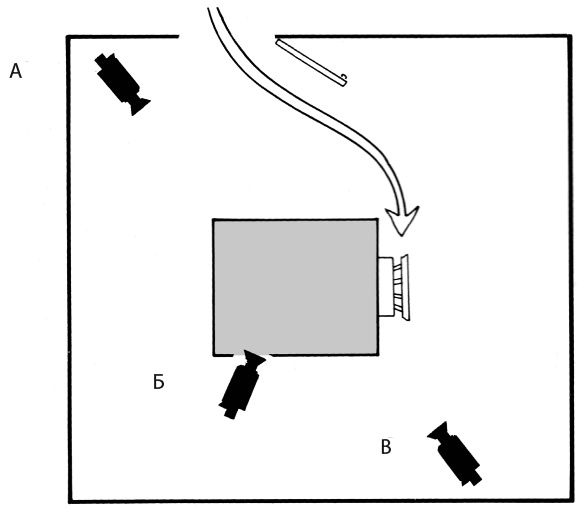
Организация пространства кадра Вне зависимости от того, какое кино вы снимаете, у пространства перед камерой есть границы, в пределах которых происходит действие сцены. Для того чтобы организовать пространство сцены, разделим область действия на три составляющие. Мы будем использовать традиционные понятия глубины из изобразительных искусств: передний план непосредственно перед объективом, средний план и задний — в отдалении от камеры. При постановке действия для камеры эти понятия приобретают особое значение. Проще говоря, круг драматургического действия любой сцены определяется размером и формой пространства, в котором это действие происходит. Внутри и вне действия На футбольном стадионе пространство четко разграничено. Игроки находятся на поле, фанаты — на трибунах. Допустим, что игра — это центр внимания, тогда существует только два способа наблюдать за ней — снаружи в качестве зрителя или изнутри, глазами игрока на поле. «Внутри» или «вне» действия — два основных способа, с помощью которых камера может фиксировать действие и пространство. Варьируется «форма» действия: парад, например, можно снять как длинную линию, которая приближается к камере. Она тянется вдаль сквозь передний, средний и задний план. Второй вариант — парадное шествие пересекает пространство горизонтально, как занавес, опущенный поперек нашего поля зрения. Если же мы находимся на детской площадке возле школы, игра в салочки выглядит гораздо более бесформенной, чем парад или футбольный матч: дети бегут врассыпную, исчезая за углами здания или позади нас. Обычно съемка внутри действия выглядит камерной в диалоговых сценах и хаотичной в экшн-сценах. Когда прибегают к субъективному плану, как это делал Альфред Хичкок, камеру часто размещают именно так. В этом случае велика вероятность, что понадобится несколько ракурсов съемки. Это подразумевает, что придется сделать полный оборот, чтобы увидеть все, что происходит внутри круга драматургического действия. Если же камера находится вне действия, она может охватить всю сцену единым общим планом. Глубинная мизансцена Рассмотрим круг драматургического действия с позиции размещения камеры. Вот сцена: мужчина идет от телефона-автомата к автомобилю. На рис. 13.1 показана локация. Персонаж снят в профиль. ![]() Рис. 13.1 Нат. Телефон-автомат — пригород Сперва давайте договоримся: мы не сможем смонтировать несколько ракурсов, действие нужно снять с помощью одного кадра. Вид сверху на рис. 13.2 показывает варианты расположения камеры внутри и вне круга драматургического действия. Величина круга задается пространством, которое актер преодолевает по пути к машине. Если он по какой-то причине сойдет с каменной дорожки, это пространство попадет в круг действия. ![]() Рис. 13.2 Круг (овал) обозначает основное пространство, преодолеваемое актером во время движения Камеры A, Б и В располагаются внутри действия. Чтобы снять, как актер идет от телефона до машины, камера должна панорамировать, пока не достигнет границ круга. Кроме того, мужчину будет видно либо лучше, либо хуже, в зависимости от того, направляется он к камере или от нее. У действия есть начало, середина и конец, как у полноценного сюжета. Когда камера находится внутри действия, это также влияет на зрительское восприятие. Съемка с позиций A, Б и В заставляет зрителя идентифицировать себя с коммивояжером. Кадры с позиций Г, Д и Е будут сняты в режиме отстраненного, более нейтрального наблюдения. Если режиссер использует подходящий широкоугольный объектив, то камера, находящаяся вне действия, с помощью небольшой панорамы (или без панорамирования вообще) может охватить все перемещения актера. Камера вне действия держит один статичный, ограниченный кадр перемещения мужчины, а камера внутри действия может совершить панораму на сто восемьдесят градусов, чтобы запечатлеть то же самое действие. К тому же, когда съемка ведется вне действия, на протяжении кадра размер актера почти не меняется; когда же камера находится внутри, изменения будут значительными. Когда в сцене занято несколько актеров, круг драматургического действия задается размещением персонажей. Если внутри схем A, I или L актеры неподвижны, он рисуется четко вокруг мизансцены. Назначение драматургического круга действия Как и мизансцены A, I и L, круг действия — это способ вычленить знакомые варианты в ситуации, когда нужно решить, как размещать камеру или персонажей. Режиссеру стоит проводить такой анализ, поскольку он позволяет найти новые решения сцены. Так режиссер получает возможность выстраивать сложную мизансцену. Чтобы понять, что такое круг действия, научитесь смотреть сцены из кинофильмов и телепередач в категориях пространства. Попробуйте визуализировать географию локации и размещение камеры в этом пространстве. Обращайте внимание, где располагается камера в каждой сцене, снятой в интерьере. Отмечайте, как каждая новая локация показана в начальных кадрах. Вскоре вы начнете понимать, как режиссер выстраивает конкретное пространство и как оно влияет на повествование. Например, оператор Гордон Уиллис часто располагает камеру глубоко внутри круга действия и позволяет актерам скользить вокруг нее, как если бы они были невольными свидетелями происходящего на экране. В результате получается мизансцена, в которой актер проходит в нескольких сантиметрах от объектива, на несколько секунд заслоняя собой задний план. Режиссер Джим Джармуш, напротив, предпочитает держать камеру на расстоянии от действия, часто прибегая к статичным отчетливым кадрам, напоминающим панели комиксов. Джармушу нравится оставаться вне круга действия на протяжении целых сцен. Изучив творчество таких режиссеров, как Бернардо Бертолуччи, Отто Преминджер, Дэвид Линч, Спайк Ли и Франсуа Трюффо, вы соберете коллекцию способов презентации пространства. Глубина интерьера Исследуя, как разные режиссеры создают мизансцены в комнатах, можно увидеть, что существуют три позиции для камеры: передний, средний или задний план. На рис. 13.3 изображен вид комнаты сверху. Одна камера располагается рядом с дверью, вторая — в центре комнаты, третья — у противоположной от двери стены. Если актер входит в комнату и садится за стол, выбор точки съемки определяется тем, подходит актер к камере (Б или В) или отдаляется от нее (A). Поскольку комната небольшая, все три точки съемки находятся внутри круга действия. ![]() Рис. 13.3 Показав зрителям локацию с помощью одной из трех базовых позиций камеры, мы переходим к размещению актеров. На рис. 13.4 изображены три схемы, каждая из которых представляет один из трех основных вариантов использования круга действия. Неважно, какую из мизансцен (A, I или L) мы выберем. В данной ситуации нас интересует, внутри или вне действия располагается камера. Например, у нас могла бы быть тесная A-схема, в которой актеры стоят рядом, или A-схема, где они находятся в разных концах комнаты. При использовании любой мизансцены камера может располагаться внутри или вне действия. |
![Иллюстрация к книге — Кадр за кадром. От замысла к фильму [i_196.jpg] Иллюстрация к книге — Кадр за кадром. От замысла к фильму [i_196.jpg]](img/book_covers/096/96077/i_196.jpg)
![Иллюстрация к книге — Кадр за кадром. От замысла к фильму [i_197.jpg] Иллюстрация к книге — Кадр за кадром. От замысла к фильму [i_197.jpg]](img/book_covers/096/96077/i_197.jpg)
![Иллюстрация к книге — Кадр за кадром. От замысла к фильму [i_198.jpg] Иллюстрация к книге — Кадр за кадром. От замысла к фильму [i_198.jpg]](img/book_covers/096/96077/i_198.jpg)