Книга Валерий Легасов: Высвечено Чернобылем, страница 54 – Валерий Легасов

Авторы: А Б В Г Д Е Ж З И Й К Л М Н О П Р С Т У Ф Х Ч Ш Ы Э Ю Я
Книги: А Б В Г Д Е Ж З И Й К Л М Н О П Р С Т У Ф Х Ц Ч Ш Щ Ы Э Ю Я
Бесплатная онлайн библиотека LoveRead.in

Онлайн книга «Валерий Легасов: Высвечено Чернобылем»

📃 Cтраница 54

ВТГР, высокотемпературный газоохлаждаемый (гелиевый) реактор – энергетический ядерный реактор, где в качестве теплоносителя применяется гелий. Применение гелия как теплоносителя позволяет получить на выходе из реактора высокие температуры – до 1 тыс. °С – при относительно низких для таких температур значениях давления. При использовании такого реактора на АЭС могут быть получены высокие значения коэффициента полезного действия. ВТГР перспективен в качестве источника высокопотенциального тепла в химических – в т. ч. металлургических – производствах. Ядерное топливо в современных проектах ВТГР оформлено в виде малоразмерных – менее 1 мм – капсул, инкорпорированных в тепловыделяющих элементах (ТВЭЛ), выполненных из графита и имеющих сферическую форму. Активная зона ВТГР представляет собой свободную засыпку шаровых ТВЭЛ в бетонном бункере (шахте). Объем активной зоны продувается потоком гелия, подаваемым вертикально снизу вверх. Структура и материальный состав активной зоны исключают возникновение аварий, связанных как с неуправляемым разгоном мощности, так и с ухудшением теплоотвода.

В настоящее время реакторы типа ВТГР существуют в единичных экземплярах в качестве опытных образцов.

Лит.: Гребенник В.Н., Кухаркин Н.Е., Пономарев-Степной Н.Н. Высокотемпературные газоохлаждаемые реакторы – инновационное направление развития атомной энергетики. М.: Энергоатомиздат, 2008.


Выбег (турбогенератора) – режим работы электрического генератора переменного тока, приводимого в действие паровой турбиной, когда подача пара на турбину прекращена, генератор отключен от внешней электрической сети, и вращение турбины вместе со связанным с ней генератором происходит по инерции. Частота вращения при этом непрерывно уменьшается вплоть до останова. Турбогенератор, работающий в режиме В., некоторыми специалистами рассматривался как источник электроснабжения собственных нужд энергоблока АЭС при аварийной потере внешнего электроснабжения, в т. ч. для организации расхолаживания. На энергоблоке № 4 ЧАЭС в ночь на 26 апреля 1986 года выполнялся электротехнический эксперимент с В. турбогенератора с нагрузкой собственных нужд. В записях Легасова про этот эксперимент неверно указано, что это был свободный В. Свободным В. турбогенератора является тогда, когда тот отключен не только от внешней энергосистемы, но и от потребителей на самой станции.


ГАЗОФАЗНЫЙ ЯДЕРНЫЙ РЕАКТОР – гипотетический ядерный реактор, в котором ядерное топливо находится в распыленном состоянии в газовой среде. Рассматривается как часть ядерного ракетного двигателя, ЯРД. Разработка таких реакторов находится на стадии научно-исследовательских и опытно-конструкторских работ.

Лит.: Кузнецов В. А. Ядерные реакторы космических энергетических установок. М.: Атомиздат, 1977; Паневин И.Г., Прищепа В.И.,Хазов В.Н. Космические ядерные ракетные двигатели. М.: Знание, 1978.


ГАММА-ИЗЛУЧЕНИЕ, гамма – лучи, гамма-кванты – вид электромагнитного излучения с высокой частотой и энергией. Вследствие высокой частоты в ГИ сильно выражены корпускулярные свойства, т. е. ГИ рассматривается как поток частиц, гамма-квантов (фотонов). Относится к ионизирующим излучениям. ГИ образуется при ядерных превращениях, в т. ч. при радиоактивном распаде. Практически все продукты ядерного деления, образующиеся при работе ядерного реактора, являются гамма-излучателями, поэтому дозиметры, предназначенные для контроля радиационной обстановки вокруг атомных станций, настроены на регистрацию ГИ. Обладает высокой проникающей способностью. Воздействие ГИ на живую ткань вызывает поражения различной степени тяжести (см. Лучевое поражение), но в то же время используется в ядерной медицине. Для защиты от ГИ применяются материалы с высокой плотностью – свинец, сталь, бетон.


Гамма-дефектоскопия – способ контроля качества металлических изделий, основанный на просвечивании металла направленным гамма-излучением. С одной стороны проверяемого изделия устанавливается источник гамма-излучения, с другой – регистрирующая фотопленка. После экспонирования и проявления фотопленки внутренние дефекты – раковины, трещины – отображаются как темные образования на светлом фоне. Широко применяется в ряде отраслей промышленности, в т. ч. в атомном машиностроении для контроля качества элементов ответственного оборудования.

ГАММА-ПОЛЕ – пространство (поверхность, объем), где наблюдается гамма – излучение. Характеризуется пространственным распределением плотности потока гамма-квантов или, что практически то же самое, распределением мощности экспозиционной дозы (см. Доза экспозиционная), традиционно измеряемой в микрорентгенах в час (мкР/ч). Примером описания ГП может служить план местности (план помещения), на который нанесены значения мощности экспозиционной дозы в различных местах.


ГОСПРИЕМКА – в СССР начиная с 1986 г. служба контроля качества промышленной продукции гражданского назначения на государственных предприятиях, независимая от администрации предприятий. Введение Г. представляло собой попытку применить в гражданских отраслях методы контроля качества на предприятиях военно-промышленного комплекса. В целом себя не оправдала, после 1989 г. была свернута.


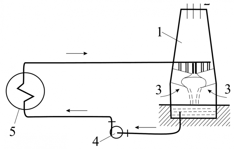
ГРАДИРНЯ – сооружение в составе обортной системы технического водоснабжения на тепловых и атомных электростанциях. Наиболее распространенным типом Г. является испарительная башенная Г. В состав такой Г. входят вытяжная башня с водораспределительным устройством и водосборный бассейн, расположенный в основании башни. Вода из бассейна отбирается циркуляционными насосами и по водоводам подается к охлаждаемому оборудованию. На ТЭС и АЭС наиболее значительными источниками тепла и потребителями охлаждающей воды являются конденсаторы паровых турбин. Нагретая вода обратным ходом подается на водораспределительное устройство, представляющее собой сеть труб малого диаметра, расположенных на некоторой высоте внутри башни. Из водораспределительного устройства вода проливается вниз каплями и струями. Падая с высоты, она охлаждается за счет контакта с воздухом, частично испаряясь. Охлажденная вода попадает в водосборный бассейн, откуда вновь подается на охлаждаемые устройства. Воздух, нагревшись при контакте с водой, движется вверх и выбрасывается через верхний срез башни. Вместе с теплым воздухом уходит пар, образовавшийся при охлаждении воды. Потери воды с испарением и капельным уносом возмещаются подпиткой водосборного бассейна от внешнего источника (реки, озера). Свежий (холодный) – воздух поступает в башню через входные окна.

Иллюстрация к книге — Валерий Легасов: Высвечено Чернобылем [i_035.jpg]

Схема действия испарительной башенной градирни. 1. Вытяжная башня 2. Выход нагретого воздуха и пара 3. Вход охлаждающего воздуха. 3. Слив воды с водораспределительного устройства 4. Циркуляционные насосы. 5. Конденсатор турбины.


ГРАЖДАНСКАЯ ОБОРОНА, ГО – система мероприятий по подготовке к защите и по защите населения, материальных и культурных ценностей на территории Российской Федерации от опасностей, возникающих при военных конфликтах или вследствие этих конфликтов, а также при чрезвычайных ситуациях природного и техногенного характера [83]. В СССР ГО как государственный институт была образована в 1932 г. В число мероприятий ГО входит сооружение и содержание убежищ, планирование и проведение аварийно-спасательных работ, эвакуации населения из пораженных местностей, содержание техники, подготовка технического и медицинского персонала и т. п.

Вход
Поиск по сайту
Ищем:
Календарь