Книга Про тайгу и про охоту. Воспоминания, рекомендации, извлечения, страница 32 – Дмитрий Житенёв

Авторы: А Б В Г Д Е Ж З И Й К Л М Н О П Р С Т У Ф Х Ч Ш Ы Э Ю Я
Книги: А Б В Г Д Е Ж З И Й К Л М Н О П Р С Т У Ф Х Ц Ч Ш Щ Ы Э Ю Я
Бесплатная онлайн библиотека LoveRead.in

Онлайн книга «Про тайгу и про охоту. Воспоминания, рекомендации, извлечения»

📃 Cтраница 32

Мне очень повезло с конём. Дело в том, что для верховой езды по горам подходит далеко не всякий. Кстати, алтайцы никогда не говорят «лошадь» – только «конь». Помимо того, что он должен быть выносливым и неприхотливым, он «не имеет права» пугаться и шарахаться. Конь должен быть послушным, легко идти на зов и давать седлать себя без проблем. Однако, самое главное, на мой взгляд, езда на нём должна быть неутомительна, особенно для начинающего. Когда я первый раз взобрался в седло и конь (не Чалка!) пошёл рысью, мне стало ясно, что долго я такой езды не выдержу. Ход у того коня был настолько тряским, что на каждом шагу мои лёгкие и сердце словно отрывались от тех мест, к которым прикреплены, и проваливались в живот! Однако других коней не было, и я терпел эту муку два дня. На третий меня пересадили на Чалого, и тогда я понял, что такое настоящая езда. Этот удивительный аллюр, когда ты сидишь на коне, словно в мягком кресле, называют пе́реступью. Много лет спустя я нашёл описание такого аллюра в «Записках охотника Восточной Сибири» А. А. Черкасова в главе «Промышлёный конь».

Мой Чалка словно семенил, но не мелкими, а обычными и даже крупными шагами. Происходило это настолько быстро, что тело моё не успевало подняться над седлом. «Седалище» совершенно не отрывалось от него. Потом мне приходилось ездить на настоящем иноходце. Разница, конечно, есть. Иноходец идёт гораздо быстрее коня не только с обычной рысью, но и с переступью и обгоняет его, если даже тот переходит на галоп. Шаг иноходца становится только шире и чаще, но практически он никогда не сбивается на скачки́.

Всадник поэтому всегда в одном положении. Ему не надо вставать на стременах, когда конь переходит на рысь или на галоп. Правда, алтайские кони обладают ещё одним аллюром (вероятно, не только алтайские), который в шутку там называют «трухнёй». Это нечто среднее между обычным шагом и рысью – рысца. Однако усидеть на таком коне может только настоящий алтаец, да и то в седле кустарной алтайской работы.

Иллюстрация к книге — Про тайгу и про охоту. Воспоминания, рекомендации, извлечения [image66_56e998aef5aecf050011e04a_jpg.jpg]

А. Кавалерийское строевое седло: а – седельная покрышка; б – полка (ле́нчик); в – потниковая крыша; г – левое крыло; д – передняя и задняя подпруги; е – пу́тлище со стременами. Б. Алтайское седло: а – деревя́га; б – полка (ле́нчик) с торока́ми (вя́зками); в – седельная подушка; г – киди́м (потниковая крыша); д – стремя.

Седло, узда, камча

Такое седло делается из дерева и состоит из нескольких деталей, соединённых между собой сыромятными ремнями и ремешками или деревянными же гвоздями, нагелями. Детали такие же, как и у кавалерийского седла, только само сиденье плоское, а задняя лука низкая. Передняя же, наоборот, высокая. Она помогает удержаться в седле на крутых спусках. Зимой поверх подушки седла иногда под себя кладут, чтобы не мёрзло это самое место, шкурку гагары (кокый кас – в дословном переводе означает «плачущий гусь»). Надо сказать – очень точное определение гагары. Русские переделали его на свой лад – кукувас. Шкурка эта совершенно не снашивается и отлично держит тепло.

Такие же практически сёдла были в ходу у охотников Забайкалья, о чём пишет уже упомянутый мной А. А. Черкасов. «Кстати будет упомянуть здесь и о наших сёдлах, далеко превосходящих удобством и щеголеватостью отделки простые русские сёдла. В сибирском седле (так же, как и в алтайском. – Д.Ж.) главную роль играет деревяга; лучшие из них – это монгольского приготовления, вывозимые из Китая, которые и ценятся здесь довольно дорого, именно до 20 и до 30 руб. серебр. Хорошие сибирские сёдла очень удобны, на них можно ездить очень долго без всякой устали, они покойны и до такой степени ловки, что, несмотря на худые гористые дороги, на них можно ездить сколько угодно, не попортив спины коня, то есть не ссаднив её. Деревяги для мягкости сидения здесь обтягивают по большей части войлоком, а сверху кожей; мягкие же пуховые подушки накладываются редко. Для того, чтобы не испортить спины коня в то время, когда привязывают сзади что-нибудь твёрдое, в торока, делается так называемый здесь чепрак из кожи и прикрепляется посредством ремешков с пряжками к задней луке седла. То же, что в России называют чепраком, здесь величают кычымом (по-алтайски – кидим – Д.Ж.). Настоящие монгольские кычымы делаются из свиной или кабаньей кожи, они прочны и не боятся мокроты. На некоторых монгольских сёдлах обе луки и кычымы для щегольства украшаются медными и даже серебряными бляшками». Алтайские сёдла украшаются также орнаментами, вырезанными из кожи, и резными фигурками, причём преобладают различного рода фигурки зверей и птиц, иногда сплетённые в удивительно красивые композиции.

Надо сказать, что алтаец почти никогда не спешивается за всю поездку – от пункта выезда до пункта назначения, какой бы сложной ни была тропа. Бронзовые или кованые стремена у алтайского седла иногда подтянуты очень высоко, и всадник сидит на широком сиденье, сильно согнув в коленях ноги, поэтому они совсем не устают. Конь неспешной трухнёй проходит до сотни километров в день, а то и больше, а всадник может спешиться только по нужде, да и то не всегда. На то он и настоящий алтаец!

В конце 20-х годов прошлого столетия археологической экспедицией под руководством С. И. Руденко было раскопано несколько древних курганов – захоронений знатных алтайских вождей в долине реки Большой Улаган близ посёлка Балыктыюл. Эти, так называемые Пазырыкские, курганы датируются VI – V веками до нашей эры. Мне неоднократно приходилось проезжать мимо них. Ещё в древности они были разграблены (как, впрочем, и большинство египетских пирамид), но сохранившиеся в вечной горной мерзлоте вещи уникальны и свидетельствуют о высокой культуре древних алтайцев. В частности доказано было, что сёдлами, настоящими сёдлами, они пользовались ещё в VII веке до нашей эры, когда в странах передовой культуры того времени (Греция, Малая Азия) седла не знали в течение многих веков и пользовались при верховой езде простой мягкой подстилкой.

Какой бы ни был послушный конь, в поездке его обязательно надо взнуздать, вставить удила в рот, иначе в критический момент с ним сложно будет справиться. Чтобы это сделать, не стоит, как поступают неопытные, пытаться всунуть удила спереди, со стороны крепко сжатых резцов. Надо просто сложить удила вдвое и вставить в угол рта, где у коня пустое от зубов место на челюсти. Любой конь тут же приоткроет рот.

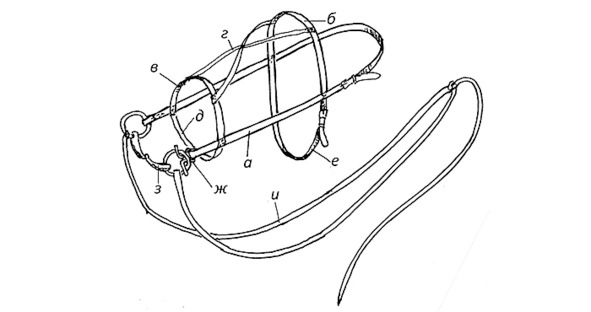
Иллюстрация к книге — Про тайгу и про охоту. Воспоминания, рекомендации, извлечения [image67_5c7411d1b569b007006020af_jpg.jpg]

Узда. Все обозначения – в тексте.


В русском языке все части узды называются по-особому. В Толковом словаре В. И. Даля мы находим эти названия. Они очень точны. «Узда… состоит из ремней:

Вход
Поиск по сайту
Ищем:
Календарь