Книга Королевство крестоносцев, страница 107 – Джошуа Правер

Авторы: А Б В Г Д Е Ж З И Й К Л М Н О П Р С Т У Ф Х Ч Ш Ы Э Ю Я
Книги: А Б В Г Д Е Ж З И Й К Л М Н О П Р С Т У Ф Х Ц Ч Ш Щ Ы Э Ю Я
Бесплатная онлайн библиотека LoveRead.in

Онлайн книга «Королевство крестоносцев»

📃 Cтраница 107

Прекрасный пример церкви XII в., построенной в романском стиле, одной из самых совершенных – храм Святой Анны в женском бенедиктинском монастыре в Иерусалиме. Западный фасад представляет собой трехэтажную прямоугольную стену с немного наклонной, почти плоской крышей, фланкированную с севера и юга двухэтажными пристройками. Центральная часть фасада, за которой находится основной неф, отделена от стен боковых приделов слегка выступающим контрфорсом, доходящим до второго этажа. Фасад с порталом отличает великолепная каменная кладка. Три выдвинутых вперед столпа оформляют вход, над ними поднимаются изящные арки из клинчатого кирпича. Выступающие арки портала не имеют украшений, и только внешняя поверхность свода украшена ромбовидным орнаментом. На тимпане имеется надпись, которая говорит о том, что эта церковь была при Салах ад-Дине превращена в медресе.

Входя в святой город через главные западные ворота – Врата Давида (в наши дни Яффские ворота), средневековый пилигрим оставлял справа от себя цитадель с примыкавшим к ней королевским дворцом. Резко повернув налево, он оказывался в патриаршем квартале с его большой базиликой – храмом Гроба Господня, самой почитаемой святыней христианства. Сегодня от человека потребуется вся сила его воображения, чтобы представить первоначальное великолепие кафедрального собора, одного из величайших архитектурных сооружений середины XII в. Полуразрушенный внутренний двор перед главным порталом; уродливое нагромождение лепящихся вокруг построек; фрагментарный ремонт из неподходящего материала, выдающий работу непрофессионала; барочные «улучшения» XIX в. на замечательных романских апсидах; стальные стяжки для предотвращения обрушения здания – так выглядит храм, имевший в прошлом величественный вид.

Во время завоевания Святой земли крестоносцами поблизости от храма Гроба Господня существовали две византийские церкви, ремонтировавшиеся несколько раз при правлении мусульман (последний раз после их разрушения фатимидским правителем Египта эль-Хакимом в 1100 г.). Это церкви Распятия и Воскресения Господня. Вблизи была Голгофа, церковь Святой Елены и пещерный храм Обретения Креста Господня. Смелый план архитектора-мастера объединил все эти здания в единую святыню. Под одной крышей оказались памятники, которые воздвигли, чтобы почтить память о Распятии, Погребении и Воскресении Христа. К тому же была необходима резиденция для иерусалимского патриарха и духовенства, которые после реформы 1114 г. стали членами капитула ордена августинцев. Мы не знаем ни имени архитектора, ни когда был заложен краеугольный камень. Предполагается, что план был уже готов к 1130 г., а весь комплекс был завершен 15 июля 1 149 г.; в этот день базилика была освящена в пятидесятую годовщину завоевания города.

С художественной точки зрения наиболее важной постройкой была новая базилика Гроба Господня, хотя не были лишены архитектурных достоинств кельи, трапезная, зал капитула и дормиторий каноников-августинцев. Новая базилика, возведенная к середине XII в., была современницей храмов Шартра и Везле во Франции. Несмотря на отсутствие внутреннего единства, она занимает достойное место. Прежде всего это был монумент в самой колыбели христианской веры, который свидетельствовал о трудном пути христианства. Еврейская гробница в скале, остатки великолепной базилики Константина, ценные поздневизантийские мозаики, порталы, нефы и скульптуры – все это свидетельства истории, запечатленные в камне. Сама реализация такой постройки была вызовом. Она объединила планы, составленные в Константинополе в IV и VII вв., и планы европейских архитекторов, которые реализовали местные зодчие, каменщики и резчики. С самого начала смешение стилей помешало сохранить некое художественное единство на стадиях планирования и выполнения. Однако попытка была сделана, хотя результаты были не столь впечатляющими.

Иллюстрация к книге — Королевство крестоносцев [i_010.jpg]

Интерьер храма Гроба Господня (гравюра)

Иллюстрация к книге — Королевство крестоносцев [i_011.jpg]

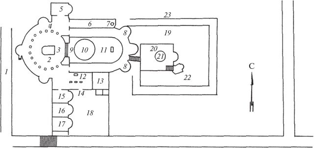
План храма Гроба Господня

1 – Патриаршая улица; 2 – придел Воскресения (Анастасис); 3 – Гроб Господень; 4 – обходная галерея; 5 – придел Богородицы; 6 – внешний проход; 7 – «Темница Христа»; 8 – апсиды кафоликона; 9 – арка между приделом Воскресения и кафоликоном; 10 – купол над кафоликоном; 11 – кафоликон; 12 – Камень Помазания; 13 – Голгофа; 14 – большие южные двери; 15 – придел Св. Иоанна Богослова; 16 – придел Троицы; 17 – придел Св. Иакова; 18 – внутренний двор; 19 – монастырь; 20 – подземная церковь Св. Елены; 21 – купол над церковью; 22 – подземная церковь Обретения Креста; 23 – приорат (руины)


Приезжий с Запада, ступивший на камни Улицы Паломников, вполне мог удивиться тому, что главный вход в святилище находился не на западной его стороне напротив главного алтаря, как это было принято в соборах Европы, а на южной. Вход вел через аркаду, покоившуюся на пяти византийских колоннах. Пройдя через внутренний двор (атриум), посетитель оказывался перед двойным порталом святилища. Справа отдельный вход вел на паперть придела Голгофы. Слева возвышалась высокая и квадратная в плане колокольня с куполом. Над Гробом Господним и византийским приделом Воскресения Господня поднималась странная крыша в форме усеченного конуса. Восточнее виднелся купол, перекрывавший новый кафоликон крестоносцев, а поодаль – небольшой купол над приделом Святой Елены.

В западной части храма располагалась византийская ротонда. На цокольном этаже 18 колонн, которые поддерживали галерею второго этажа, образовывали круг. В центре его находилась небольшая Кувуклия с низким входом, ведшим к самой каменной Гробнице, покрытой мраморной плитой. За круговой аркадой шла обходная галерея с тремя радиальными проходами на запад, север и юг.

Для того чтобы объединить древнюю церковь Воскресения Христова с новыми постройками, крестоносцам пришлось разрушить изящную круговую аркаду. Они разобрали восточную апсиду и построили на ее месте триумфальную арку, которая вела в новое здание церкви. Внутренняя круговая часть ротонды теперь открывалась на восток в главный прямоугольный неф, а северная и южная части обходной галереи превратились в боковые приделы по обе его стороны.

От этого места и далее на восток святилище превратилось в романскую церковь. Неф и боковые приделы пересек трансепт, не выходивший за стены церкви, и на месте их пересечения был возведен купол. Здесь находился знаменитый «Пуп земли» (Omphalos), отмеченный на замощенном полу крестом, согласно богословским представлениям Средневековья. Северный рукав трансепта заканчивался стеной, которую поддерживали огромные столбы с встроенными в них полуколоннами, в то время как южный, более длинный, проходя через большой портал храма, выводил на двор. Неф, который вел на восток, заканчивался полукругом главного алтаря. Боковые приделы образовали новую обходную галерею с тремя радиально расположенными часовнями.

Вход
Поиск по сайту
Ищем:
Календарь