Онлайн книга «Фейнмановские лекции по физике. Современная наука о природе»
|
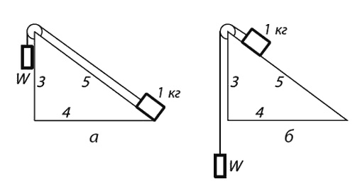
Вывод: каждая обратимая машина, как бы она ни действовала, опуская 1 кг на 1 м, всегда подымает 3 кг на одну и ту же высоту X. Ясно, что мы доказали очень полезный всеобщий закон. Но возникает вопрос: чему равно X? Пусть у нас есть обратимая машина, способная поднимать 3 кг за счет 1 кг на высоту X. Поместим три шара на стеллаж (как на фиг. 4.2). ![]() Фиг. 4.2. Обратимая машина. а – начальное положение; б – загрузка шаров; в – 1 кг поднимает 3 кг на высоту X; г – разгрузка шаров; д – восстановление; е – конечное положение. Четвертый лежит на подставке в одном метре от пола. Машина может поднять три шара, опустив один шар на 1 м. Устроим подвижную платформу с тремя полками высотой X, и пусть высота полок стеллажа тоже будет X (фиг. 4.2, а). Перекатим сперва шары со стеллажа на полки платформы (фиг. 4.2, б); предположим, что для этого энергии не понадобится, потому что полки и стеллаж находятся на одной высоте. Затем включим обратимую машину: она скатит одиночный шар на пол и подымет платформу на высоту X (фиг. 4.2, в). Но мы сконструировали платформу столь остроумно, что шары опять оказались в точности на уровне полок стеллажа. Разгрузим же шары с платформы на стеллаж (фиг. 4.2, г). После разгрузки машина вернется в первоначальное положение. Теперь уже три шара лежат на трех верхних полках стеллажа, а четвертый шар – на полу. Но смотрите, какая странная вещь: по существу два шара мы не поднимали вовсе, ведь на полках 2 и 3 шары как лежали вначале, так лежат и теперь. В итоге поднялся только один шар, но зато на высоту 3Х. Если бы высота 3Х оказалась больше 1 м, то можно было бы опустить шар, чтобы вернуть машину к начальным условиям (фиг. 4.2, е) и начать работу сначала. Значит, высота 3Х не может быть больше 1 м, ибо начнется вечное движение. Точно так же можно доказать, что 1 м не может быть больше 3Х: машина обратима, пустим ее назад и докажем. Итак, 3Х ни больше ни меньше 1 м. Мы открыли при помощи одних только рассуждений закон: Х = 1/3 м. Обобщить его легко; 1 кг падает при работе обратимой машины с некоторой высоты; тогда машина способна поднять р кг на 1/р высоты. Если, другими словами, 3 кг умножить на высоту их подъема (X), то это равно 1 кг, умноженному на высоту его падения (1 м). Помножив все грузы в машине на высоту, на которой они лежат, дайте машине поработать и опять помножьте все веса на их высоты подъема; в итоге должно выйти то же самое. (Мы перешли от случая, когда двигался только один груз, к случаю, когда за счет опускания одного груза поднимается несколько грузов. Но это, надеюсь, понятно?) Назовем сумму весов, умноженных на высоту, потенциальной энергией тяготения, т. е. энергией, которой обладает тело вследствие своего положения в пространстве по отношению к земле. Формула для энергии тяготения, пока тело не слишком далеко от земли (вес при подъеме ослабляется), такова: ![]() Не правда ли, очень красивое рассуждение? Вопрос только в том, справедливо ли оно. (Ведь, в конце концов, природа не обязана следовать нашим рассуждениям.) Например, не исключено, что в действительности вечное движение возможно. Или другие предположения ошибочны. Или мы просмотрели что-то в своих рассуждениях. Поэтому их непременно нужно проверить. И вот – справедливость их подтверждает опыт. Потенциальная энергия – это общее название для энергии, связанной с расположением по отношению к чему-либо. В данном частном случае это – потенциальная энергия тяготения. Если же производится работа против электрических сил, а не сил тяготения, если мы «поднимаем» заряды «над» другими зарядами с помощью многочисленных рычагов, тогда запас энергии именуется электрической потенциальной энергией. Общий принцип состоит в том, что изменения энергии равны силе, умноженной на то расстояние, на котором она действует: ![]() По мере чтения курса мы еще не раз будем возвращаться к другим видам потенциальной энергии. Принцип сохранения энергии во многих обстоятельствах оказывается очень полезен при предсказании того, что может произойти. В средней школе мы учили немало правил о блоках и рычагах. Мы можем теперь убедиться, что все эти «законы» сводятся к одному, и нет нужды запоминать 75 правил. Вот вам простой пример: наклонная плоскость. Пусть это треугольник со сторонами 3, 4, 5 (фиг. 4.3). Подвесим к блочку груз весом 1 кг и положим его на плоскость, а с другой стороны подвесим груз W. ![]() Фиг. 4.3. Наклонная плоскость. Мы хотим знать, какова должна быть тяжесть W, чтобы уравновесить груз 1 кг. Рассуждаем так. Если грузы W и 1 кг уравновешены, то это – обратимое состояние, и веревку можно двигать вверх-вниз. Пусть же вначале (фиг. 4.3, а) 1 кг находится внизу плоскости, а груз W – наверху. Когда W соскользнет вниз, груз 1 кг окажется наверху, a W опустится на длину склона (фиг. 4.3, б), т. е. на 5 м. Но ведь мы подняли 1 кг только на высоту 3 м, хотя опустили W на 5 м. Значит, W = 3/5 кг. Заметьте, что этот ловкий вывод получен не из разложения сил, а из сохранения энергии. Ловкость, впрочем, относительна. Существует другой вывод, куда красивее. Он придуман Стевином и даже высечен на его надгробии. Фиг. 4.4 объясняет, почему должно получиться 3/5 кг: цепь не вращается и нижняя ее часть уравновешена сама собой, значит сила тяги пяти звеньев с одной стороны должна уравнять силу тяги трех звеньев с другой (по длине сторон). ![]() Фиг. 4.4. Это выгравировано на надгробии Стевина. Глядя на диаграмму, становится очевидно, что W = 3/5 кг. (Неплохо было бы, если бы когда-нибудь что-нибудь подобное высекли и на вашем надгробном камне.) |
![Иллюстрация к книге — Фейнмановские лекции по физике. Современная наука о природе [i_019.jpg] Иллюстрация к книге — Фейнмановские лекции по физике. Современная наука о природе [i_019.jpg]](img/book_covers/087/87290/i_019.jpg)
![Иллюстрация к книге — Фейнмановские лекции по физике. Современная наука о природе [i_020.jpg] Иллюстрация к книге — Фейнмановские лекции по физике. Современная наука о природе [i_020.jpg]](img/book_covers/087/87290/i_020.jpg)
![Иллюстрация к книге — Фейнмановские лекции по физике. Современная наука о природе [i_021.jpg] Иллюстрация к книге — Фейнмановские лекции по физике. Современная наука о природе [i_021.jpg]](img/book_covers/087/87290/i_021.jpg)
![Иллюстрация к книге — Фейнмановские лекции по физике. Современная наука о природе [i_022.jpg] Иллюстрация к книге — Фейнмановские лекции по физике. Современная наука о природе [i_022.jpg]](img/book_covers/087/87290/i_022.jpg)
![Иллюстрация к книге — Фейнмановские лекции по физике. Современная наука о природе [i_023.jpg] Иллюстрация к книге — Фейнмановские лекции по физике. Современная наука о природе [i_023.jpg]](img/book_covers/087/87290/i_023.jpg)